新浪财经

江苏阳光:2023年亏损1.00亿元

中证网

关注

中证智能财讯 江苏阳光(600220)4月30日披露2023年年报。2023年,公司实现营业总收入17.17亿元,同比下降13.86%;归母净利润亏损1.00亿元,上年同期盈利1.17亿元;扣非净利润亏损8539.09万元,上年同期盈利1.06亿元;经营活动产生的现金流量净额为5.27亿元,上年同期为-1.15亿元;报告期内,江苏阳光基本每股收益为-0.0561元,加权平均净资产收益率为-4.87%。

以4月29日收盘价计算,江苏阳光目前市盈率(TTM)约为-27.26倍,市净率(LF)约为1.39倍,市销率(TTM)约为1.59倍。

公司近年市盈率(TTM)、市净率(LF)、市销率(TTM)历史分位图如下所示:

数据统计显示,江苏阳光近三年营业总收入复合增长率为-4.52%,在其他纺织行业已披露2023年数据的19家公司中排名第12。近三年净利润复合年增长率为-284.58%,排名18/19。

资料显示,公司主要从事呢绒面料和电汽的生产和销售。报告期内公司的主要业务、主要产品、经营模式等均未发生重大变化。

分产品来看,2023年公司主营业务中,面料收入14.10亿元,同比下降17.61%,占营业收入的82.09%;电汽收入1.94亿元,同比下降2.71%,占营业收入的11.30%。

截至2023年末,公司员工总数为4469人,人均创收38.42万元,人均创利-2.24万元,人均薪酬8.16万元,较上年同期分别下降2.39%、196.71%、4.73%。

2023年,公司毛利率为23.57%,同比下降3.97个百分点;净利率为-5.58%,较上年同期下降11.36个百分点。从单季度指标来看,2023年第四季度公司毛利率为23.49%,同比下降7.44个百分点,环比下降0.77个百分点;净利率为-30.77%,较上年同期下降34.08个百分点,较上一季度下降35.73个百分点。

分产品看,面料、电汽2023年毛利率分别为24.00%、4.33%。

报告期内,公司前五大客户合计销售金额8.41亿元,占总销售金额比例为48.99%,公司前五名供应商合计采购金额4.15亿元,占年度采购总额比例为46.40%。

数据显示,2023年公司加权平均净资产收益率为-4.87%,较上年同期下降10.42个百分点;公司2023年投入资本回报率为-0.01%,较上年同期下降4.32个百分点。

2023年,公司经营活动现金流净额为5.27亿元,同比增加6.42亿元;筹资活动现金流净额-3.02亿元,同比增加1947.45万元;投资活动现金流净额-3.39亿元,上年同期为-2.15亿元。

进一步统计发现,2023年公司自由现金流为1.87亿元,上年同期为-3.37亿元。

2023年,公司营业收入现金比为118.03%,净现比为-526.69%。

营运能力方面,2023年,公司公司总资产周转率为0.39次,上年同期为0.42次(2022年行业平均值为0.67次,公司位居同行业14/19);固定资产周转率为1.27次,上年同期为1.44次(2022年行业平均值为3.21次,公司位居同行业14/19);公司应收账款周转率、存货周转率分别为1.68次、1.54次。

2023年,公司期间费用为3.12亿元,同比减少168.84万元;但期间费用率为18.16%,同比增长2.43个百分点。其中,销售费用同比下降2.62%,管理费用同比下降0.34%,研发费用同比增长1.66%,财务费用同比下降0.45%。

资产重大变化方面,截至2023年年末,公司存货较上年末减少31.96%,占公司总资产比重下降4.39个百分点;其他应收款(含利息和股利)较上年末增加324.34%,占公司总资产比重上升3.19个百分点;固定资产较上年末减少6.10%,占公司总资产比重上升2.84个百分点;货币资金较上年末减少58.46%,占公司总资产比重下降1.99个百分点。

负债重大变化方面,截至2023年年末,公司短期借款较上年末减少10.76%,占公司总资产比重上升1.48个百分点;应付账款较上年末减少38.76%,占公司总资产比重下降2.26个百分点;预计负债较上年末增加100.00%,占公司总资产比重上升0.57个百分点;应交税费较上年末减少50.82%,占公司总资产比重下降0.32个百分点。

从存货变动来看,截至2023年年末,公司存货账面价值为6.91亿元,占净资产的35.14%,较上年末减少3.25亿元。其中,存货跌价准备为4956.42万元,计提比例为6.69%。

2023年全年,公司研发投入金额为1273.14万元,同比增长1.66%;研发投入占营业收入比例为0.74%,相比上年同期上升0.11个百分点。此外,公司全年研发投入资本化率为0。

在偿债能力方面,公司2023年年末资产负债率为48.96%,相比上年末下降0.25个百分点;有息资产负债率为37.87%,相比上年末上升1.84个百分点。

2023年,公司流动比率为1.02,速动比率为0.65。

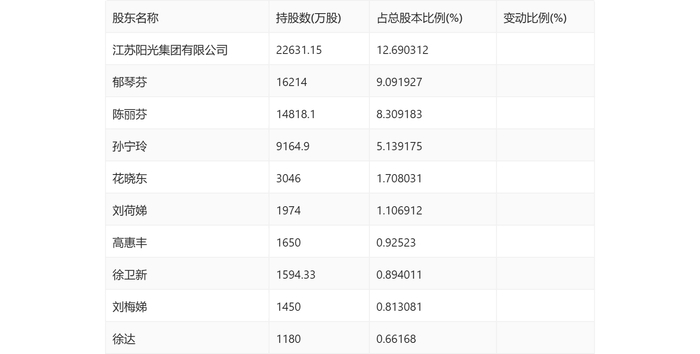
年报显示,2023年年末公司十大流通股东中,新进股东为徐达,取代了三季度末的于春生。

值得注意的是,根据年报数据,江苏阳光39.94%股份处于质押状态。其中,第一大股东江苏阳光集团有限公司质押2.26亿股公司股份,占其全部持股的100.00%。

筹码集中度方面,截至2023年年末,公司股东总户数为10.02万户,较三季度末下降了131户,降幅0.13%;户均持股市值由三季度末的4.03万元下降至3.54万元,降幅为12.16%。

指标注解:

市盈率

=总市值/净利润。当公司亏损时市盈率为负,此时用市盈率估值没有实际意义,往往用市净率或市销率做参考。

市净率

=总市值/净资产。市净率估值法多用于盈利波动较大而净资产相对稳定的公司。

市销率

=总市值/营业收入。市销率估值法通常用于亏损或微利的成长型公司。

文中市盈率和市销率采用TTM方式,即以截至最近一期财报(含预报)12个月的数据计算。市净率采用LF方式,即以最近一期财报数据计算。

市盈率为负时,不显示当期分位数,会导致折线图中断。

加载中...