新浪财经

白银有色:2023年净利润同比增长149.37% 拟10派0.034元

中证网

关注

中证智能财讯 白银有色(601212)4月30日披露2023年年报。2023年,公司实现营业总收入869.71亿元,同比下降0.98%;归母净利润8306.44万元,同比增长149.37%;扣非净利润1.50亿元,同比增长987.70%;经营活动产生的现金流量净额为24.79亿元,同比增长46.86%;报告期内,白银有色基本每股收益为0.011元,加权平均净资产收益率为0.55%。公司2023年年度利润分配预案为:拟向全体股东每10股派0.034元(含税)。

报告期内,公司合计非经常性损益为-6697.58万元,其中计入当期损益的政府补助为8205.21万元,除同公司正常经营业务相关的有效套期保值业务外,非金融企业持有金融资产和金融负债产生的公允价值变动损益以及处置金融资产和金融负债产生的损益为-5782.50万元。

以4月29日收盘价计算,白银有色目前市盈率(TTM)约为282.59倍,市净率(LF)约为1.57倍,市销率(TTM)约为0.27倍。

公司近年市盈率(TTM)、市净率(LF)、市销率(TTM)历史分位图如下所示:

数据统计显示,白银有色近三年营业总收入复合增长率为12.29%,在铜行业已披露2023年数据的16家公司中排名第12。近三年净利润复合年增长率为4.42%,排名11/16。

年报称,公司的主要业务为铜、、金、银等多种有色金属及贵金属的采选、冶炼、加工及贸易,业务覆盖有色金属及贵金属勘探、采矿、选矿、冶炼、加工于一体的全产业链,涉及国内、国外等多个地区,是具有深厚行业积淀并初步形成国际布局的大型有色金属及贵金属企业。

分产品来看,2023年公司主营业务中,阴极铜收入504.22亿元,同比增长7.76%,占营业收入的57.98%;锌收入155.44亿元,同比增长5.16%,占营业收入的17.87%;金收入43.36亿元,同比增长12.60%,占营业收入的4.99%。

截至2023年末,公司员工总数为14806人,人均创收587.40万元,人均创利0.56万元,人均薪酬15.36万元,较上年同期分别变化-4.34%、140.92%、3.80%。

2023年,公司毛利率为4.23%,同比下降0.73个百分点;净利率为0.77%,较上年同期上升0.14个百分点。从单季度指标来看,2023年第四季度公司毛利率为6.47%,同比上升2.22个百分点,环比上升3.81个百分点;净利率为1.59%,较上年同期上升0.14个百分点,较上一季度上升0.91个百分点。

分产品看,阴极铜、锌、金2023年毛利率分别为0.97%、4.28%、9.27%。

报告期内,公司前五大客户合计销售金额240.89亿元,占总销售金额比例为27.69%,公司前五名供应商合计采购金额242.68亿元,占年度采购总额比例为32.78%。

数据显示,2023年公司加权平均净资产收益率为0.55%,较上年同期增长0.32个百分点;公司2023年投入资本回报率为2.68%,较上年同期增长0.24个百分点。

2023年,公司经营活动现金流净额为24.79亿元,同比增长46.86%;筹资活动现金流净额-4.25亿元,同比增加25.72亿元;投资活动现金流净额-13.04亿元,上年同期为5.17亿元。

进一步统计发现,2023年公司自由现金流为5.33亿元,相比上年同期增长13.95%。

2023年,公司营业收入现金比为114.44%,净现比为2984.15%。

营运能力方面,2023年,公司公司总资产周转率为1.84次,上年同期为1.90次(2022年行业平均值为1.83次,公司位居同行业8/16);固定资产周转率为9.01次,上年同期为9.32次(2022年行业平均值为11.06次,公司位居同行业9/16);公司应收账款周转率、存货周转率分别为67.03次、5.70次。

资产重大变化方面,截至2023年年末,公司预付款项较上年末减少30.55%,占公司总资产比重下降1.20个百分点;货币资金较上年末增加14.02%,占公司总资产比重上升1.04个百分点;应收账款较上年末增加50.00%,占公司总资产比重上升1.03个百分点;存货较上年末减少0.24%,占公司总资产比重下降0.92个百分点。

负债重大变化方面,截至2023年年末,公司短期借款较上年末增加32.64%,占公司总资产比重上升5.31个百分点;一年内到期的非流动负债较上年末减少39.39%,占公司总资产比重下降4.04个百分点;长期借款较上年末增加16.73%,占公司总资产比重上升1.41个百分点;其他应付款(含利息和股利)较上年末减少30.20%,占公司总资产比重下降1.59个百分点。

从存货变动来看,截至2023年年末,公司存货账面价值为146.04亿元,占净资产的97.78%,较上年末减少3569.38万元。其中,存货跌价准备为1.54亿元,计提比例为1.05%。

2023年全年,公司研发投入金额为1.55亿元,同比下降84.99%;研发投入占营业收入比例为0.18%,相比上年同期下降1.02个百分点。此外,公司全年研发投入资本化率为17.20%。

年报称,截至2023年底,全公司拥有有效专利885件,其中发明专利301件。围绕核心软件开发,认定登记计算机软件著作权16项,实现软件著作权“从无到有”的重大突破。截至目前,依托国家级企业技术中心,公司现有15个技术创新平台,其中国家级2个,省部级9个,企业级4个,拥有下属高新技术企业8家。

在偿债能力方面,公司2023年年末资产负债率为63.30%,相比上年末上升1.54个百分点;有息资产负债率为41.24%,相比上年末上升2.69个百分点。

2023年,公司流动比率为1.19,速动比率为0.55。

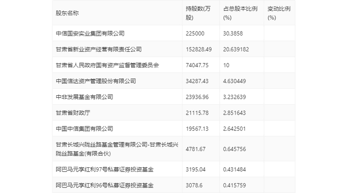
年报显示,2023年年末公司十大流通股东中,新进股东为阿巴马元享红利96号私募证券投资基金,取代了三季度末的香港中央结算有限公司。

值得注意的是,根据年报数据,白银有色30.35%股份处于质押状态。其中,第一大股东中信国安实业集团有限公司质押22.48亿股公司股份,占其全部持股的99.89%。

筹码集中度方面,截至2023年年末,公司股东总户数为13万户,较三季度末增长了1572户,增幅1.22%;户均持股市值由三季度末的16.38万元下降至15.33万元,降幅为6.41%。

指标注解:

市盈率

=总市值/净利润。当公司亏损时市盈率为负,此时用市盈率估值没有实际意义,往往用市净率或市销率做参考。

市净率

=总市值/净资产。市净率估值法多用于盈利波动较大而净资产相对稳定的公司。

市销率

=总市值/营业收入。市销率估值法通常用于亏损或微利的成长型公司。

文中市盈率和市销率采用TTM方式,即以截至最近一期财报(含预报)12个月的数据计算。市净率采用LF方式,即以最近一期财报数据计算。

市盈率为负时,不显示当期分位数,会导致折线图中断。

加载中...