海正药业:2023年亏损9317.13万元
中证网
中证智能财讯 海正药业(600267)4月30日披露2023年年报。2023年,公司实现营业总收入103.73亿元,同比下降13.82%;归母净利润亏损9317.13万元,上年同期盈利4.89亿元;扣非净利润亏损1.00亿元,上年同期盈利3.13亿元;经营活动产生的现金流量净额为15.03亿元,同比下降27.26%;报告期内,海正药业基本每股收益为-0.08元,加权平均净资产收益率为-1.15%。
以4月29日收盘价计算,海正药业目前市盈率(TTM)约为-102.42倍,市净率(LF)约为1.18倍,市销率(TTM)约为0.92倍。
公司近年市盈率(TTM)、市净率(LF)、市销率(TTM)历史分位图如下所示:
数据统计显示,海正药业近三年营业总收入复合增长率为-2.97%,在化学制剂行业已披露2023年数据的110家公司中排名第80。近三年净利润复合年增长率为-160.67%,排名97/110。
资料显示,公司是一家集研产销全价值链、原料药与制剂一体化、多地域发展的综合性制药企业,专注于化学药、生物药、动物药、中药及医药商业等多产业发展,加快布局大健康产业和健康美学等新兴市场。
分产品来看,2023年公司主营业务中,医药制造收入56.82亿元,同比下降15.47%,占营业收入的54.78%;医药商业收入44.41亿元,同比下降9.63%,占营业收入的42.82%;CMO/CDMO/CRO业务收入0.26亿元,同比下降60.27%,占营业收入的0.25%。
截至2023年末,公司员工总数为8062人,人均创收128.67万元,人均创利-1.16万元,人均薪酬21.07万元,较上年同期分别变化-11.01%、-119.68%、1.47%。
2023年,公司毛利率为40.34%,同比下降1.52个百分点;净利率为-0.94%,较上年同期下降5.02个百分点。从单季度指标来看,2023年第四季度公司毛利率为35.34%,同比下降8.72个百分点,环比下降5.36个百分点;净利率为-33.20%,较上年同期下降37.85个百分点,较上一季度下降34.80个百分点。
分产品看,医药制造、医药商业、CMO/CDMO/CRO业务2023年毛利率分别为63.14%、12.37%、40.75%。
报告期内,公司前五大客户合计销售金额12.12亿元,占总销售金额比例为11.69%,公司前五名供应商合计采购金额15.03亿元,占年度采购总额比例为24.29%。
数据显示,2023年公司加权平均净资产收益率为-1.15%,较上年同期下降7.53个百分点;公司2023年投入资本回报率为0.77%,较上年同期下降3.82个百分点。
2023年,公司经营活动现金流净额为15.03亿元,同比下降27.26%;筹资活动现金流净额-10.04亿元,同比增加5.01亿元;投资活动现金流净额-3.39亿元,上年同期为-5.79亿元。
进一步统计发现,2023年公司自由现金流为3.54亿元,相比上年同期下降74.57%。
2023年,公司营业收入现金比为110.88%,净现比为-1612.80%。
营运能力方面,2023年,公司公司总资产周转率为0.57次,上年同期为0.63次(2022年行业平均值为0.43次,公司位居同行业27/112);公司应收账款周转率、存货周转率分别为4.74次、3.20次。
2023年,公司期间费用为38.61亿元,较上年同期减少2.89亿元;但期间费用率为37.22%,较上年同期上升2.74个百分点。其中,销售费用同比下降1.57%,管理费用同比下降13.64%,研发费用同比下降8.57%,财务费用同比下降27.05%。
资产重大变化方面,截至2023年年末,公司在建工程较上年末减少44.64%,占公司总资产比重下降2.71个百分点;应收账款较上年末减少21.92%,占公司总资产比重下降2.19个百分点;其他流动资产较上年末增加745.07%,占公司总资产比重上升1.67个百分点;货币资金较上年末增加13.43%,占公司总资产比重上升1.56个百分点。
负债重大变化方面,截至2023年年末,公司其他流动负债较上年末减少98.92%,占公司总资产比重下降3.21个百分点;一年内到期的非流动负债较上年末增加77.85%,占公司总资产比重上升3.05个百分点;长期借款较上年末减少28.08%,占公司总资产比重下降1.93个百分点;应付债券较上年末减少16.79%,占公司总资产比重下降0.90个百分点。
从存货变动来看,截至2023年年末,公司存货账面价值为19.57亿元,占净资产的24.15%,较上年末增加4273.77万元。其中,存货跌价准备为1.61亿元,计提比例为7.62%。
2023年全年,公司研发投入金额为3.94亿元,同比下降10.98%;研发投入占营业收入比例为3.79%,相比上年同期上升0.12个百分点。此外,公司全年研发投入资本化率为0.43%。
资料显示,近年来先后承担国家重大新药创制专项课题50余项,获省部级以上科技进步奖10多项,7项发明专利荣获“中国专利优秀奖”等。截至报告期末,公司共实现专利申请1305项(国内申请703项,PCT国际申请192项),其中发明专利1236项,实用新型专利65项,外观设计专利4项;拥有授权有效专利435项,其中发明专利372项,实用新型专利59项,外观设计专利4项。
在偿债能力方面,公司2023年年末资产负债率为52.60%,相比上年末下降3.04个百分点;有息资产负债率为32.15%,相比上年末下降0.31个百分点。
2023年,公司流动比率为0.97,速动比率为0.67。
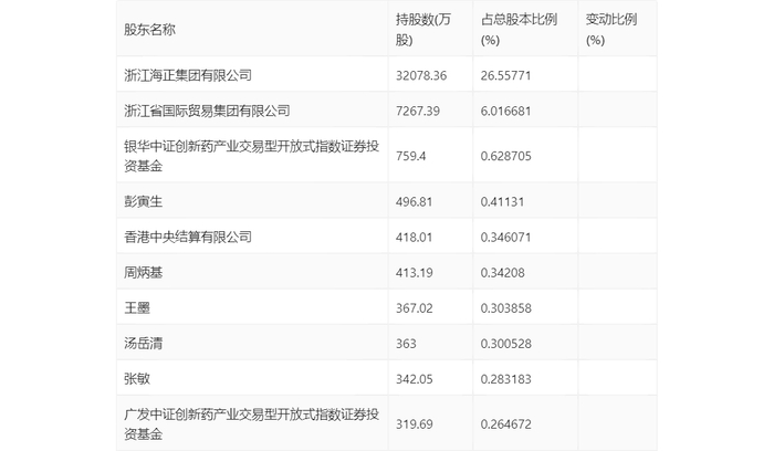
年报显示,2023年年末公司十大流通股东中,新进股东为王墨、张敏、广发中证创新药产业交易型开放式指数证券投资基金,取代了三季度末的HPPC Holding SARL、中国银行股份有限公司-大成多策略灵活配置混合型证券投资基金(LOF)、中信证券股份有限公司。在具体持股比例上,银华中证创新药产业交易型开放式指数证券投资基金、彭寅生持股有所上升,香港中央结算有限公司、汤岳清持股有所下降。
筹码集中度方面,截至2023年年末,公司股东总户数为6.33万户,较三季度末增长了7322户,增幅13.09%;户均持股市值由三季度末的23.66万元下降至17.87万元,降幅为24.47%。
指标注解:
市盈率
=总市值/净利润。当公司亏损时市盈率为负,此时用市盈率估值没有实际意义,往往用市净率或市销率做参考。
市净率
=总市值/净资产。市净率估值法多用于盈利波动较大而净资产相对稳定的公司。
市销率
=总市值/营业收入。市销率估值法通常用于亏损或微利的成长型公司。
文中市盈率和市销率采用TTM方式,即以截至最近一期财报(含预报)12个月的数据计算。市净率采用LF方式,即以最近一期财报数据计算。
市盈率为负时,不显示当期分位数,会导致折线图中断。