新浪财经

雅戈尔:2023年营业收入137.49亿元 拟10派5元

中证网

关注

中证智能财讯 雅戈尔(600177)4月30日披露2023年年报。2023年,公司实现营业总收入137.49亿元,同比下降7.23%;归母净利润34.34亿元,同比下降32.31%;扣非净利润31.85亿元,同比下降32.47%;经营活动产生的现金流量净额为65.42亿元,上年同期为-19.35亿元;报告期内,雅戈尔基本每股收益为0.75元,加权平均净资产收益率为8.91%。公司2023年年度利润分配预案为:拟向全体股东每10股派5元(含税)。

以4月29日收盘价计算,雅戈尔目前市盈率(TTM)约为10.19倍,市净率(LF)约为0.89倍,市销率(TTM)约为2.55倍。

公司近年市盈率(TTM)、市净率(LF)、市销率(TTM)历史分位图如下所示:

数据统计显示,雅戈尔近三年营业总收入复合增长率为6.21%,在非运动服装行业已披露2023年数据的33家公司中排名第11。近三年净利润复合年增长率为-22.00%,排名24/33。

年报称,公司核心主业为以品牌服装为主体的时尚产业,其他业务包括地产开发和投资。

分产品来看,2023年公司主营业务中,品牌上衣收入21.63亿元,同比增长20.32%,占营业收入的15.73%;品牌衬衫收入17.13亿元,同比增长8.76%,占营业收入的12.46%;品牌西服收入13.44亿元,同比增长21.83%,占营业收入的9.77%。

截至2023年末,公司员工总数为18439人,人均创收74.57万元,人均创利18.62万元,人均薪酬10.77万元,较上年同期分别变化-7.02%、-32.16%、1.79%。

2023年,公司毛利率为44.05%,同比下降11.17个百分点;净利率为25.53%,较上年同期下降8.68个百分点。从单季度指标来看,2023年第四季度公司毛利率为32.88%,同比下降38.59个百分点,环比下降26.01个百分点;净利率为11.46%,较上年同期下降31.72个百分点,较上一季度下降28.33个百分点。

分产品看,品牌上衣、品牌衬衫、品牌西服2023年毛利率分别为72.49%、75.34%、69.77%。

报告期内,公司前五大客户合计销售金额1.61亿元,占总销售金额比例为1.20%,公司前五名供应商合计采购金额7.25亿元,占年度采购总额比例为16.82%。

数据显示,2023年公司加权平均净资产收益率为8.91%,较上年同期下降5.18个百分点;公司2023年投入资本回报率为6.07%,较上年同期下降3.12个百分点。

2023年,公司经营活动现金流净额为65.42亿元,同比增加84.77亿元;筹资活动现金流净额-38.17亿元,同比减少3.70亿元;投资活动现金流净额-14.22亿元,上年同期为60.41亿元。

进一步统计发现,2023年公司自由现金流为79.19亿元,相比上年同期增长264.82%。

2023年,公司营业收入现金比为141.10%,净现比为190.51%。

2023年,公司期间费用为45.4亿元,同比增长2.58亿元;期间费用率为33.02%,同比增长4.13个百分点。其中,销售费用同比增长15.1%,管理费用同比增长4.77%,研发费用同比下降23%,财务费用同比下降30.48%。

资产重大变化方面,截至2023年年末,公司长期股权投资较上年末增加20.97%,占公司总资产比重上升4.12个百分点;存货较上年末减少5.19%,占公司总资产比重下降1.81个百分点;预付款项较上年末减少94.71%,占公司总资产比重下降1.68个百分点;其他应收款(含利息和股利)较上年末减少41.60%,占公司总资产比重下降1.61个百分点。

负债重大变化方面,截至2023年年末,公司合同负债较上年末增加47.27%,占公司总资产比重上升4.04个百分点;应交税费较上年末减少74.82%,占公司总资产比重下降1.97个百分点;长期借款较上年末减少16.81%,占公司总资产比重下降1.89个百分点;其他应付款(含利息和股利)较上年末减少22.19%,占公司总资产比重下降0.97个百分点。

2023年全年,公司研发投入金额为6307.97万元,同比下降23.00%;研发投入占营业收入比例为0.46%,相比上年同期下降0.09个百分点。此外,公司全年研发投入资本化率为0。

在偿债能力方面,公司2023年年末资产负债率为50.97%,相比上年末下降0.04个百分点;有息资产负债率为29.57%,相比上年末下降1.35个百分点。

2023年,公司流动比率为0.94,速动比率为0.48。

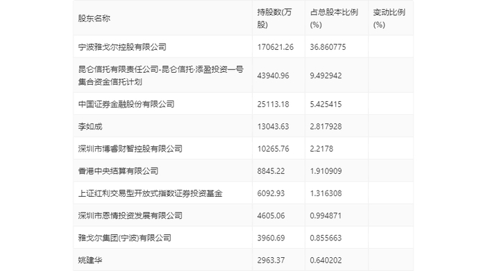
年报显示,2023年年末公司十大流通股东中,持股最多的为宁波雅戈尔控股有限公司,占比36.86%。十大流通股东名单相比2023年三季报维持不变。在具体持股比例上,宁波雅戈尔控股有限公司、上证红利交易型开放式指数证券投资基金持股有所上升,香港中央结算有限公司持股有所下降。

筹码集中度方面,截至2023年年末,公司股东总户数为7.82万户,较三季度末增长了63户,增幅0.08%;户均持股市值由三季度末的42.10万元下降至38.76万元,降幅为7.93%。

指标注解:

市盈率

=总市值/净利润。当公司亏损时市盈率为负,此时用市盈率估值没有实际意义,往往用市净率或市销率做参考。

市净率

=总市值/净资产。市净率估值法多用于盈利波动较大而净资产相对稳定的公司。

市销率

=总市值/营业收入。市销率估值法通常用于亏损或微利的成长型公司。

文中市盈率和市销率采用TTM方式,即以截至最近一期财报(含预报)12个月的数据计算。市净率采用LF方式,即以最近一期财报数据计算。

市盈率为负时,不显示当期分位数,会导致折线图中断。

加载中...