新浪财经

三花智控:2024年第一季度净利润6.48亿元 同比增长7.73%

中证网

关注

中证智能财讯 三花智控(002050)4月30日披露2024年一季报。2024年第一季度,公司实现营业总收入64.40亿元,同比增长13.40%;归母净利润6.48亿元,同比增长7.73%;扣非净利润6.71亿元,同比增长20.53%;经营活动产生的现金流量净额为1.08亿元,同比下降85.35%;报告期内,三花智控基本每股收益为0.17元,加权平均净资产收益率为3.58%。

2024年第一季度,公司毛利率为27.05%,同比上升1.48个百分点;净利率为10.03%,较上年同期下降0.69个百分点。

数据显示,2024年第一季度公司加权平均净资产收益率为3.58%,较上年同期下降0.94个百分点;公司2024年第一季度投入资本回报率为2.88%,较上年同期下降0.24个百分点。

2024年第一季度,公司经营活动现金流净额为1.08亿元,同比下降85.35%;筹资活动现金流净额-1.37亿元,同比减少1.55亿元;投资活动现金流净额-6.72亿元,上年同期为-3.92亿元。

2024年第一季度,公司营业收入现金比为98.49%,净现比为16.65%。

资产重大变化方面,截至2024年一季度末,公司货币资金较上年末减少14.08%,占公司总资产比重下降3.28个百分点;应收账款较上年末增加14.39%,占公司总资产比重上升2.17个百分点;存货较上年末增加8.23%,占公司总资产比重上升0.86个百分点;在建工程较上年末增加11.43%,占公司总资产比重上升0.58个百分点。

负债重大变化方面,截至2024年一季度末,公司一年内到期的非流动负债较上年末减少60.59%,占公司总资产比重下降2.78个百分点;长期借款较上年末增加84.47%,占公司总资产比重上升2.61个百分点;应付账款较上年末增加6.20%,占公司总资产比重上升0.56个百分点;应付职工薪酬较上年末减少36.38%,占公司总资产比重下降0.71个百分点。

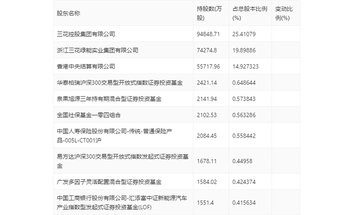
一季报显示,2024年一季度末的公司十大流通股东中,新进股东为易方达沪深300交易型开放式指数发起式证券投资基金,取代了上年末的科威特政府投资局。在具体持股比例上,华泰柏瑞沪深300交易型开放式指数证券投资基金、中国人寿保险股份有限公司-传统-普通保险产品-005L-CT001沪持股有所上升,香港中央结算有限公司、全国社保基金一零四组合、广发多因子灵活配置混合型证券投资基金、汇添富中证新能源汽车产业指数型发起式证券投资基金(LOF)持股有所下降。

筹码集中度方面,截至2024年一季度末,公司股东总户数为8.47万户,较上年末增长了3.25万户,增幅62.12%;户均持股市值由上年末的209.93万元下降至104.52万元,降幅为50.21%。

加载中...