新浪财经

瑞贝卡:2023年净利润同比下降63.75% 拟10派0.1元

中证网

关注

中证智能财讯 瑞贝卡(600439)4月30日披露2023年年报。2023年,公司实现营业总收入12.26亿元,同比下降2.57%;归母净利润1230.23万元,同比下降63.75%;扣非净利润768.28万元,同比下降76.10%;经营活动产生的现金流量净额为2.47亿元,上年同期为-2647.28万元;报告期内,瑞贝卡基本每股收益为0.0109元,加权平均净资产收益率为0.43%。公司2023年年度利润分配预案为:拟向全体股东每10股派0.1元(含税)。

以4月29日收盘价计算,瑞贝卡目前市盈率(TTM)约为218.99倍,市净率(LF)约为0.98倍,市销率(TTM)约为2.2倍。

公司近年市盈率(TTM)、市净率(LF)、市销率(TTM)历史分位图如下所示:

数据统计显示,瑞贝卡近三年营业总收入复合增长率为-2.68%,在饰品行业已披露2023年数据的15家公司中排名第12。近三年净利润复合年增长率为-31.42%,排名13/15。

年报显示,本公司主营业务为发制品的生产和销售,主要产品有工艺发条、化纤发条、人发假发、化纤假发、教习头、复合纤维材料(纤维发丝)等六大类。

分产品来看,2023年公司主营业务中,化纤发条收入5.36亿元,同比下降2.06%,占营业收入的43.76%;人发假发收入3.15亿元,同比增长10.71%,占营业收入的25.69%;化纤假发收入1.79亿元,同比下降21.17%,占营业收入的14.57%。

截至2023年末,公司员工总数为8284人,人均创收14.79万元,人均创利0.15万元,人均薪酬5.01万元,较上年同期分别变化6.02%、-60.55%、-9.40%。

2023年,公司毛利率为30.54%,同比上升3.87个百分点;净利率为1.03%,较上年同期下降1.73个百分点。从单季度指标来看,2023年第四季度公司毛利率为26.84%,同比上升6.67个百分点,环比下降7.70个百分点;净利率为-0.84%,较上年同期上升0.08个百分点,较上一季度下降1.33个百分点。

分产品看,化纤发条、人发假发、化纤假发2023年毛利率分别为28.67%、48.14%、22.58%。

报告期内,公司前五大客户合计销售金额1.60亿元,占总销售金额比例为13.10%,公司前五名供应商合计采购金额0.60亿元,占年度采购总额比例为16.15%。

数据显示,2023年公司加权平均净资产收益率为0.43%,较上年同期下降0.78个百分点;公司2023年投入资本回报率为1.33%,较上年同期下降0.72个百分点。

2023年,公司经营活动现金流净额为2.47亿元,同比增加2.73亿元;筹资活动现金流净额-1.76亿元,同比减少4.69亿元;投资活动现金流净额-2226.46万元,上年同期为-1943.63万元。

进一步统计发现,2023年公司自由现金流为2.00亿元,上年同期为-0.49亿元。

2023年,公司营业收入现金比为108.95%,净现比为2006.68%。

营运能力方面,2023年,公司公司总资产周转率为0.23次,上年同期为0.25次(2022年行业平均值为1.14次,公司位居同行业15/16);固定资产周转率为2.26次,上年同期为2.29次(2022年行业平均值为69.73次,公司位居同行业16/16);公司应收账款周转率、存货周转率分别为4.93次、0.26次。

2023年,公司期间费用为3.32亿元,较上年同期增加6685.58万元;期间费用率为27.12%,较上年同期上升6.02个百分点。其中,销售费用同比增长6.76%,管理费用同比下降5.76%,研发费用同比增长10.54%,财务费用同比增长328.55%。

资产重大变化方面,截至2023年年末,公司货币资金较上年末增加25.84%,占公司总资产比重上升3.47个百分点;应收账款较上年末减少21.70%,占公司总资产比重下降1.18个百分点;存货较上年末减少0.90%,占公司总资产比重下降0.96个百分点;其他权益工具投资合计较上年末减少46.05%,占公司总资产比重下降0.54个百分点。

负债重大变化方面,截至2023年年末,公司短期借款较上年末增加11.17%,占公司总资产比重上升2.79个百分点;长期借款较上年末减少20.65%,占公司总资产比重下降2.13个百分点;一年内到期的非流动负债较上年末增加25.63%,占公司总资产比重上升1.42个百分点;其他应付款(含利息和股利)较上年末减少45.87%,占公司总资产比重下降0.36个百分点。

从存货变动来看,截至2023年年末,公司存货账面价值为32.05亿元,占净资产的116.45%,较上年末减少2900.39万元。其中,存货跌价准备为1942.4万元,计提比例为0.6%。

2023年全年,公司研发投入金额为3906.32万元,同比增长10.54%;研发投入占营业收入比例为3.19%,相比上年同期上升0.38个百分点。此外,公司全年研发投入资本化率为0。

在偿债能力方面,公司2023年年末资产负债率为47.88%,相比上年末上升1.72个百分点;有息资产负债率为44.57%,相比上年末上升2.07个百分点。

2023年,公司流动比率为2.12,速动比率为0.59。

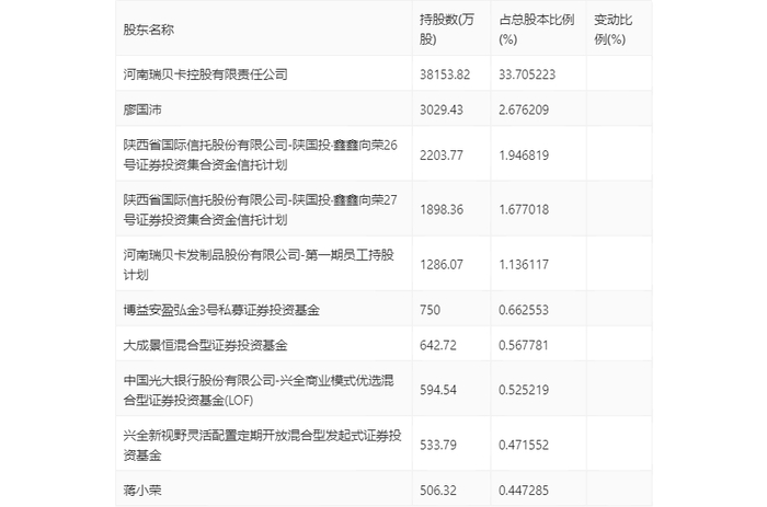
年报显示,2023年年末公司十大流通股东中,新进股东为廖国沛、中国光大银行股份有限公司-兴全商业模式优选混合型证券投资基金(LOF)、兴全新视野灵活配置定期开放混合型发起式证券投资基金,取代了三季度末的国金量化多因子股票型证券投资基金、丑建忠、国金量化精选混合型证券投资基金。在具体持股比例上,河南瑞贝卡发制品股份有限公司-第一期员工持股计划、大成景恒混合型证券投资基金持股有所下降。

筹码集中度方面,截至2023年年末,公司股东总户数为5.25万户,较三季度末增长了4378户,增幅9.10%;户均持股市值由三季度末的6.07万元下降至5.78万元,降幅为4.78%。

指标注解:

市盈率

=总市值/净利润。当公司亏损时市盈率为负,此时用市盈率估值没有实际意义,往往用市净率或市销率做参考。

市净率

=总市值/净资产。市净率估值法多用于盈利波动较大而净资产相对稳定的公司。

市销率

=总市值/营业收入。市销率估值法通常用于亏损或微利的成长型公司。

文中市盈率和市销率采用TTM方式,即以截至最近一期财报(含预报)12个月的数据计算。市净率采用LF方式,即以最近一期财报数据计算。

市盈率为负时,不显示当期分位数,会导致折线图中断。

加载中...