新浪财经

麦格米特:2024年第一季度净利润1.39亿元 同比下降13.96%

中证网

关注

中证智能财讯 麦格米特(002851)4月30日披露2024年一季报。2024年第一季度,公司实现营业总收入18.31亿元,同比增长17.32%;归母净利润1.39亿元,同比下降13.96%;扣非净利润1.22亿元,同比增长25.62%;经营活动产生的现金流量净额为4786.00万元,同比下降81.37%;报告期内,麦格米特基本每股收益为0.2781元,加权平均净资产收益率为3.08%。

2024年第一季度,公司毛利率为25.91%,同比上升1.81个百分点;净利率为7.70%,较上年同期下降2.63个百分点。

数据显示,2024年第一季度公司加权平均净资产收益率为3.08%,较上年同期下降1.17个百分点;公司2024年第一季度投入资本回报率为2.25%,较上年同期下降0.84个百分点。

2024年第一季度,公司经营活动现金流净额为4786.00万元,同比下降81.37%,主要系本期支付货款增加所致;筹资活动现金流净额5.63亿元,同比增加5.88亿元,主要系本期信用证、票据贴现增加所致;投资活动现金流净额1.28亿元,上年同期为-8780.88万元,主要系本期购买理财产品减少所致。

2024年第一季度,公司营业收入现金比为88.51%,净现比为34.55%。

资产重大变化方面,截至2024年一季度末,公司货币资金较上年末增加125.39%,占公司总资产比重上升6.74个百分点;交易性金融资产较上年末减少40.42%,占公司总资产比重下降3.16个百分点;应收款项融资较上年末减少43.32%,占公司总资产比重下降1.61个百分点;存货较上年末增加0.75%,占公司总资产比重下降0.78个百分点。

负债重大变化方面,截至2024年一季度末,公司短期借款较上年末增加150.02%,占公司总资产比重上升4.42个百分点;应付票据较上年末减少20.94%,占公司总资产比重下降2.60个百分点;应付账款较上年末减少4.21%,占公司总资产比重下降1.93个百分点;长期借款较上年末增加56.05%,占公司总资产比重上升0.78个百分点。

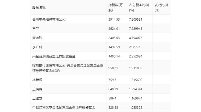
一季报显示,2024年一季度末公司十大流通股东中,新进股东为中欧红利优享灵活配置混合型证券投资基金,取代了上年末的鹏华新兴产业混合型证券投资基金。在具体持股比例上,童永胜、王建方持股有所上升,香港中央结算有限公司、王萍、李升付、兴全合润混合型证券投资基金、招商银行股份有限公司-兴全合宜灵活配置混合型证券投资基金(LOF)、林普根、王晓蓉持股有所下降。

筹码集中度方面,截至2024年一季度末,公司股东总户数为1.82万户,较上年末增长了784户,增幅4.49%;户均持股市值由上年末的70.67万元下降至66.22万元,降幅为6.30%。

加载中...