新浪财经

东方时尚:2024年第一季度亏损3510.60万元

中证网

关注

中证智能财讯 东方时尚(603377)4月30日披露2024年一季报。2024年第一季度,公司实现营业总收入1.87亿元,同比下降7.96%;归母净利润亏损3510.60万元,上年同期亏损2407.35万元;扣非净利润亏损3673.63万元,上年同期亏损2903.87万元;经营活动产生的现金流量净额为7897.42万元,同比增长7.54%;报告期内,东方时尚基本每股收益为-0.05元,加权平均净资产收益率为-1.67%。

2024年第一季度,公司毛利率为33.22%,同比下降2.06个百分点;净利率为-22.66%,较上年同期下降9.81个百分点。

数据显示,2024年第一季度公司加权平均净资产收益率为-1.67%,较上年同期下降0.53个百分点;公司2024年第一季度投入资本回报率为-0.66%,较上年同期下降0.55个百分点。

2024年第一季度,公司经营活动现金流净额为7897.42万元,同比增长7.54%;筹资活动现金流净额-8081.40万元,同比减少1274.20万元;投资活动现金流净额-2102.51万元,上年同期为-1085.81万元。

2024年第一季度,公司营业收入现金比为148.07%,净现比为-224.96%。

资产重大变化方面,截至2024年一季度末,公司货币资金较上年末减少21.78%,占公司总资产比重下降0.43个百分点;在建工程较上年末减少0.01%,占公司总资产比重上升0.31个百分点;其他非流动资产较上年末增加13.77%,占公司总资产比重上升0.28个百分点;固定资产较上年末减少3.08%,占公司总资产比重下降0.20个百分点。

负债重大变化方面,截至2024年一季度末,公司长期应付款合计较上年末减少36.48%,占公司总资产比重下降1.08个百分点;一年内到期的非流动负债较上年末减少5.56%,占公司总资产比重下降0.27个百分点;其他应付款(含利息和股利)较上年末增加16.00%,占公司总资产比重上升0.53个百分点;租赁负债较上年末增加4.75%,占公司总资产比重上升0.63个百分点。

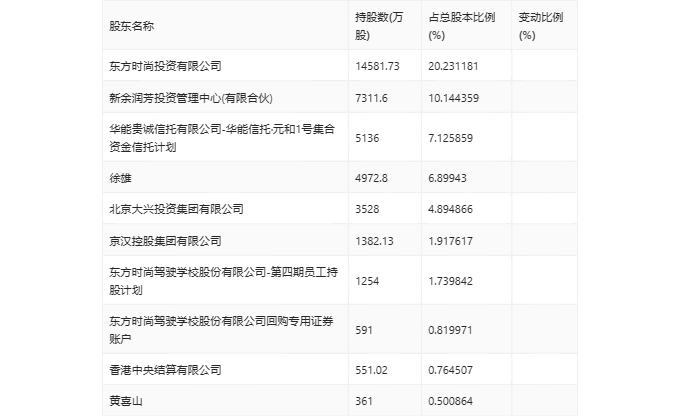
一季报显示,2024年一季度末公司十大流通股东中,新进股东为东方时尚驾驶学校股份有限公司回购专用证券账户、黄喜山,取代了上年末的阿拉丁传奇科技集团有限公司、中信保诚人寿保险有限公司-传统账户。在具体持股比例上,东方时尚投资有限公司、新余润芳投资管理中心(有限合伙)、华能贵诚信托有限公司-华能信托·元和1号集合资金信托计划、徐雄、北京大兴投资集团有限公司、京汉控股集团有限公司、东方时尚驾驶学校股份有限公司-第四期员工持股计划、香港中央结算有限公司持股有所下降。

筹码集中度方面,截至2024年一季度末,公司股东总户数为4.79万户,较上年末增长了2.61万户,增幅120.01%;户均持股市值由上年末的13.94万元下降至5.78万元,降幅为58.54%。

加载中...