新浪财经

绿地控股:2024年第一季度净利润8203.24万元 同比下降95.88%

中证网

关注

中证智能财讯 绿地控股(600606)4月30日披露2024年一季报。2024年第一季度,公司实现营业总收入516.12亿元,同比下降34.52%;归母净利润8203.24万元,同比下降95.88%;扣非净利润2.16亿元,同比下降82.99%;经营活动产生的现金流量净额为-24.18亿元,上年同期为12.67亿元;报告期内,绿地控股基本每股收益为0.01元,加权平均净资产收益率为0.10%。

2024年第一季度,公司毛利率为10.33%,同比下降0.23个百分点;净利率为0.25%,较上年同期下降2.79个百分点。

数据显示,2024年第一季度公司加权平均净资产收益率为0.10%,较上年同期下降2.23个百分点;公司2024年第一季度投入资本回报率为0.16%,较上年同期下降0.79个百分点。

2024年第一季度,公司经营活动现金流净额为-24.18亿元,同比减少36.85亿元,主要系业务规模下降导致现金净流入减少;筹资活动现金流净额-7.04亿元,同比增加37.45亿元;投资活动现金流净额5.47亿元,上年同期为-7.79亿元。

2024年第一季度,公司营业收入现金比为166.70%,净现比为-2947.88%。

资产重大变化方面,截至2024年一季度末,公司预付款项较上年末增加140.87%,占公司总资产比重上升1.44个百分点;存货较上年末减少1.60%,占公司总资产比重下降0.88个百分点;其他应收款(含利息和股利)较上年末增加10.62%,占公司总资产比重上升0.78个百分点;货币资金较上年末减少16.89%,占公司总资产比重下降0.53个百分点。

负债重大变化方面,截至2024年一季度末,公司一年内到期的非流动负债较上年末减少8.88%,占公司总资产比重下降0.52个百分点;其他应付款(含利息和股利)较上年末增加6.21%,占公司总资产比重上升0.40个百分点;应付账款较上年末减少0.97%,占公司总资产比重下降0.39个百分点;长期借款较上年末增加4.82%,占公司总资产比重上升0.28个百分点。

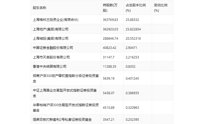
一季报显示,2024年一季度末公司十大流通股东中,新进股东为华泰柏瑞沪深300交易型开放式指数证券投资基金、烜鼎双板打新套利2号私募证券投资基金,取代了上年末的烜鼎星宿13号私募证券投资基金、烜鼎星宿21号私募证券投资基金。在具体持股比例上,中证上海国企交易型开放式指数证券投资基金持股有所上升,香港中央结算有限公司、招商沪深300地产等权重指数分级证券投资基金持股有所下降。

筹码集中度方面,截至2024年一季度末,公司股东总户数为11.39万户,较上年末下降了2786户,降幅2.39%;户均持股市值由上年末的27.71万元下降至23.70万元,降幅为14.47%。

加载中...