新浪财经

埃斯顿:2024年第一季度净利润652.94万元 同比下降84.83%

中证网

关注

中证智能财讯 埃斯顿(002747)4月30日披露2024年一季报。2024年第一季度,公司实现营业总收入10.03亿元,同比增长1.73%;归母净利润652.94万元,同比下降84.83%;扣非净利润亏损1294.09万元,上年同期盈利3210.05万元;经营活动产生的现金流量净额为-3.67亿元,上年同期为-2.50亿元;报告期内,埃斯顿基本每股收益为0.01元,加权平均净资产收益率为0.26%。

2024年第一季度,公司毛利率为32.62%,同比下降0.95个百分点;净利率为0.85%,较上年同期下降3.62个百分点。

数据显示,2024年第一季度公司加权平均净资产收益率为0.26%,较上年同期下降1.27个百分点;公司2024年第一季度投入资本回报率为0.39%,较上年同期下降0.55个百分点。

2024年第一季度,公司经营活动现金流净额为-3.67亿元,同比减少1.17亿元;筹资活动现金流净额8635.28万元,同比减少9.09亿元;投资活动现金流净额22.02万元,上年同期为-2.77亿元。

2024年第一季度,公司营业收入现金比为87.24%,净现比为-5621.36%。

资产重大变化方面,截至2024年一季度末,公司货币资金较上年末减少22.94%,占公司总资产比重下降2.78个百分点;应收账款较上年末增加9.56%,占公司总资产比重上升1.52个百分点;固定资产较上年末增加9.19%,占公司总资产比重上升1.02个百分点;存货较上年末增加4.78%,占公司总资产比重上升0.65个百分点。

负债重大变化方面,截至2024年一季度末,公司长期借款较上年末增加12.92%,占公司总资产比重上升1.85个百分点;应付账款较上年末减少12.83%,占公司总资产比重下降1.64个百分点;短期借款较上年末减少3.61%,占公司总资产比重下降0.53个百分点;应付票据较上年末增加6.46%,占公司总资产比重上升0.45个百分点。

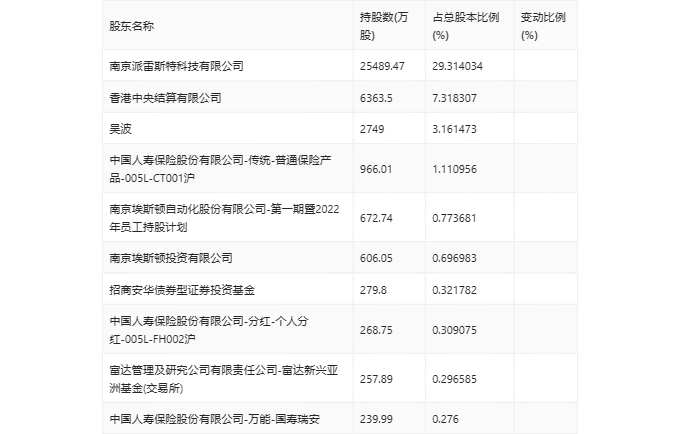
一季报显示,2024年一季度末公司十大流通股东中,新进股东为中国人寿保险股份有限公司-分红-个人分红-005L-FH002沪、中国人寿保险股份有限公司-万能-国寿瑞安,取代了上年末的广发聚丰混合型证券投资基金、富达基金(香港)有限公司-客户资金。在具体持股比例上,香港中央结算有限公司、招商安华债券型证券投资基金、富达管理及研究公司有限责任公司-富达新兴亚洲基金(交易所)持股有所下降。

筹码集中度方面,截至2024年一季度末,公司股东总户数为10.1万户,较上年末增长了1.56万户,增幅18.34%;户均持股市值由上年末的18.94万元下降至16.47万元,降幅为13.04%。

加载中...