新浪财经

中化国际:2023年亏损18.48亿元

中证网

关注

中证智能财讯 中化国际(600500)4月30日披露2023年年报。2023年,公司实现营业总收入542.72亿元,同比下降37.94%;归母净利润亏损18.48亿元,上年同期盈利13.11亿元;扣非净利润亏损23.42亿元,上年同期盈利8.33亿元;经营活动产生的现金流量净额为17.05亿元,同比下降49.95%;报告期内,中化国际基本每股收益为-0.52元,加权平均净资产收益率为-11.19%。

以4月29日收盘价计算,中化国际目前市盈率(TTM)约为-8.28倍,市净率(LF)约为0.99倍,市销率(TTM)约为0.28倍。

公司近年市盈率(TTM)、市净率(LF)、市销率(TTM)历史分位图如下所示:

数据统计显示,中化国际近三年营业总收入复合增长率为0.07%,在其他化学制品行业已披露2023年数据的74家公司中排名第61。近三年净利润复合年增长率为-281.93%,排名71/74。

分产品来看,2023年公司主营业务中,化工材料营销收入173.75亿元,同比下降18.23%,占营业收入的32.01%;基础原料及中间体产品收入78.30亿元,同比下降4.38%,占营业收入的14.43%;高性能材料收入70.07亿元,同比增长10.80%,占营业收入的12.91%。

2023年,公司毛利率为4.68%,同比下降3.98个百分点;净利率为-3.41%,较上年同期下降5.90个百分点。从单季度指标来看,2023年第四季度公司毛利率为2.46%,同比下降3.73个百分点,环比下降1.33个百分点;净利率为-12.09%,较上年同期下降12.78个百分点,较上一季度下降9.54个百分点。

分产品看,化工材料营销、基础原料及中间体产品、高性能材料2023年毛利率分别为2.63%、-1.92%、5.11%。

报告期内,公司前五大客户合计销售金额41.38亿元,占总销售金额比例为7.62%,公司前五名供应商合计采购金额98.66亿元,占年度采购总额比例为19.07%。

数据显示,2023年公司加权平均净资产收益率为-11.19%,较上年同期下降21.55个百分点;公司2023年投入资本回报率为-3.36%,较上年同期下降9.11个百分点。

2023年,公司经营活动现金流净额为17.05亿元,同比下降49.95%;筹资活动现金流净额-8.64亿元,同比减少81.44亿元;投资活动现金流净额-37.92亿元,上年同期为-85.73亿元。

进一步统计发现,2023年公司自由现金流为2.16亿元,上年同期为-79.34亿元。

2023年,公司营业收入现金比为115.23%,净现比为-92.26%。

营运能力方面,2023年,公司公司总资产周转率为0.87次,上年同期为1.36次(2022年行业平均值为0.67次,公司位居同行业7/74);公司应收账款周转率、存货周转率分别为16.42次、10.08次。

2023年,公司期间费用为36.78亿元,较上年同期减少8.53亿元;但期间费用率为6.78%,较上年同期上升1.60个百分点。其中,销售费用同比下降15.58%,管理费用同比下降23.27%,研发费用同比下降11.43%,财务费用同比下降18.63%。

资产重大变化方面,截至2023年年末,公司固定资产较上年末增加19.87%,占公司总资产比重上升12.93个百分点;在建工程较上年末减少9.62%,占公司总资产比重上升3.05个百分点;货币资金较上年末减少58.28%,占公司总资产比重下降2.98个百分点;长期股权投资较上年末增加126.88%,占公司总资产比重上升1.91个百分点。

负债重大变化方面,截至2023年年末,公司一年内到期的非流动负债较上年末增加517.94%,占公司总资产比重上升3.95个百分点;应付账款较上年末减少19.03%,占公司总资产比重上升0.63个百分点;应付票据较上年末减少22.98%,占公司总资产比重上升0.02个百分点;长期借款较上年末减少4.24%,占公司总资产比重上升3.63个百分点。

从存货变动来看,截至2023年年末,公司存货账面价值为49.56亿元,占净资产的31.94%,较上年末减少10.59亿元。其中,存货跌价准备为-3.54亿元,计提比例为-7.7%。

2023年全年,公司研发投入金额为9.04亿元,同比下降12.03%;研发投入占营业收入比例为1.67%,相比上年同期上升0.49个百分点。此外,公司全年研发投入资本化率为2.09%。

在偿债能力方面,公司2023年年末资产负债率为59.94%,相比上年末下降2.28个百分点;有息资产负债率为38.70%,相比上年末上升10.59个百分点。

2023年,公司流动比率为0.84,速动比率为0.60。

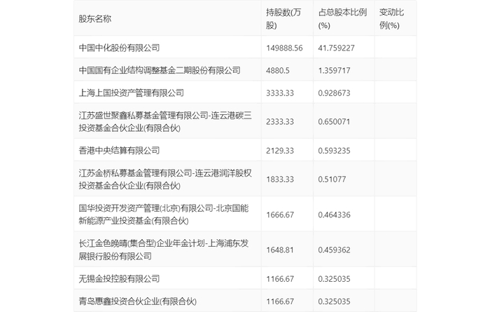
年报显示,2023年年末公司十大流通股东中,新进股东为香港中央结算有限公司,取代了三季度末的凡益多策略与时偕行1号私募证券投资基金。在具体持股比例上,中国中化股份有限公司、中国国有企业结构调整基金二期股份有限公司、上海上国投资产管理有限公司、江苏盛世聚鑫私募基金管理有限公司-连云港碳三投资基金合伙企业(有限合伙)、江苏金桥私募基金管理有限公司-连云港润洋股权投资基金合伙企业(有限合伙)、国华投资开发资产管理(北京)有限公司-北京国能新能源产业投资基金(有限合伙)、无锡金投控股有限公司、青岛惠鑫投资合伙企业(有限合伙)持股有所上升,长江金色晚晴(集合型)企业年金计划-上海浦东发展银行股份有限公司持股有所下降。

筹码集中度方面,截至2023年年末,公司股东总户数为7.2万户,较三季度末增长了938户,增幅1.32%;户均持股市值由三季度末的25.44万元下降至22.05万元,降幅为13.33%。

指标注解:

市盈率

=总市值/净利润。当公司亏损时市盈率为负,此时用市盈率估值没有实际意义,往往用市净率或市销率做参考。

市净率

=总市值/净资产。市净率估值法多用于盈利波动较大而净资产相对稳定的公司。

市销率

=总市值/营业收入。市销率估值法通常用于亏损或微利的成长型公司。

文中市盈率和市销率采用TTM方式,即以截至最近一期财报(含预报)12个月的数据计算。市净率采用LF方式,即以最近一期财报数据计算。

市盈率为负时,不显示当期分位数,会导致折线图中断。

加载中...