新浪财经

苏盐井神:2024年第一季度净利润2.27亿元 同比增长10.23%

中证网

关注

中证智能财讯 苏盐井神(603299)4月30日披露2024年一季报。2024年第一季度,公司实现营业总收入13.88亿元,同比下降10.10%;归母净利润2.27亿元,同比增长10.23%;扣非净利润2.14亿元,同比增长11.39%;经营活动产生的现金流量净额为4.33亿元,同比增长42.63%;报告期内,苏盐井神基本每股收益为0.2946元,加权平均净资产收益率为4.01%。

2024年第一季度,公司毛利率为35.33%,同比上升4.31个百分点;净利率为16.48%,较上年同期上升2.97个百分点。

2024年第一季度,公司经营活动现金流净额为4.33亿元,同比增长42.63%,主要系报告期销售商品收到现金较同期增加所致;筹资活动现金流净额2.45亿元,同比增加3858.62万元;投资活动现金流净额2.52亿元,上年同期为1260.15万元。

2024年第一季度,公司营业收入现金比为117.09%,净现比为190.88%。

资产重大变化方面,截至2024年一季度末,公司货币资金较上年末增加30.60%,占公司总资产比重上升7.11个百分点;固定资产较上年末减少1.34%,占公司总资产比重下降2.19个百分点;应收款项融资较上年末减少25.14%,占公司总资产比重下降1.76个百分点;应收账款较上年末增加95.05%,占公司总资产比重上升1.39个百分点。

负债重大变化方面,截至2024年一季度末,公司应付票据较上年末增加295.58%,占公司总资产比重上升4.56个百分点;其他应付款(含利息和股利)较上年末增加63.62%,占公司总资产比重上升1.69个百分点;一年内到期的非流动负债较上年末减少38.28%,占公司总资产比重下降2.16个百分点;应付账款较上年末减少14.79%,占公司总资产比重下降2.10个百分点。

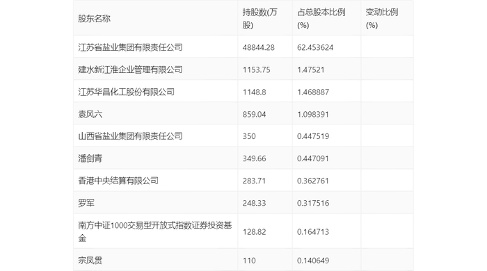
一季报显示,2024年一季度末公司十大流通股东中,新进股东为南方中证1000交易型开放式指数证券投资基金,取代了上年末的向上。在具体持股比例上,江苏华昌化工股份有限公司、袁风六、潘剑青、香港中央结算有限公司持股有所上升。

筹码集中度方面,截至2024年一季度末,公司股东总户数为4.1万户,较上年末增长了250户,增幅0.61%;户均持股市值由上年末的16.34万元上升至16.89万元,增幅为3.37%。

加载中...