新浪财经

格力电器:2023年净利290.17亿元 同比增长18.41% 拟10派23.8元

中证网

关注

中证智能财讯 格力电器(000651)4月30日披露2023年年报。2023年,公司实现营业总收入2050.18亿元,同比增长7.82%;归母净利润290.17亿元,同比增长18.41%;扣非净利润275.65亿元,同比增长14.92%;经营活动产生的现金流量净额为563.98亿元,同比增长96.73%;报告期内,格力电器基本每股收益为5.22元,加权平均净资产收益率为26.53%。公司2023年年度利润分配预案为:拟向全体股东每10股派23.8元(含税)。

以4月29日收盘价计算,格力电器目前市盈率(TTM)约为7.86倍,市净率(LF)约为1.95倍,市销率(TTM)约为1.12倍。

公司近年市盈率(TTM)、市净率(LF)、市销率(TTM)历史分位图如下所示:

数据统计显示,格力电器近三年营业总收入复合增长率为6.34%,在家用电器行业已披露2023年数据的94家公司中排名第54。近三年净利润复合年增长率为9.38%,排名42/94。

年报称,公司是一家多元化、科技型的全球工业集团,旗下拥有格力、TOSOT、晶弘三大消费品牌及凌达、凯邦、新元等工业品牌,产业覆盖家用消费品和工业装备两大领域。

分产品来看,2023年公司主营业务中,空调收入1512.17亿元,同比增长12.13%,占营业收入的73.76%;工业制品收入100.03亿元,同比增长31.63%,占营业收入的4.88%;绿色能源收入71.06亿元,同比增长51.16%,占营业收入的3.47%。

截至2023年末,公司员工总数为72610人,人均创收282.36万元,人均创利39.96万元,人均薪酬15.88万元,较上年同期分别增长7.48%、18.03%、7.63%。

2023年,公司毛利率为30.57%,同比上升4.53个百分点;净利率为13.59%,较上年同期上升1.41个百分点。从单季度指标来看,2023年第四季度公司毛利率为34.76%,同比上升6.96个百分点,环比上升4.63个百分点;净利率为16.74%,较上年同期上升3.32个百分点,较上一季度上升3.88个百分点。

分产品看,空调、工业制品、绿色能源2023年毛利率分别为37.04%、22.72%、12.84%。

报告期内,公司前五大客户合计销售金额363.74亿元,占总销售金额比例为17.74%,公司前五名供应商合计采购金额370.70亿元,占年度采购总额比例为28.15%。

数据显示,2023年公司加权平均净资产收益率为26.53%,较上年同期增长2.34个百分点;公司2023年投入资本回报率为12.69%,较上年同期下降0.20个百分点。

2023年,公司经营活动现金流净额为563.98亿元,同比增长96.73%;筹资活动现金流净额-163.58亿元,同比减少262.81亿元;投资活动现金流净额-410.17亿元,上年同期为-370.57亿元。

进一步统计发现,2023年公司自由现金流为91.83亿元,相比上年同期下降65.56%。

2023年,公司营业收入现金比为111.70%,净现比为194.36%。

2023年,公司期间费用为269.07亿元,较上年同期增加62.79亿元;期间费用率为13.19%,较上年同期上升2.28个百分点。其中,销售费用同比增长51.79%,管理费用同比增长24.19%,研发费用同比增长7.65%,财务费用由去年同期的-22.07亿元变为-35.27亿元。

资产重大变化方面,截至2023年年末,公司其他非流动资产较上年末增加3987.49%,占公司总资产比重上升11.26个百分点;货币资金较上年末减少21.20%,占公司总资产比重下降10.63个百分点;其他流动资产较上年末增加428.61%,占公司总资产比重上升5.44个百分点;应收款项融资较上年末减少64.20%,占公司总资产比重下降5.25个百分点。

负债重大变化方面,截至2023年年末,公司短期借款较上年末减少50.01%,占公司总资产比重下降7.72个百分点,主要系本期短期借款到期偿还;一年内到期的非流动负债较上年末增加7969.76%,占公司总资产比重上升5.53个百分点;应付票据较上年末减少38.51%,占公司总资产比重下降4.42个百分点;应付账款较上年末增加25.24%,占公司总资产比重上升1.93个百分点。

2023年全年,公司研发投入金额为70.06亿元,同比增长8.97%;研发投入占营业收入比例为3.43%,相比上年同期上升0.03个百分点。此外,公司全年研发投入资本化率为3.49%。

年报称,截至2023年末,公司累计申请专利119261件,其中发明专利申请64174件;累计发明专利授权20416件。

在偿债能力方面,公司2023年年末资产负债率为67.22%,相比上年末下降4.09个百分点;有息资产负债率为23.39%,相比上年末下降0.25个百分点。

2023年,公司流动比率为1.14,速动比率为0.97。

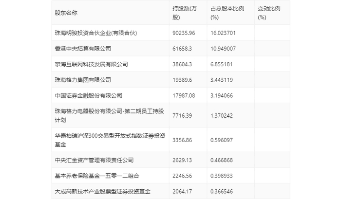
年报显示,2023年年末公司十大流通股东中,新进股东为基本养老保险基金一五零一二组合,取代了三季度末的HHLR管理有限公司-HHLR中国基金。在具体持股比例上,香港中央结算有限公司、京海互联网科技发展有限公司、华泰柏瑞沪深300交易型开放式指数证券投资基金持股有所上升,大成高新技术产业股票型证券投资基金持股有所下降。

值得注意的是,根据年报数据,格力电器16.02%股份处于质押状态。其中,第一大股东珠海明骏投资合伙企业(有限合伙)质押9.02亿股公司股份,占其全部持股的100.00%。

筹码集中度方面,截至2023年年末,公司股东总户数为61.38万户,较三季度末增长了4.06万户,增幅7.09%;户均持股市值由三季度末的35.66万元下降至29.51万元,降幅为17.25%。

指标注解:

市盈率

=总市值/净利润。当公司亏损时市盈率为负,此时用市盈率估值没有实际意义,往往用市净率或市销率做参考。

市净率

=总市值/净资产。市净率估值法多用于盈利波动较大而净资产相对稳定的公司。

市销率

=总市值/营业收入。市销率估值法通常用于亏损或微利的成长型公司。

文中市盈率和市销率采用TTM方式,即以截至最近一期财报(含预报)12个月的数据计算。市净率采用LF方式,即以最近一期财报数据计算。

市盈率为负时,不显示当期分位数,会导致折线图中断。

加载中...