新浪财经

伊利股份:2023年净利润同比增长10.58% 拟10派12元

中证网

关注

中证智能财讯 伊利股份(600887)4月30日披露2023年年报。2023年,公司实现营业收入1257.58亿元,同比增长2.49%;归母净利润104.29亿元,同比增长10.58%;扣非净利润100.26亿元,同比增长16.78%;经营活动产生的现金流量净额为182.90亿元,同比增长36.29%;报告期内,伊利股份基本每股收益为1.64元,加权平均净资产收益率为20.20%。公司2023年年度利润分配预案为:拟向全体股东每10股派12元(含税)。

以4月29日收盘价计算,伊利股份目前市盈率(TTM)约为17.27倍,市净率(LF)约为3.36倍,市销率(TTM)约为1.43倍。

公司近年市盈率(TTM)、市净率(LF)、市销率(TTM)历史分位图如下所示:

数据统计显示,伊利股份近三年营业总收入复合增长率为9.21%,在乳品行业已披露2023年数据的20家公司中排名第11。近三年净利润复合年增长率为13.79%,排名8/20。

年报显示,公司主要从事各类乳制品及健康饮品的加工、制造与销售活动,旗下拥有液体乳、乳饮料、奶粉、酸奶、冷冻饮品、奶酪、乳脂、包装饮用水等几大产品系列。公司产品主要以国内市场销售为主,部分产品销往海外市场。

分产品来看,2023年公司主营业务中,液体乳收入855.40亿元,同比增长0.72%,占营业收入的67.79%;奶粉及奶制品收入275.98亿元,同比增长5.09%,占营业收入的21.87%;冷饮产品收入106.88亿元,同比增长11.72%,占营业收入的8.47%。

2023年,公司毛利率为32.58%,同比上升0.32个百分点;净利率为8.18%,较上年同期上升0.59个百分点。从单季度指标来看,2023年第四季度公司毛利率为31.48%,同比上升0.33个百分点,环比下降0.89个百分点;净利率为3.19%,较上年同期下降1.14个百分点,较上一季度下降6.63个百分点。

分产品看,液体乳、奶粉及奶制品、冷饮产品2023年毛利率分别为30.36%、38.14%、38.45%。

报告期内,公司前五大客户合计销售金额64.53亿元,占总销售金额比例为5.13%,公司前五名供应商合计采购金额194.56亿元,占年度采购总额比例为29.55%。

数据显示,2023年公司加权平均净资产收益率为20.20%,较上年同期增长0.97个百分点;公司2023年投入资本回报率为9.55%,较上年同期下降1.29个百分点。

2023年,公司经营活动现金流净额为182.90亿元,同比增长36.29%;筹资活动现金流净额72.58亿元,同比减少15.23亿元;投资活动现金流净额-160.45亿元,上年同期为-195.14亿元。

进一步统计发现,2023年公司自由现金流为94.18亿元,相比上年同期增长494.52%。

2023年,公司营业收入现金比为113.49%,净现比为175.39%。

营运能力方面,2023年,公司公司总资产周转率为0.89次,上年同期为1.06次(2022年行业平均值为0.76次,公司位居同行业4/20);固定资产周转率为3.66次,上年同期为3.90次(2022年行业平均值为2.83次,公司位居同行业5/20);公司应收账款周转率、存货周转率分别为40.74次、6.20次。

资产重大变化方面,截至2023年年末,公司其他非流动资产较上年末增加126.05%,占公司总资产比重上升6.34个百分点;存货较上年末减少15.67%,占公司总资产比重下降3.08个百分点;货币资金较上年末增加28.12%,占公司总资产比重上升2.76个百分点;固定资产较上年末增加4.47%,占公司总资产比重下降2.52个百分点。

负债重大变化方面,截至2023年年末,公司短期借款较上年末增加48.34%,占公司总资产比重上升5.76个百分点;长期借款较上年末增加25.89%,占公司总资产比重上升0.62个百分点;应付账款较上年末减少13.36%,占公司总资产比重下降3.06个百分点;一年内到期的非流动负债较上年末增加147.79%,占公司总资产比重上升0.86个百分点。

从存货变动来看,截至2023年年末,公司存货账面价值为125.12亿元,占净资产的23.37%,较上年末减少23.24亿元。其中,存货跌价准备为11.05亿元,计提比例为8.12%。

2023年全年,公司研发投入金额为8.50亿元,同比增长3.48%;研发投入占营业收入比例为0.68%,相比上年同期上升0.01个百分点。此外,公司全年研发投入资本化率为0。

年报显示,公司以“全面价值领先”战略目标为指引,与时俱进,不断增强企业的创新能力,驱动业务健康发展。报告期末,公司累计获得国内外发明专利授权数量为838件,比上年末增加144件;累计获得中国专利优秀奖8件,是获得“中国专利优秀奖”最多的乳制品企业。

在偿债能力方面,公司2023年年末资产负债率为62.19%,相比上年末上升3.53个百分点;有息资产负债率为37.88%,相比上年末上升6.91个百分点。

2023年,公司流动比率为0.90,速动比率为0.74。

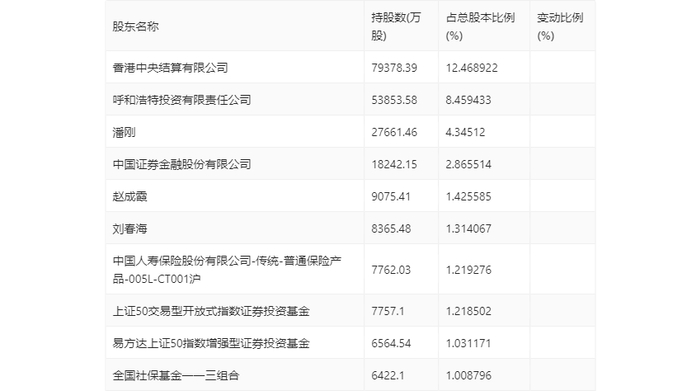
年报显示,2023年年末公司十大流通股东中,新进股东为中国人寿保险股份有限公司-传统-普通保险产品-005L-CT001沪,取代了三季度末的基本养老保险基金八零二组合。在具体持股比例上,呼和浩特投资有限责任公司、潘刚、中国证券金融股份有限公司、赵成霞、上证50交易型开放式指数证券投资基金、全国社保基金一一三组合持股有所上升,香港中央结算有限公司、刘春海、易方达上证50指数增强型证券投资基金持股有所下降。

筹码集中度方面,截至2023年年末,公司股东总户数为52.16万户,较三季度末下降了3.68万户,降幅6.60%;户均持股市值由三季度末的30.25万元上升至32.65万元,增幅为7.93%。

指标注解:

市盈率

=总市值/净利润。当公司亏损时市盈率为负,此时用市盈率估值没有实际意义,往往用市净率或市销率做参考。

市净率

=总市值/净资产。市净率估值法多用于盈利波动较大而净资产相对稳定的公司。

市销率

=总市值/营业收入。市销率估值法通常用于亏损或微利的成长型公司。

文中市盈率和市销率采用TTM方式,即以截至最近一期财报(含预报)12个月的数据计算。市净率采用LF方式,即以最近一期财报数据计算。

市盈率为负时,不显示当期分位数,会导致折线图中断。

加载中...