新浪财经

国投电力:2023年净利润同比增长64.31% 拟10派4.948元

中证网

关注

中证智能财讯 国投电力(600886)4月30日披露2023年年报。2023年,公司实现营业总收入567.12亿元,同比增长12.32%;归母净利润67.05亿元,同比增长64.31%;扣非净利润65.89亿元,同比增长66.76%;经营活动产生的现金流量净额为212.68亿元,同比下降3.17%;报告期内,国投电力基本每股收益为0.8754元,加权平均净资产收益率为12.78%。公司2023年年度利润分配预案为:拟向全体股东每10股派4.948元(含税)。

以4月29日收盘价计算,国投电力目前市盈率(TTM)约为16.95倍,市净率(LF)约为1.92倍,市销率(TTM)约为2.0倍。

公司近年市盈率(TTM)、市净率(LF)、市销率(TTM)历史分位图如下所示:

数据统计显示,国投电力近三年营业总收入复合增长率为12.98%,在水力发电行业已披露2023年数据的10家公司中排名第2。近三年净利润复合年增长率为6.73%,排名4/10。

年报显示,公司经营范围主要包括投资建设、经营管理以电力生产为主的能源项目;开发及经营新能源项目、高新技术、环保产业;开发和经营电力配套产品及信息、咨询服务。

分产品来看,2023年公司主营业务中,电力收入532.63亿元,同比增长11.34%,占营业收入的93.92%。

2023年,公司毛利率为36.08%,同比上升4.04个百分点;净利率为21.44%,较上年同期上升6.23个百分点。从单季度指标来看,2023年第四季度公司毛利率为26.86%,同比上升9.74个百分点,环比下降17.12个百分点;净利率为9.07%,较上年同期上升8.42个百分点,较上一季度下降21.15个百分点。

报告期内,公司前五大客户合计销售金额465.96亿元,占总销售金额比例为82.16%,公司前五名供应商合计采购金额148.11亿元,占年度采购总额比例为35.97%。

数据显示,2023年公司加权平均净资产收益率为12.78%,较上年同期增长4.53个百分点;公司2023年投入资本回报率为6.43%,较上年同期增长1.38个百分点。

2023年,公司经营活动现金流净额为212.68亿元,同比下降3.17%;筹资活动现金流净额-9.39亿元,同比增加26.35亿元;投资活动现金流净额-206.56亿元,上年同期为-156.89亿元。

进一步统计发现,2023年公司自由现金流为4.69亿元,相比上年同期下降95.57%。

2023年,公司营业收入现金比为102.84%,净现比为317.20%。

2023年,公司期间费用为58.91亿元,同比减少3.2亿元;期间费用率为10.39%,同比下降1.91个百分点。其中,销售费用同比增长23.29%,管理费用同比增长19.56%,研发费用同比增长152.33%,财务费用同比下降14.59%。

资产重大变化方面,截至2023年年末,公司固定资产较上年末增加1.86%,占公司总资产比重下降3.86个百分点;应收账款较上年末增加56.42%,占公司总资产比重上升1.59个百分点;在建工程较上年末增加40.25%,占公司总资产比重上升1.47个百分点;长期应收款较上年末增加44.38%,占公司总资产比重上升0.66个百分点。

负债重大变化方面,截至2023年年末,公司长期借款较上年末增加6.87%,占公司总资产比重下降0.20个百分点;一年内到期的非流动负债较上年末增加18.61%,占公司总资产比重上升0.42个百分点;短期借款较上年末减少16.70%,占公司总资产比重下降0.98个百分点;应付账款较上年末增加29.55%,占公司总资产比重上升0.33个百分点。

2023年全年,公司研发投入金额为2.55亿元,同比增长184.86%;研发投入占营业收入比例为0.45%,相比上年同期上升0.27个百分点。此外,公司全年研发投入资本化率为60.58%。

在偿债能力方面,公司2023年年末资产负债率为63.18%,相比上年末下降0.57个百分点;有息资产负债率为53.16%,相比上年末下降0.69个百分点。

2023年,公司流动比率为0.63,速动比率为0.60。

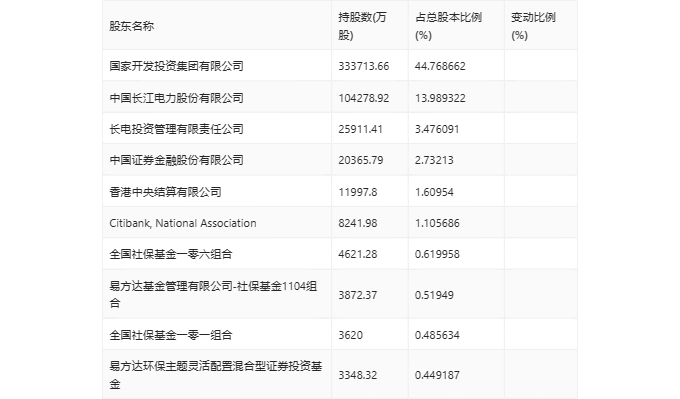
年报显示,2023年年末公司十大流通股东中,持股最多的为国家开发投资集团有限公司,占比44.77%。十大流通股东名单相比2023年三季报维持不变。在具体持股比例上,香港中央结算有限公司、全国社保基金一零六组合、易方达环保主题灵活配置混合型证券投资基金持股有所上升,易方达基金管理有限公司-社保基金1104组合、全国社保基金一零一组合持股有所下降。

筹码集中度方面,截至2023年年末,公司股东总户数为6.34万户,较三季度末下降了551户,降幅0.86%;户均持股市值由三季度末的137.30万元上升至155.08万元,增幅为12.95%。

指标注解:

市盈率

=总市值/净利润。当公司亏损时市盈率为负,此时用市盈率估值没有实际意义,往往用市净率或市销率做参考。

市净率

=总市值/净资产。市净率估值法多用于盈利波动较大而净资产相对稳定的公司。

市销率

=总市值/营业收入。市销率估值法通常用于亏损或微利的成长型公司。

文中市盈率和市销率采用TTM方式,即以截至最近一期财报(含预报)12个月的数据计算。市净率采用LF方式,即以最近一期财报数据计算。

市盈率为负时,不显示当期分位数,会导致折线图中断。

加载中...