新浪财经

新城控股:2024年第一季度净利润2.27亿元 同比下降65.50%

中证网

关注

中证智能财讯 新城控股(601155)4月30日披露2024年第一季度报告。公司实现营业收入143.57亿元,同比下降11.66%;归母净利润2.27亿元,同比下降65.5%;扣非净利润2.89亿元,同比下降46.28%;经营活动产生的现金流量净额为10.33亿元,同比下降50.7%;报告期内,新城控股基本每股收益为0.1元,加权平均净资产收益率为0.38%。

2024年第一季度,公司毛利率为24.71%,同比上升3.23个百分点;净利率为1.94%,较上年同期下降2.36个百分点。

数据显示,2024年第一季度公司加权平均净资产收益率为0.38%,较上年同期下降0.72个百分点;公司2024年第一季度投入资本回报率为0.49%,较上年同期下降0.24个百分点。

截至2024年一季度末,公司经营活动现金流净额为10.33亿元,同比下降50.7%;筹资活动现金流净额-15.22亿元,同比增加8.57亿元;投资活动现金流净额3.52亿元,上年同期为17.06亿元。

2024年一季度,公司营业收入现金比为81.83%,净现比为454.77%。

资产重大变化方面,截至2024年一季度末,公司投资性房地产较上年末增加0.31%,占公司总资产比重上升0.62个百分点;货币资金较上年末减少5.91%,占公司总资产比重下降0.22个百分点;其他流动资产较上年末减少6.78%,占公司总资产比重下降0.22个百分点;存货较上年末减少1.87%,占公司总资产比重下降0.10个百分点。

负债重大变化方面,截至2024年一季度末,公司合同负债较上年末减少3.48%,占公司总资产比重下降0.54个百分点;长期借款较上年末增加10.76%,占公司总资产比重上升0.79个百分点;一年内到期的非流动负债较上年末减少11.09%,占公司总资产比重下降0.50个百分点;其他应付款(含利息和股利)较上年末减少4.69%,占公司总资产比重下降0.32个百分点。

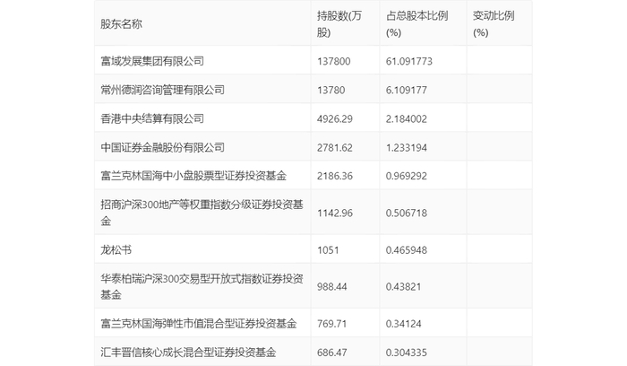
一季报显示,2024年一季度末公司十大流通股东中,新进股东为华泰柏瑞沪深300交易型开放式指数证券投资基金、富兰克林国海弹性市值混合型证券投资基金、汇丰晋信核心成长混合型证券投资基金,取代了上年末的正心谷(檀真)价值中国专享私募证券投资基金、陈世辉、汇丰晋信低碳先锋股票型证券投资基金。在具体持股比例上,香港中央结算有限公司、富兰克林国海中小盘股票型证券投资基金持股有所上升,招商沪深300地产等权重指数分级证券投资基金、龙松书持股有所下降。

筹码集中度方面,截至2024年一季度末,公司股东总户数为7.37万户,较上年末下降了4308户,降幅5.52%;户均持股市值由上年末的33.00万元下降至29.06万元,降幅为11.94%。

加载中...