新浪财经

爱家集团多个开发项目卡壳,法人代表被限制高消费

时代周报猛犸工作室

关注

一家9间房的民宿、一个设计创意中心、一个数字游民公社、一些茶饮店餐饮店铺等,这是一个宣称总投资60亿元的白茶原小镇,目前呈现的商业业态。

白茶原小镇位于浙江湖州安吉,是上海爱家置业集团有限公司(以下简称“爱家集团”)转型“操刀”的一个文旅特色小镇项目,彼时宣称计划投资规模达60亿元,欲打造成乡村田园旅游综合体。

不过,记者从一名安吉县下属乡镇政府工作人员处得知,白茶原小镇目前只落地了零星的业态,可售业态、营地等规划尚未落地。

在此背后,时代周报发现,爱家集团已出现多个开发项目进展卡壳,涉及多起法律纠纷,法人代表已频繁被法院颁布限制消费令。

60亿投文旅小镇

爱家集团是上海的一家本土老牌房企,创立于1982年,关于其创始人李笙安的发家史,网上资料寥寥无几。

在李笙安时期,爱家集团发展一直比较低调,很少出现在媒体的报道中,据到2018年销售额也仅刚过百亿量级。2018年,李笙安将爱家集团总裁之位传给其女李彦漪,彼时李彦漪年仅25岁。

李彦漪接班后,爱家集团寻求与其他房企合作,开始扩张。据记者不完全统计,在2020年和2021年,爱家集团先后与三巽集团、中南锦时、远洋集团新城控股等房企形成战略合作,合作项目包括新城君和雅苑、爱家尚城、远洋心里、武汉宝龙达爱家等。

与此同时,爱家集团也尝试转型,瞄准了做文旅特色小镇,上文提及的安吉白茶原小镇就是爱家集团转型“操刀”的第一个项目。

据浙江日报报道,2019年1月,中国·安吉白茶小镇乡村振兴综合体开发项目正式签约,上海爱家集团将投资60亿元,与溪龙乡政府一起围绕白茶产业,结合现代农业、教育、康养、旅游等四大产业,整体全方位规划,打造溪龙全域乡村田园旅游综合体,总建设周期为10年。

据了解,在规划中,整个小镇将引入大自然学校,引入亲子户外活动、亲子旅游项目,建造以白茶为主题的综合体、博物馆、茶叶工厂、民宿等。

如今,五年时间过去,据时代周报了解,白茶原小镇目前只有一家9间房的民宿、一个设计创意中心、一个数字游民公社、一些茶饮店餐饮店铺等零星业态,可售业态尚未建成,整个小镇正在等待资金盘活。

天眼查显示,爱家集团的全资子公司安吉旭虹房地产有限公司因装饰装修合同纠纷,被合力胜装饰工程有限公司告上法庭,最新一次的开庭日期为2024年2月29日。

时代周报从一名业内人士处得知,安吉白茶小镇项目此前曾找来复星背景的徐伟林、政府背景的许隆高任负责人,不过外部职业经理人和李彦漪的理念难以磨合,两人在任时间均不长。

法人代表被限制消费

对于爱家集团来说,等待盘活的不止白茶原项目。

天眼查显示,2021年-2023年爱家集团涉及数十起法律诉讼,案由包括商品房销售合同纠纷、建设工程设计合同纠纷、民间借贷纠纷、服务合同纠纷,爱家集团多为被告方。

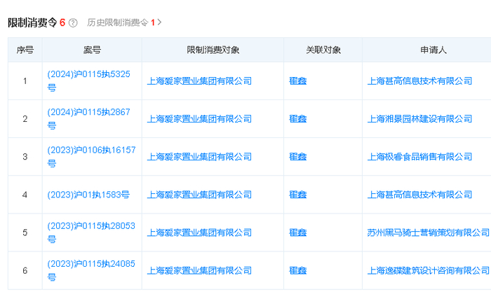
时代周报发现,爱家集团目前法定代表人已不再是李彦漪,而变成了翟鑫。天眼查显示,2021年8月,爱家集团发生投资人(股权)变更,李彦漪及薛萍退出,新增的一方为苏州瑷咏投资有限公司,由AIJIA Hong Kong Holding Limited 100%持股。2022年9月,爱家集团法定代表人由李彦漪变更为翟鑫。

目前,因多起司法纠纷,翟鑫已被颁布限制消费令。

近期,有多个信源向时代周报透露,爱家集团因拖欠员工薪资、社保、供应商货款,与瑞力基金、温州银行、厦门国际银行等金融机构均发生了潜在履约纠纷,其中某些项目已被提起诉讼。如扬中霞飞集项目,一度成为焦点。

公开资料显示,扬中霞飞集项目位于江苏镇江扬中市,项目公司全称为扬中路航房地产开发有限公司(以下简称“路航地产”),系爱家集团的控股子公司,天眼查爱家集团显示持股比例75.0499%,上海瑞力嘉成股权投资基金合伙企业(有限合伙)持股23.9521%。

房天下网站显示,爱家霞飞集一期于2021年9月开盘,原定于2023年5月30日交房。不过,一名房天下工作人员告诉记者,该项目一期迄今未交房,按照现有工程进度,预期于今年上半年交房。记者发现,目前该项目正在社交媒体上频繁更新施工状态。

另据天眼查,路航地产17次涉诉,均为被告,案由包括票据追索权纠纷、合同纠纷、票据纠纷、买卖合同纠纷;有被执行人记录6条,被执行总金额85.29万元;有限制高消费记录7条;有终本案件记录6条,未履行总金额352.06万元。

记者就霞飞集项目的情况联系以上金融机构,其中温州银行业务线人士称不能对媒体透露,瑞力基金相关工作人员则表示“暂不参与介入爱家媒体相关报道”。

霞飞集项目之外,爱家集团与宝龙集团联合开发的武汉宝龙达爱家拿地五年仍未动工。“该项目的地基还没打”,此前一名带看宝龙达爱家项目的中介对记者表示。

记者注意到,早在2023年10月,就有网友在在武汉城市留言板上询问:“宝龙达爱家何时能动工?”东西湖区官方回复称:“社区工作人员收到您的诉求后立即前往实地查看情况,并联系相关部门询问具体情况,目前暂未收到关于宝龙达爱家工程建设动工的公示。”

就宝龙达爱家项目开工问题,记者拨打了武汉自然资源和规划局公开电话,接线人员建议记者咨询武汉市民之家。随后,时代周报多次拨打武汉市民之家电话,未获接通。

数名业内人士向时代周报透露,宝龙达爱家项目的融资出了问题,目前因履约问题,正被中国中信金融资产管理股份有限公司湖北省分公司(以下简称“中信金融资产湖北分公司”)起诉中。

对于以上问题,时代周报致函爱家集团,截至发稿,对方未予以回复。

责任编辑:刘万里 SF014

加载中...