新浪财经

三峡能源:2023年净利润同比增长0.94% 拟10派0.78元

中证网

关注

中证智能财讯 三峡能源(600905)4月30日披露2023年年报。2023年,公司实现营业总收入264.85亿元,同比增长11.23%;归母净利润71.81亿元,同比增长0.94%;扣非净利润70.09亿元,同比下降2.39%;经营活动产生的现金流量净额为144.17亿元,同比下降14.23%;报告期内,三峡能源基本每股收益为0.2509元,加权平均净资产收益率为8.99%。公司2023年年度利润分配预案为:拟向全体股东每10股派0.78元(含税)。

以4月29日收盘价计算,三峡能源目前市盈率(TTM)约为19.29倍,市净率(LF)约为1.68倍,市销率(TTM)约为5.23倍。

公司近年市盈率(TTM)、市净率(LF)、市销率(TTM)历史分位图如下所示:

数据统计显示,三峡能源近三年营业总收入复合增长率为32.78%,在风力发电行业已披露2023年数据的12家公司中排名第2。近三年净利润复合年增长率为25.72%,排名6/12。

年报显示,公司主要产品为电力,按照国民经济行业分类,所属行业为电力生产行业中的风力发电以及太阳能发电。报告期内,公司所属行业及主营业务未发生变化。

分产品来看,2023年公司主营业务中,电力收入261.22亿元,同比增长10.71%,占营业收入的98.63%。

2023年,公司毛利率为55.13%,同比下降3.27个百分点;净利率为31.22%,较上年同期下降3.82个百分点。从单季度指标来看,2023年第四季度公司毛利率为54.70%,同比上升4.38个百分点,环比上升8.09个百分点;净利率为28.84%,较上年同期上升7.28个百分点,较上一季度上升9.25个百分点。

报告期内,公司前五大客户合计销售金额261.30亿元,占总销售金额比例为98.66%,公司前五名供应商合计采购金额370.96亿元,占年度采购总额比例为56.31%。

数据显示,2023年公司加权平均净资产收益率为8.99%,较上年同期下降0.65个百分点;公司2023年投入资本回报率为4.99%,较上年同期下降1.02个百分点。

2023年,公司经营活动现金流净额为144.17亿元,同比下降14.23%;筹资活动现金流净额209.88亿元,同比增加106.08亿元;投资活动现金流净额-410.05亿元,上年同期为-298.26亿元。

进一步统计发现,2023年公司自由现金流为-258.97亿元,上年同期为-152.20亿元。

2023年,公司营业收入现金比为87.04%,净现比为200.77%。

营运能力方面,2023年,公司公司总资产周转率为0.09次,上年同期为0.10次(2022年行业平均值为0.13次,公司位居同行业11/12);固定资产周转率为0.18次,上年同期为0.21次(2022年行业平均值为0.29次,公司位居同行业7/12);公司应收账款周转率、存货周转率分别为0.84次、41.33次。

2023年,公司期间费用为59.12亿元,同比增长4.38亿元;但期间费用率为22.32%,同比下降0.67个百分点。其中,管理费用同比增长31.69%,研发费用同比增长20.27%,财务费用同比下降0.79%。

资产重大变化方面,截至2023年年末,公司在建工程较上年末增加49.30%,占公司总资产比重上升3.47个百分点;货币资金较上年末减少52.13%,占公司总资产比重下降2.42个百分点;应收账款较上年末增加37.21%,占公司总资产比重上升1.58个百分点;使用权资产较上年末减少21.07%,占公司总资产比重下降1.32个百分点。

负债重大变化方面,截至2023年年末,公司长期借款较上年末增加34.40%,占公司总资产比重上升4.97个百分点,主要系新增项目融资规模增加;长期应付款合计较上年末增加82.42%,占公司总资产比重上升2.63个百分点;短期借款较上年末减少86.37%,占公司总资产比重下降1.46个百分点,主要系本报告期归还部分短期借款;应付账款较上年末增加9.43%,占公司总资产比重下降0.69个百分点。

从存货变动来看,截至2023年年末,公司存货账面价值为3.53亿元,占净资产的0.43%,较上年末增加1.31亿元。其中,存货跌价准备为230.58万元,计提比例为0.65%。

2023年全年,公司研发投入金额为7.27亿元,同比增长55.03%;研发投入占营业收入比例为2.74%,相比上年同期上升0.77个百分点。

在偿债能力方面,公司2023年年末资产负债率为69.37%,相比上年末上升2.96个百分点;有息资产负债率为49.22%,相比上年末上升1.67个百分点。

2023年,公司流动比率为1.02,速动比率为1.01。

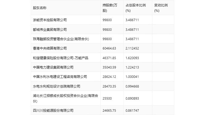
年报显示,2023年年末公司十大流通股东中,新进股东为水电水利规划设计总院有限公司,取代了三季度末的上证50交易型开放式指数证券投资基金。在具体持股比例上,浙能资本控股有限公司、都城伟业集团有限公司、珠海融朗投资管理合伙企业(有限合伙)、香港中央结算有限公司、和谐健康保险股份有限公司-万能产品、湖北长江招银成长股权投资合伙企业(有限合伙)、四川川投能源股份有限公司持股有所上升,中国电力建设集团有限公司、中国水利水电建设工程咨询有限公司持股有所下降。

筹码集中度方面,截至2023年年末,公司股东总户数为66.64万户,较三季度末下降了2.73万户,降幅3.93%;户均持股市值由三季度末的19.72万元下降至18.77万元,降幅为4.82%。

指标注解:

市盈率

=总市值/净利润。当公司亏损时市盈率为负,此时用市盈率估值没有实际意义,往往用市净率或市销率做参考。

市净率

=总市值/净资产。市净率估值法多用于盈利波动较大而净资产相对稳定的公司。

市销率

=总市值/营业收入。市销率估值法通常用于亏损或微利的成长型公司。

文中市盈率和市销率采用TTM方式,即以截至最近一期财报(含预报)12个月的数据计算。市净率采用LF方式,即以最近一期财报数据计算。

市盈率为负时,不显示当期分位数,会导致折线图中断。

加载中...