一汽解放:2024年第一季度净利润1.69亿元 同比增长174.00%
中证网
中证智能财讯 一汽解放(000800)4月30日披露2024年一季报。2024年第一季度,公司实现营业总收入189.81亿元,同比增长35.21%;归母净利润1.69亿元,同比增长174.00%;扣非净利润1.04亿元,同比扭亏;经营活动产生的现金流量净额为9.70亿元,同比下降48.81%;报告期内,一汽解放基本每股收益为0.0365元,加权平均净资产收益率为0.69%。
2024年第一季度,公司毛利率为6.30%,同比上升0.17个百分点;净利率为0.89%,较上年同期上升0.45个百分点。
数据显示,2024年第一季度公司加权平均净资产收益率为0.69%,较上年同期增长0.43个百分点;公司2024年第一季度投入资本回报率为-0.13%,较上年同期增长0.47个百分点。
2024年第一季度,公司经营活动现金流净额为9.70亿元,同比下降48.81%,主要系购买商品、接受劳务支付的现金增加所致;筹资活动现金流净额-1144.20万元,同比增加732.83万元,主要系本期支付使用权资产租赁费减少所致;投资活动现金流净额-4.08亿元,上年同期为-2.77亿元。
2024年第一季度,公司营业收入现金比为70.77%,净现比为572.95%。
资产重大变化方面,截至2024年一季度末,公司应收款项融资较上年末增加101.61%,占公司总资产比重上升5.90个百分点;应收账款较上年末增加170.49%,占公司总资产比重上升4.26个百分点;货币资金较上年末增加1.76%,占公司总资产比重下降3.23个百分点;固定资产较上年末减少2.99%,占公司总资产比重下降2.34个百分点。
负债重大变化方面,截至2024年一季度末,公司应付票据较上年末增加39.91%,占公司总资产比重上升4.42个百分点;应付账款较上年末增加23.96%,占公司总资产比重上升2.64个百分点;合同负债较上年末减少33.52%,占公司总资产比重下降1.37个百分点;其他流动负债较上年末减少33.55%,占公司总资产比重下降0.14个百分点。
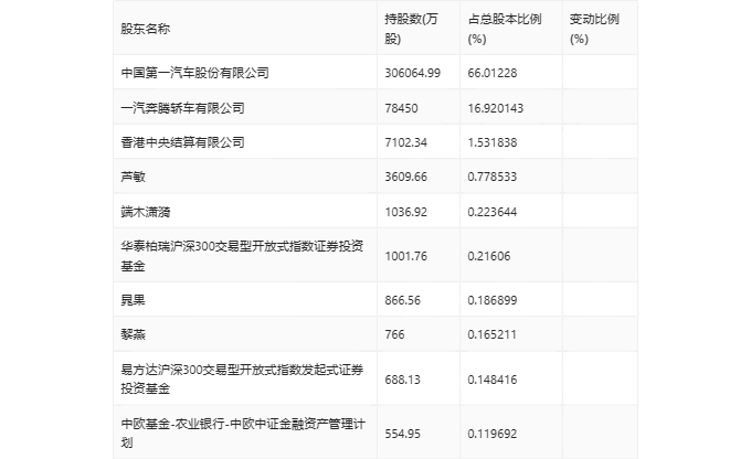
一季报显示,2024年一季度末的公司十大流通股东中,新进股东为端木潇漪、易方达沪深300交易型开放式指数发起式证券投资基金,取代了上年末的博时中证金融资产管理计划、吉林省国有资本运营有限责任公司。在具体持股比例上,中国第一汽车股份有限公司、一汽奔腾轿车有限公司、香港中央结算有限公司、芦敏、华泰柏瑞沪深300交易型开放式指数证券投资基金、晁果、黎燕、中欧中证金融资产管理计划持股有所上升。
筹码集中度方面,截至2024年一季度末,公司股东总户数为7.82万户,较上年末下降了7797户,降幅9.07%;户均持股市值由上年末的45.85万元上升至54.03万元,增幅为17.84%。