新浪财经

中国银行:2024年第一季度净利润559.89亿元 同比下降2.90%

中证网

关注

中证智能财讯 中国银行(601988)4月30日披露2024年一季报。2024年第一季度,公司实现营业总收入1608.18亿元,同比下降3.01%;归母净利润559.89亿元,同比下降2.90%;扣非净利润557.43亿元,同比下降3.18%;经营活动产生的现金流量净额为32.40亿元,同比下降99.34%;报告期内,中国银行基本每股收益为0.18元,加权平均净资产收益率为2.47%。

盈利能力方面, 2024年一季度公司加权平均净资产收益率为2.47%,同比下降0.32个百分点。

2024年第一季度,公司经营活动现金流净额为32.40亿元,同比下降99.34%;筹资活动现金流净额527.62亿元,同比增加1433.87亿元;投资活动现金流净额-1480.16亿元,上年同期为-1772.21亿元。

资产重大变化方面,截至2024年一季度末,公司货币资金较上年末减少5.19%,占公司总资产比重下降0.81个百分点;存放同业款项较上年末增加57.12%,占公司总资产比重上升0.79个百分点;债权投资合计较上年末减少1.78%,占公司总资产比重下降0.56个百分点;发放贷款和垫款较上年末增加4.57%,占公司总资产比重上升0.46个百分点。

负债重大变化方面,截至2024年一季度末,公司吸收存款及同业存款较上年末增加5.07%,占公司总资产比重上升0.96个百分点;向中央银行借款较上年末减少17.29%,占公司总资产比重下降0.77个百分点;应付债券较上年末增加5.57%,占公司总资产比重上升0.09个百分点;其他负债较上年末增加9.74%,占公司总资产比重上升0.12个百分点。

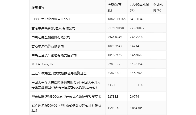
一季报显示,2024年一季度末公司十大流通股东中,新进股东为易方达沪深300交易型开放式指数发起式证券投资基金,取代了上年末的阿布达比投资局。在具体持股比例上,香港中央结算(代理人)有限公司、香港中央结算有限公司、上证50交易型开放式指数证券投资基金、华泰柏瑞沪深300交易型开放式指数证券投资基金持股有所上升。

筹码集中度方面,截至2024年一季度末,公司股东总户数为41.85万户(A股),较上年末下降了1.74万户,降幅3.99%;户均持股市值由上年末的194.36万元上升至220.99万元,增幅为13.70%。

加载中...