新浪财经

司太立:2024年第一季度净利润1228.25万元 同比增长28.37%

中证网

关注

中证智能财讯 司太立(603520)4月30日披露2024年一季报。2024年第一季度,公司实现营业总收入6.42亿元,同比增长13.50%;归母净利润1228.25万元,同比增长28.37%;扣非净利润983.10万元,同比增长31.85%;经营活动产生的现金流量净额为9209.04万元,上年同期为-4208.31万元;报告期内,司太立基本每股收益为0.04元,加权平均净资产收益率为0.70%。

2024年第一季度,公司毛利率为22.23%,同比上升1.71个百分点;净利率为1.96%,较上年同期上升0.31个百分点。

数据显示,2024年第一季度公司加权平均净资产收益率为0.70%,较上年同期增长0.16个百分点;公司2024年第一季度投入资本回报率为0.60%,较上年同期下降0.09个百分点。

2024年第一季度,公司经营活动现金流净额为9209.04万元,同比增加1.34亿元,主要系本期购买商品减少>,收到承兑票据保证金到期收回所致;筹资活动现金流净额1463.16万元,同比减少1.96亿元;投资活动现金流净额-9658.15万元,上年同期为-7227.62万元。

2024年第一季度,公司营业收入现金比为83.76%,净现比为749.77%。

资产重大变化方面,截至2024年一季度末,公司存货较上年末减少16.39%,占公司总资产比重下降2.88个百分点;应收账款较上年末增加28.73%,占公司总资产比重上升2.03个百分点;在建工程较上年末增加10.92%,占公司总资产比重上升1.18个百分点;应收款项融资较上年末减少39.15%,占公司总资产比重下降1.01个百分点。

负债重大变化方面,截至2024年一季度末,公司应付账款较上年末减少37.68%,占公司总资产比重下降2.42个百分点;应付票据较上年末减少71.21%,占公司总资产比重下降1.72个百分点;长期借款较上年末增加6.65%,占公司总资产比重上升1.33个百分点;一年内到期的非流动负债较上年末增加10.33%,占公司总资产比重上升1.17个百分点。

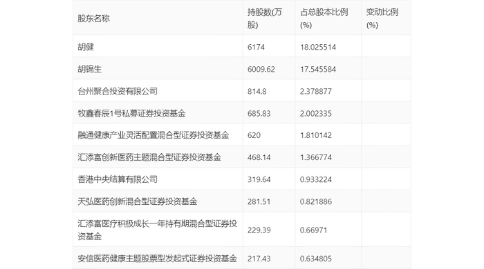
一季报显示,2024年一季度末公司十大流通股东中,新进股东为天弘医药创新混合型证券投资基金、汇添富医疗积极成长一年持有期混合型证券投资基金、安信医药健康主题股票型发起式证券投资基金,取代了上年末的易方达品质动能三年持有期混合型证券投资基金、华夏人寿保险股份有限公司-自有资金、融通鑫新成长混合型证券投资基金。在具体持股比例上,汇添富创新医药主题混合型证券投资基金持股有所上升,融通健康产业灵活配置混合型证券投资基金、香港中央结算有限公司持股有所下降。

筹码集中度方面,截至2024年一季度末,公司股东总户数为3.26万户,较上年末下降了388户,降幅1.18%;户均持股市值由上年末的14.62万元下降至12.65万元,降幅为13.47%。

加载中...