天娱数科:2024年第一季度净利润1330.66万元 同比增长30.09%
中证网
中证智能财讯 天娱数科(002354)4月30日披露2024年一季报。2024年第一季度,公司实现营业总收入3.70亿元,同比下降22.00%;归母净利润1330.66万元,同比增长30.09%;扣非净利润1466.85万元,同比扭亏;经营活动产生的现金流量净额为-3534.73万元,上年同期为1965.77万元;报告期内,天娱数科基本每股收益为0.008元,加权平均净资产收益率为0.88%。
2024年第一季度,公司毛利率为29.21%,同比上升11.55个百分点;净利率为5.35%,较上年同期上升2.24个百分点。
数据显示,2024年第一季度公司加权平均净资产收益率为0.88%,较上年同期增长0.45个百分点;公司2024年第一季度投入资本回报率为1.23%,较上年同期增长0.66个百分点。
2024年第一季度,公司经营活动现金流净额为-3534.73万元,同比减少5500.49万元;筹资活动现金流净额571.74万元,同比减少4824.83万元;投资活动现金流净额1589.25万元,上年同期为2347.46万元。
2024年第一季度,公司营业收入现金比为182.26%,净现比为-265.64%。
资产重大变化方面,截至2024年一季度末,公司应收账款较上年末增加20.09%,占公司总资产比重上升3.44个百分点;货币资金较上年末减少4.56%,占公司总资产比重下降1.27个百分点;固定资产较上年末减少12.09%,占公司总资产比重下降0.52个百分点;其他应收款(含利息和股利)较上年末减少20.35%,占公司总资产比重下降0.42个百分点。
负债重大变化方面,截至2024年一季度末,公司合同负债较上年末增加46.66%,占公司总资产比重上升1.00个百分点;应付职工薪酬较上年末减少38.28%,占公司总资产比重下降0.74个百分点;短期借款较上年末增加3670.38%,占公司总资产比重上升0.44个百分点;其他应付款(含利息和股利)较上年末减少8.46%,占公司总资产比重下降0.34个百分点。
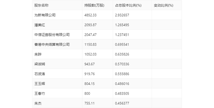
一季报显示,2024年一季度末公司十大流通股东中,新进股东为潘美红、梁淑娴、王春竹,取代了上年末的俞习文、雪松国际信托股份有限公司、朱晗飞。在具体持股比例上,香港中央结算有限公司持股有所上升,中信证券股份有限公司、朱杰持股有所下降。
筹码集中度方面,截至2024年一季度末,公司股东总户数为15.54万户,较上年末下降了531户,降幅0.34%;户均持股市值由上年末的5.86万元下降至5.15万元,降幅为12.12%。