共进股份:2023年净利润同比下降71.46% 拟10派1.27元
中证网
中证智能财讯 共进股份(603118)4月29日披露2023年年报。2023年,公司实现营业总收入85.30亿元,同比下降22.27%;归母净利润6471.61万元,同比下降71.46%;扣非净利润亏损236.72万元,上年同期盈利1.73亿元;经营活动产生的现金流量净额为8.61亿元,同比增长132.84%;报告期内,共进股份基本每股收益为0.08元,加权平均净资产收益率为1.26%。公司2023年年度利润分配预案为:拟向全体股东每10股派1.27元(含税)。
以4月26日收盘价计算,共进股份目前市盈率(TTM)约为99.55倍,市净率(LF)约为1.25倍,市销率(TTM)约为0.76倍。
公司近年市盈率(TTM)、市净率(LF)、市销率(TTM)历史分位图如下所示:
数据统计显示,共进股份近三年营业总收入复合增长率为-1.19%,在通信终端及配件行业已披露2023年数据的25家公司中排名第19。近三年净利润复合年增长率为-42.85%,排名21/25。
资料显示,公司深耕信息与通信领域,聚焦于宽带通信终端设备、移动通信和通信应用设备等的研发、生产和销售。
分产品来看,2023年公司主营业务中,网通业务-PON系列收入34.19亿元,同比下降14.87%,占营业收入的40.09%;网通业务-AP系列收入21.66亿元,同比下降23.73%,占营业收入的25.39%;数通业务收入10.03亿元,同比下降44.46%,占营业收入的11.76%。
截至2023年末,公司员工总数为6678人,人均创收127.73万元,人均创利0.97万元,人均薪酬15.28万元,较上年同期分别变化-14.43%、-68.58%、2.60%。
2023年,公司毛利率为13.21%,同比下降0.40个百分点;净利率为0.58%,较上年同期下降1.48个百分点。从单季度指标来看,2023年第四季度公司毛利率为16.19%,同比下降0.62个百分点,环比上升5.51个百分点;净利率为-6.40%,较上年同期下降2.13个百分点,较上一季度下降5.23个百分点。
分产品看,网通业务-PON系列、网通业务-AP系列、数通业务2023年毛利率分别为10.85%、10.84%、12.91%。
报告期内,公司前五大客户合计销售金额49.32亿元,占总销售金额比例为57.82%,公司前五名供应商合计采购金额23.88亿元,占年度采购总额比例为32.54%。
数据显示,2023年公司加权平均净资产收益率为1.26%,较上年同期下降3.23个百分点;公司2023年投入资本回报率为0.80%,较上年同期下降2.32个百分点。
2023年,公司经营活动现金流净额为8.61亿元,同比增长132.84%,主要系本报告期购买商品支付的现金减少所致;筹资活动现金流净额6.67亿元,同比增加3.70亿元,主要系本报告期银行借款与偿还借款净额增加所致;投资活动现金流净额-7.45亿元,上年同期为1.16亿元,主要系本报告期购买银行理财产品收回投资与投资支付净额减少所致。
进一步统计发现,2023年公司自由现金流为8.59亿元,相比上年同期增长39.59%。
2023年,公司营业收入现金比为115.81%,净现比为1330.11%。
营运能力方面,2023年,公司公司总资产周转率为0.82次,上年同期为1.08次(2022年行业平均值为0.63次,公司位居同行业4/29);固定资产周转率为3.56次,上年同期为4.94次(2022年行业平均值为6.80次,公司位居同行业20/29);公司应收账款周转率、存货周转率分别为4.26次、5.38次。
2023年,公司期间费用为8.64亿元,较上年同期减少3620.72万元;但期间费用率为10.13%,较上年同期上升1.93个百分点。其中,销售费用同比下降20.3%,管理费用同比下降1.32%,研发费用同比下降18.12%,财务费用由去年同期的-7337.32万元变为1521.15万元。
资产重大变化方面,截至2023年年末,公司货币资金较上年末增加53.77%,占公司总资产比重上升8.76个百分点;应收账款较上年末减少28.36%,占公司总资产比重下降5.78个百分点;其他流动资产较上年末减少38.83%,占公司总资产比重下降4.24个百分点;存货较上年末减少15.99%,占公司总资产比重下降1.90个百分点。
负债重大变化方面,截至2023年年末,公司应付账款较上年末减少23.35%,占公司总资产比重下降4.58个百分点;应付票据较上年末增加49.12%,占公司总资产比重上升4.62个百分点;短期借款较上年末减少21.89%,占公司总资产比重下降3.25个百分点;长期借款较上年末增加1119.23%,占公司总资产比重上升2.99个百分点。
从存货变动来看,截至2023年年末,公司存货账面价值为12.57亿元,占净资产的24.46%,较上年末减少2.39亿元。其中,存货跌价准备为4131.66万元,计提比例为3.18%。
2023年全年,公司研发投入金额为3.62亿元,同比下降19.07%;研发投入占营业收入比例为4.25%,相比上年同期上升0.17个百分点。此外,公司全年研发投入资本化率为0。
资料显示,并于2023年制定《共进电子2024—2026年科技发展大纲》,升级智能制造研究院,设立新产品发展部,全面加快公司高科发展的步伐。2023年研发费用为3.62亿元,占营业收入的4.25%,研发人员1112人,占公司总人数的16.65%。截至报告期末,公司及下属子公司共拥有专利数量1514项,其中发明专利562件,实用新型专利744件,外观设计专利208件;拥有计算机软件著作权132项,均为自主研发取得。
在偿债能力方面,公司2023年年末资产负债率为49.74%,相比上年末下降1.37个百分点;有息资产负债率为16.71%,相比上年末下降0.26个百分点。
2023年,公司流动比率为1.39,速动比率为1.13。
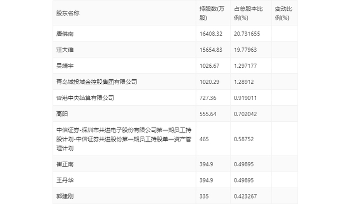
年报显示,2023年年末公司十大流通股东中,新进股东为高阳、崔正南、王丹华、郭建刚,取代了三季度末的张琳、万金安、王兆英、易方达科讯混合型证券投资基金。在具体持股比例上,唐佛南、汪大维、吴靖宇、青岛城投城金控股集团有限公司、香港中央结算有限公司、中信证券-深圳市共进电子股份有限公司第一期员工持股计划-中信证券共进股份第一期员工持股单一资产管理计划持股有所下降。
筹码集中度方面,截至2023年年末,公司股东总户数为5.84万户,较三季度末增长了1886户,增幅3.34%;户均持股市值由三季度末的16.43万元下降至12.15万元,降幅为26.05%。
指标注解:
市盈率
=总市值/净利润。当公司亏损时市盈率为负,此时用市盈率估值没有实际意义,往往用市净率或市销率做参考。
市净率
=总市值/净资产。市净率估值法多用于盈利波动较大而净资产相对稳定的公司。
市销率
=总市值/营业收入。市销率估值法通常用于亏损或微利的成长型公司。
文中市盈率和市销率采用TTM方式,即以截至最近一期财报(含预报)12个月的数据计算。市净率采用LF方式,即以最近一期财报数据计算。
市盈率为负时,不显示当期分位数,会导致折线图中断。