新浪财经

纳思达:2023年亏损61.85亿元

中证网

关注

中证智能财讯 纳思达(002180)4月27日披露2023年年报。2023年,公司实现营业总收入240.62亿元,同比下降6.94%;归母净利润亏损61.85亿元,上年同期盈利18.63亿元;扣非净利润亏损62.97亿元,上年同期盈利16.71亿元;经营活动产生的现金流量净额为28.69亿元,同比增长154.05%;报告期内,纳思达基本每股收益为-4.395元,加权平均净资产收益率为-48.99%。

以4月26日收盘价计算,纳思达目前市盈率(TTM)约为-5.48倍,市净率(LF)约为3.58倍,市销率(TTM)约为1.41倍。

公司近年市盈率(TTM)、市净率(LF)、市销率(TTM)历史分位图如下所示:

数据统计显示,纳思达近三年营业总收入复合增长率为4.45%,在其他计算机设备行业已披露2023年数据的53家公司中排名第23。近三年净利润复合年增长率为-449.26%,排名53/53。

分产品来看,2023年公司主营业务中,原装打印机及耗材收入177.69亿元,同比下降2.88%,占营业收入的73.85%;通用耗材及配件收入44.80亿元,同比下降19.66%,占营业收入的18.62%;芯片收入8.74亿元,同比下降26.20%,占营业收入的3.63%。

2023年,公司毛利率为31.66%,同比下降0.95个百分点;净利率为-36.99%,较上年同期下降44.93个百分点。从单季度指标来看,2023年第四季度公司毛利率为31.03%,同比下降0.55个百分点,环比上升0.47个百分点;净利率为-147.55%,较上年同期下降151.54个百分点,较上一季度下降143.85个百分点。

分产品看,原装打印机及耗材、通用耗材及配件、芯片2023年毛利率分别为30.43%、31.54%、56.62%。

报告期内,公司前五大客户合计销售金额7.53亿元,占总销售金额比例为3.13%,公司前五名供应商合计采购金额50.99亿元,占年度采购总额比例为28.07%。

数据显示,2023年公司加权平均净资产收益率为-48.99%,较上年同期下降61.27个百分点;公司2023年投入资本回报率为-29.88%,较上年同期下降37.91个百分点。

2023年,公司经营活动现金流净额为28.69亿元,同比增长154.05%;筹资活动现金流净额-12.53亿元,同比增加14.92亿元;投资活动现金流净额-19.79亿元,上年同期为-6.33亿元。

进一步统计发现,2023年公司自由现金流为-93.38亿元,上年同期为7.40亿元。

2023年,公司营业收入现金比为106.10%,净现比为-46.38%。

营运能力方面,2023年,公司公司总资产周转率为0.57次,上年同期为0.58次(2022年行业平均值为0.40次,公司位居同行业15/62);固定资产周转率为7.93次,上年同期为9.03次(2022年行业平均值为8.88次,公司位居同行业23/62);公司应收账款周转率、存货周转率分别为6.39次、2.79次。

2023年,公司期间费用为74.19亿元,较上年同期增加16.56亿元;期间费用率为30.83%,较上年同期上升8.54个百分点。其中,销售费用同比增长2.38%,管理费用同比增长15.22%,研发费用同比增长2.1%,财务费用由去年同期的-3.59亿元变为8.93亿元。

资产重大变化方面,截至2023年年末,公司商誉较上年末减少60.86%,占公司总资产比重下降15.08个百分点;使用权资产较上年末增加237.57%,占公司总资产比重上升3.65个百分点;存货较上年末减少0.69%,占公司总资产比重上升2.49个百分点;货币资金较上年末减少5.76%,占公司总资产比重上升2.27个百分点。

负债重大变化方面,截至2023年年末,公司长期借款较上年末增加31.49%,占公司总资产比重上升10.69个百分点,主要系银行长期贷款增加导致;长期应付款合计较上年末减少98.19%,占公司总资产比重下降2.94个百分点;租赁负债较上年末增加358.93%,占公司总资产比重上升3.49个百分点;短期借款较上年末减少31.20%,占公司总资产比重下降0.65个百分点,主要系银行短期贷款归还导致。

从存货变动来看,截至2023年年末,公司存货账面价值为58.71亿元,占净资产的61.89%,较上年末减少4099.41万元。其中,存货跌价准备为5.89亿元,计提比例为9.12%。

2023年全年,公司研发投入金额为17.51亿元,同比增长2.10%;研发投入占营业收入比例为7.28%,相比上年同期上升0.65个百分点。此外,公司全年研发投入资本化率为17.30%。

年报称,截至2023年12月31日,公司拥有自主研发的已取得专利权的专利5862项(其中,发明专利3500项,实用新型专利1823项,外观设计专利539项),软件著作权与集成电路布图设计241项。同时,另有1842项专利申请正在审查过程中。

2023年,纳思达的商誉达到51.30亿元,相当于同期公司净资产94.88亿元的54.08%。

在偿债能力方面,公司2023年年末资产负债率为74.60%,相比上年末上升15.33个百分点;有息资产负债率为36.27%,相比上年末上升11.25个百分点。

2023年,公司流动比率为1.70,速动比率为1.20。

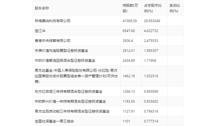
年报显示,2023年年末公司十大流通股东中,新进股东为中欧新兴价值一年持有期混合型证券投资基金、全国社保基金一零三组合,取代了三季度末的东方红启东三年持有期混合型证券投资基金、易方达新经济灵活配置混合型证券投资基金。在具体持股比例上,中庚价值先锋股票型证券投资基金持股有所上升,珠海赛纳科技有限公司、庞江华、香港中央结算有限公司、中欧价值智选回报混合型证券投资基金、易方达基金-中国人寿保险股份有限公司-分红险-易方达国寿股份成长股票型组合单一资产管理计划(可供出售)、东方红启恒三年持有期混合型证券投资基金、易方达品质动能三年持有期混合型证券投资基金持股有所下降。

筹码集中度方面,截至2023年年末,公司股东总户数为3.4万户,较三季度末增长了1164户,增幅3.54%;户均持股市值由三季度末的111.42万元下降至94.18万元,降幅为15.47%。

指标注解:

市盈率

=总市值/净利润。当公司亏损时市盈率为负,此时用市盈率估值没有实际意义,往往用市净率或市销率做参考。

市净率

=总市值/净资产。市净率估值法多用于盈利波动较大而净资产相对稳定的公司。

市销率

=总市值/营业收入。市销率估值法通常用于亏损或微利的成长型公司。

文中市盈率和市销率采用TTM方式,即以截至最近一期财报(含预报)12个月的数据计算。市净率采用LF方式,即以最近一期财报数据计算。

市盈率为负时,不显示当期分位数,会导致折线图中断。

加载中...