新浪财经

物产中大:2023年净利润同比下降7.85% 拟10派2.1元

中证网

关注

中证智能财讯 物产中大(600704)4月27日披露2023年年报。2023年,公司实现营业总收入5801.61亿元,同比增长0.63%;归母净利润36.17亿元,同比下降7.85%;扣非净利润30.34亿元,同比下降3.06%;经营活动产生的现金流量净额为4.03亿元,上年同期为-21.41亿元;报告期内,物产中大基本每股收益为0.68元,加权平均净资产收益率为10.62%。公司2023年年度利润分配预案为:拟向全体股东每10股派2.1元(含税)。

以4月26日收盘价计算,物产中大目前市盈率(TTM)约为6.62倍,市净率(LF)约为0.65倍,市销率(TTM)约为0.04倍。

公司近年市盈率(TTM)、市净率(LF)、市销率(TTM)历史分位图如下所示:

数据统计显示,物产中大近三年营业总收入复合增长率为12.82%,在原材料供应链服务行业已披露2023年数据的11家公司中排名第6。近三年净利润复合年增长率为9.62%,排名4/11。

分产品来看,2023年公司主营业务中,供应链集成服务收入5411.68亿元,同比下降0.47%,占营业收入的93.28%;高端制造收入225.20亿元,占营业收入的3.88%;金融服务收入106.58亿元,同比增长32.77%,占营业收入的1.84%。

2023年,公司毛利率为2.64%,同比上升0.24个百分点;净利率为0.98%,较上年同期下降0.07个百分点。从单季度指标来看,2023年第四季度公司毛利率为2.85%,同比上升0.28个百分点,环比上升0.29个百分点;净利率为0.94%,较上年同期上升0.13个百分点,较上一季度上升0.02个百分点。

分产品看,供应链集成服务、高端制造、金融服务2023年毛利率分别为1.69%、16.83%、12.33%。

报告期内,公司前五大客户合计销售金额279.13亿元,占总销售金额比例为4.81%,公司前五名供应商合计采购金额384.32亿元,占年度采购总额比例为6.80%。

数据显示,2023年公司加权平均净资产收益率为10.62%,较上年同期下降2.12个百分点;公司2023年投入资本回报率为7.48%,较上年同期下降2.24个百分点。

2023年,公司经营活动现金流净额为4.03亿元,同比增加25.44亿元;筹资活动现金流净额98.42亿元,同比增加116.61亿元;投资活动现金流净额-100.21亿元,上年同期为-4.66亿元。

进一步统计发现,2023年公司自由现金流为-7.61亿元,上年同期为-38.45亿元。

2023年,公司营业收入现金比为118.08%,净现比为11.15%。

营运能力方面,2023年,公司公司总资产周转率为3.73次,上年同期为4.20次(2022年行业平均值为2.85次,公司位居同行业6/11);固定资产周转率为44.29次,上年同期为57.49次(2022年行业平均值为132.95次,公司位居同行业7/11);公司应收账款周转率、存货周转率分别为38.16次、15.54次。

2023年,公司期间费用为85.66亿元,较上年同期增加6.42亿元;期间费用率为1.48%,较上年同期上升0.11个百分点。其中,销售费用同比增长0.45%,管理费用同比增长8.69%,研发费用同比增长41.49%,财务费用同比增长2.36%。

资产重大变化方面,截至2023年年末,公司其他非流动资产较上年末增加758.77%,占公司总资产比重上升3.46个百分点;货币资金较上年末减少2.06%,占公司总资产比重下降2.18个百分点;固定资产较上年末增加36.97%,占公司总资产比重上升1.50个百分点;存货较上年末增加7.88%,占公司总资产比重下降1.37个百分点。

负债重大变化方面,截至2023年年末,公司短期借款较上年末增加60.45%,占公司总资产比重上升4.74个百分点,主要系本期资金需求增加;应付债券较上年末增加29.53%,占公司总资产比重上升0.62个百分点;一年内到期的非流动负债较上年末增加144.16%,占公司总资产比重上升0.74个百分点;其他流动负债较上年末增加9.05%,占公司总资产比重下降0.33个百分点。

从存货变动来看,截至2023年年末,公司存货账面价值为377.36亿元,占净资产的102.64%,较上年末增加27.58亿元。其中,存货跌价准备为13.89亿元,计提比例为3.55%。

2023年全年,公司研发投入金额为10.67亿元,同比增长31.64%;研发投入占营业收入比例为0.18%,相比上年同期上升0.04个百分点。此外,公司全年研发投入资本化率为2.66%。

在偿债能力方面,公司2023年年末资产负债率为69.10%,相比上年末上升0.76个百分点;有息资产负债率为25.31%,相比上年末上升6.37个百分点。

2023年,公司流动比率为1.10,速动比率为0.72。

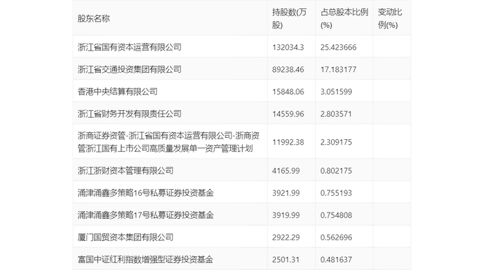
年报显示,2023年年末公司十大流通股东中,新进股东为浙商证券资管-浙江省国有资本运营有限公司-浙商资管浙江国有上市公司高质量发展单一资产管理计划、富国中证红利指数增强型证券投资基金,取代了三季度末的中证500交易型开放式指数证券投资基金、上海上国投资产管理有限公司。在具体持股比例上,香港中央结算有限公司持股有所下降。

筹码集中度方面,截至2023年年末,公司股东总户数为10.33万户,较三季度末下降了3307户,降幅3.10%;户均持股市值由三季度末的23.10万元下降至22.28万元,降幅为3.55%。

指标注解:

市盈率

=总市值/净利润。当公司亏损时市盈率为负,此时用市盈率估值没有实际意义,往往用市净率或市销率做参考。

市净率

=总市值/净资产。市净率估值法多用于盈利波动较大而净资产相对稳定的公司。

市销率

=总市值/营业收入。市销率估值法通常用于亏损或微利的成长型公司。

文中市盈率和市销率采用TTM方式,即以截至最近一期财报(含预报)12个月的数据计算。市净率采用LF方式,即以最近一期财报数据计算。

市盈率为负时,不显示当期分位数,会导致折线图中断。

加载中...