新浪财经

润达医疗:2023年净利润同比下降34.88% 拟10派1元

中证网

关注

中证智能财讯 润达医疗(603108)4月27日披露2023年年报。2023年,公司实现营业总收入91.47亿元,同比下降12.84%;归母净利润2.73亿元,同比下降34.88%;扣非净利润1.49亿元,同比下降62.16%;经营活动产生的现金流量净额为7.30亿元,上年同期为-4.29亿元;报告期内,润达医疗基本每股收益为0.47元,加权平均净资产收益率为6.84%。公司2023年年度利润分配预案为:拟向全体股东每10股派1元(含税)。

以4月26日收盘价计算,润达医疗目前市盈率(TTM)约为40.67倍,市净率(LF)约为2.6倍,市销率(TTM)约为1.22倍。

公司近年市盈率(TTM)、市净率(LF)、市销率(TTM)历史分位图如下所示:

数据统计显示,润达医疗近三年营业总收入复合增长率为8.97%,在医药流通行业已披露2023年数据的21家公司中排名第10。近三年净利润复合年增长率为-6.09%,排名13/21。

年报称,公司主营业务包括两大板块:综合服务板块(IVD传统供应链业务、集约化业务/区域检验中心业务、第三方实验室检测业务)和工业板块(IVD产品研发生产业务、数字化检验信息系统业务)。

分产品来看,2023年公司主营业务中,仪器收入4.47亿元,同比下降29.17%,占营业收入的4.89%;软件开发及服务收入1.32亿元,同比增长10.43%,占营业收入的1.44%。

截至2023年末,公司员工总数为3315人,人均创收275.94万元,人均创利8.24万元,人均薪酬22.70万元,较上年同期分别下降8.00%、30.95%、9.43%。

2023年,公司毛利率为26.58%,同比下降1.41个百分点;净利率为4.84%,较上年同期下降1.40个百分点。从单季度指标来看,2023年第四季度公司毛利率为28.85%,同比下降4.05个百分点,环比上升5.21个百分点;净利率为1.28%,较上年同期下降3.88个百分点,较上一季度下降5.15个百分点。

分产品看,仪器、软件开发及服务2023年毛利率分别为9.75%、66.63%。

报告期内,公司前五大客户合计销售金额12.09亿元,占总销售金额比例为13.22%,公司前五名供应商合计采购金额26.82亿元,占年度采购总额比例为40.52%。

数据显示,2023年公司加权平均净资产收益率为6.84%,较上年同期下降4.53个百分点;公司2023年投入资本回报率为5.44%,较上年同期下降2.78个百分点。

2023年,公司经营活动现金流净额为7.30亿元,同比增加11.59亿元;筹资活动现金流净额-3.31亿元,同比减少8.19亿元;投资活动现金流净额-2.27亿元,上年同期为-3.23亿元。

进一步统计发现,2023年公司自由现金流为6.83亿元,上年同期为-6.01亿元。

2023年,公司营业收入现金比为118.80%,净现比为267.01%。

营运能力方面,2023年,公司公司总资产周转率为0.63次,上年同期为0.79次(2022年行业平均值为1.15次,公司位居同行业19/24);固定资产周转率为9.05次,上年同期为10.83次(2022年行业平均值为23.38次,公司位居同行业20/24);公司应收账款周转率、存货周转率分别为1.60次、4.49次。

2023年,公司期间费用为18.89亿元,较上年同期减少1.59亿元;但期间费用率为20.65%,较上年同期上升1.14个百分点。其中,销售费用同比下降11.59%,管理费用同比下降6.0%,研发费用同比增长0.63%,财务费用同比下降2.14%。

资产重大变化方面,截至2023年年末,公司应收账款较上年末减少6.44%,占公司总资产比重下降2.07个百分点;存货较上年末减少14.79%,占公司总资产比重下降1.51个百分点;预付款项较上年末增加20.78%,占公司总资产比重上升1.26个百分点;固定资产较上年末增加10.12%,占公司总资产比重上升0.77个百分点。

负债重大变化方面,截至2023年年末,公司短期借款较上年末减少9.65%,占公司总资产比重下降2.99个百分点;应付账款较上年末减少16.99%,占公司总资产比重下降1.83个百分点;长期借款较上年末增加48.32%,占公司总资产比重上升1.18个百分点;应付债券较上年末增加23.86%,占公司总资产比重上升0.86个百分点。

从存货变动来看,截至2023年年末,公司存货账面价值为13.77亿元,占净资产的32.17%,较上年末减少2.39亿元。其中,存货跌价准备为1689.88万元,计提比例为1.21%。

2023年全年,公司研发投入金额为1.47亿元,同比增长0.63%;研发投入占营业收入比例为1.61%,相比上年同期上升0.22个百分点。此外,公司全年研发投入资本化率为0。

2023年,润达医疗的商誉达到20.12亿元,相当于同期公司净资产42.80亿元的47.00%。

在偿债能力方面,公司2023年年末资产负债率为61.93%,相比上年末下降3.56个百分点;有息资产负债率为46.07%,相比上年末下降0.47个百分点。

2023年,公司流动比率为1.25,速动比率为1.06。

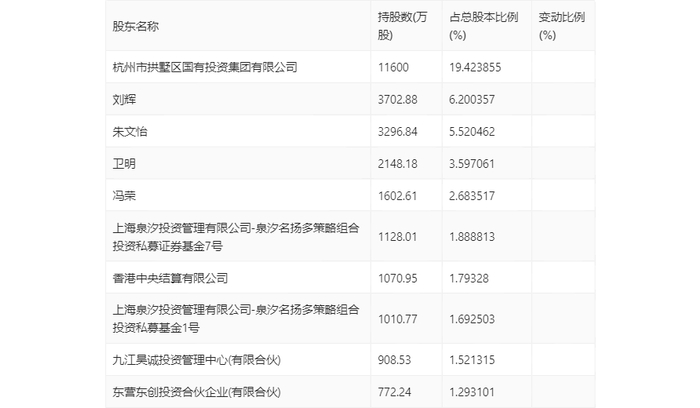
年报显示,2023年年末公司十大流通股东中,新进股东为上海泉汐投资管理有限公司-泉汐名扬多策略组合投资私募证券基金7号、上海泉汐投资管理有限公司-泉汐名扬多策略组合投资私募基金1号,取代了三季度末的太平人寿保险有限公司-传统-普通保险产品-022L-CT001沪、博恩添富7号私募证券投资基金。在具体持股比例上,香港中央结算有限公司持股有所上升,杭州市拱墅区国有投资集团有限公司、刘辉、朱文怡、卫明、冯荣、九江昊诚投资管理中心(有限合伙)、东营东创投资合伙企业(有限合伙)持股有所下降。

筹码集中度方面,截至2023年年末,公司股东总户数为4.11万户,较三季度末增长了6189户,增幅17.72%;户均持股市值由三季度末的24.66万元上升至29.55万元,增幅为19.83%。

指标注解:

市盈率

=总市值/净利润。当公司亏损时市盈率为负,此时用市盈率估值没有实际意义,往往用市净率或市销率做参考。

市净率

=总市值/净资产。市净率估值法多用于盈利波动较大而净资产相对稳定的公司。

市销率

=总市值/营业收入。市销率估值法通常用于亏损或微利的成长型公司。

文中市盈率和市销率采用TTM方式,即以截至最近一期财报(含预报)12个月的数据计算。市净率采用LF方式,即以最近一期财报数据计算。

市盈率为负时,不显示当期分位数,会导致折线图中断。

加载中...