新浪财经

明泰铝业:2024年第一季度净利润3.62亿元 同比增长2.35%

中证网

关注

中证智能财讯 明泰铝业(601677)4月27日披露2024年一季报。2024年第一季度,公司实现营业总收入71.85亿元,同比增长17.92%;归母净利润3.62亿元,同比增长2.35%;扣非净利润2.67亿元,同比下降3.39%;经营活动产生的现金流量净额为-5.69亿元,上年同期为-5.69亿元;报告期内,明泰铝业基本每股收益为0.3元,加权平均净资产收益率为2.92%。

2024年第一季度,公司毛利率为11.04%,同比下降1.42个百分点;净利率为5.05%,较上年同期下降0.76个百分点。

数据显示,2024年第一季度公司加权平均净资产收益率为2.92%,较上年同期增长0.06个百分点;公司2024年第一季度投入资本回报率为2.03%,较上年同期下降0.51个百分点。

2024年第一季度,公司经营活动现金流净额为-5.69亿元,同比增加22.05万元;筹资活动现金流净额1.85亿元,同比增加3.17亿元;投资活动现金流净额-9.45亿元,上年同期为4.74亿元。

2024年第一季度,公司营业收入现金比为77.73%,净现比为-157.21%。

资产重大变化方面,截至2024年一季度末,公司货币资金较上年末减少42.29%,占公司总资产比重下降6.42个百分点;应收账款较上年末增加85.83%,占公司总资产比重上升4.77个百分点;交易性金融资产较上年末增加38.21%,占公司总资产比重上升1.64个百分点;固定资产较上年末减少2.44%,占公司总资产比重下降1.43个百分点。

负债重大变化方面,截至2024年一季度末,公司递延所得税负债较上年末增加172.24%,占公司总资产比重上升0.72个百分点;应付票据较上年末增加6.50%,占公司总资产比重上升0.29个百分点;短期借款较上年末减少26.29%,占公司总资产比重下降0.61个百分点;其他流动负债较上年末增加12.11%,占公司总资产比重上升0.31个百分点。

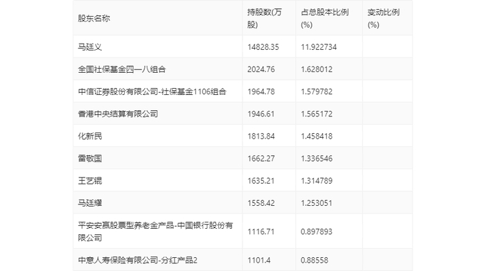
一季报显示,2024年一季度末公司十大流通股东中,新进股东为平安安赢股票型养老金产品-中国银行股份有限公司,取代了上年末的李可伟。在具体持股比例上,全国社保基金四一八组合、中信证券股份有限公司-社保基金1106组合、香港中央结算有限公司持股有所上升,马廷义、化新民、雷敬国、王艺锟、马廷耀、中意人寿保险有限公司-分红产品2持股有所下降。

筹码集中度方面,截至2024年一季度末,公司股东总户数为5.59万户,较上年末下降了2384户,降幅4.09%;户均持股市值由上年末的23.20万元上升至25.08万元,增幅为8.10%。

加载中...