新浪财经

山东黄金:2024年第一季度净利润7亿元 同比增长59.48%

中证网

关注

中证智能财讯 山东黄金(600547)4月27日披露2024年一季报。2024年第一季度,公司实现营业总收入189.57亿元,同比增长44.73%;归母净利润7.00亿元,同比增长59.48%;扣非净利润7.10亿元,同比增长61.53%;经营活动产生的现金流量净额为17.34亿元,同比增长185.93%;报告期内,山东黄金基本每股收益为0.13元,加权平均净资产收益率为2.56%。

2024年第一季度,公司毛利率为14.56%,同比上升0.07个百分点;净利率为5.57%,较上年同期上升1.72个百分点。

数据显示,2024年第一季度公司加权平均净资产收益率为2.56%,较上年同期增长1.12个百分点;公司2024年第一季度投入资本回报率为1.22%,较上年同期增长0.18个百分点。

2024年第一季度,公司经营活动现金流净额为17.34亿元,同比增长185.93%,主要系本期购销业务产生的现金净流入同比增加所致;筹资活动现金流净额52.53亿元,同比增加30.30亿元,主要系本期公司银行借款及黄金租赁同比增加所致;投资活动现金流净额-48.95亿元,上年同期为-48.2亿元。

2024年第一季度,公司营业收入现金比为169.42%,净现比为247.81%。

资产重大变化方面,截至2024年一季度末,公司固定资产较上年末减少1.51%,占公司总资产比重下降2.25个百分点;其他非流动资产较上年末增加135.45%,占公司总资产比重上升1.59个百分点;在建工程较上年末增加30.96%,占公司总资产比重上升1.46个百分点;无形资产较上年末增加0.17%,占公司总资产比重下降1.36个百分点。

负债重大变化方面,截至2024年一季度末,公司短期借款较上年末增加13.50%,占公司总资产比重上升1.04个百分点;一年内到期的非流动负债较上年末减少16.04%,占公司总资产比重下降1.04个百分点;长期借款较上年末增加4.34%,占公司总资产比重下降0.29个百分点;其他流动负债较上年末增加47.92%,占公司总资产比重上升0.43个百分点。

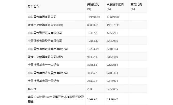
一季报显示,2024年一季度末公司十大流通股东中,新进股东为华泰柏瑞沪深300交易型开放式指数证券投资基金,取代了上年末的华泰柏瑞富利灵活配置混合型证券投资基金。在具体持股比例上,香港中央结算有限公司(H股)持股有所上升,山东黄金有色矿业集团有限公司、香港中央结算有限公司(A股)、全国社保基金一一二组合、全国社保基金四一四组合、郭宏伟持股有所下降。

加载中...