新浪财经

海天味业:2024年第一季度净利润19.19亿元 同比增长11.85%

中证网

关注

中证智能财讯 海天味业(603288)4月27日披露2024年一季报。2024年第一季度,公司实现营业总收入76.94亿元,同比增长10.21%;归母净利润19.19亿元,同比增长11.85%;扣非净利润18.60亿元,同比增长13.34%;经营活动产生的现金流量净额为-5.54亿元,上年同期为10.63亿元;报告期内,海天味业基本每股收益为0.35元,加权平均净资产收益率为6.54%。

2024年第一季度,公司毛利率为37.31%,同比上升0.38个百分点;净利率为25.06%,较上年同期上升0.37个百分点。

数据显示,2024年第一季度公司加权平均净资产收益率为6.54%,较上年同期增长0.25个百分点;公司2024年第一季度投入资本回报率为6.03%,较上年同期增长0.20个百分点。

2024年第一季度,公司经营活动现金流净额为-5.54亿元,同比减少16.18亿元,主要系本期预收货款减少、应付账款结算增加等综合影响所致;筹资活动现金流净额-6407.67万元,同比减少7366.99万元;投资活动现金流净额-1.34亿元,上年同期为3.89亿元。

2024年第一季度,公司营业收入现金比为75.73%,净现比为-28.89%。

资产重大变化方面,截至2024年一季度末,公司存货较上年末减少23.65%,占公司总资产比重下降1.42个百分点;交易性金融资产较上年末增加2.75%,占公司总资产比重上升1.02个百分点;固定资产较上年末增加1.90%,占公司总资产比重上升0.69个百分点;其他应收款(含利息和股利)较上年末减少56.32%,占公司总资产比重下降0.26个百分点。

负债重大变化方面,截至2024年一季度末,公司合同负债较上年末减少58.93%,占公司总资产比重下降6.75个百分点;应付账款较上年末减少24.77%,占公司总资产比重下降0.80个百分点;其他流动负债较上年末减少80.99%,占公司总资产比重下降0.89个百分点;短期借款较上年末增加56.96%,占公司总资产比重上升0.60个百分点。

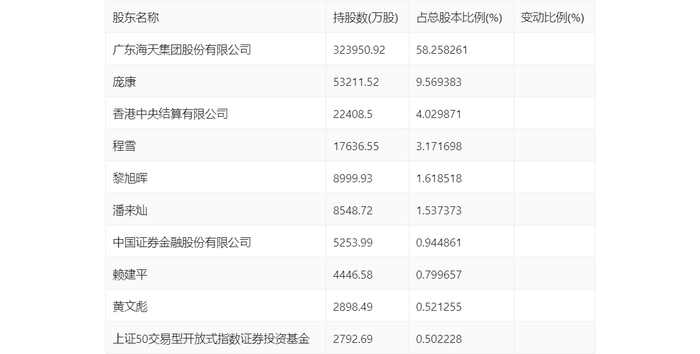
一季报显示,2024年一季度末公司十大流通股东中,新进股东为上证50交易型开放式指数证券投资基金,取代了上年末的吴振兴。在具体持股比例上,香港中央结算有限公司持股有所上升。

筹码集中度方面,截至2024年一季度末,公司股东总户数为20.88万户,较上年末下降了1.94万户,降幅8.51%;户均持股市值由上年末的92.49万元上升至104.98万元,增幅为13.50%。

加载中...