新浪财经

中国核电:2024年第一季度净利润30.59亿元 同比增长1.18%

中证网

关注

中证智能财讯 中国核电(601985)4月27日披露2024年一季报。2024年第一季度,公司实现营业总收入179.88亿元,同比增长0.53%;归母净利润30.59亿元,同比增长1.18%;扣非净利润30.44亿元,同比增长0.85%;经营活动产生的现金流量净额为94.83亿元,同比下降1.06%;报告期内,中国核电基本每股收益为0.162元,加权平均净资产收益率为3.34%。

2024年第一季度,公司毛利率为49.17%,同比下降0.68个百分点;净利率为31.38%,较上年同期上升1.18个百分点。

数据显示,2024年第一季度公司加权平均净资产收益率为3.34%,较上年同期下降0.18个百分点;公司2024年第一季度投入资本回报率为1.43%,较上年同期下降0.22个百分点。

2024年第一季度,公司经营活动现金流净额为94.83亿元,同比下降1.06%,主要系发电收到售电款增加低于购买商品、接受劳务和支付税费现金流增加所致;筹资活动现金流净额159.28亿元,同比增加92.25亿元;投资活动现金流净额-173.60亿元,上年同期为-121.69亿元。

2024年第一季度,公司营业收入现金比为114.75%,净现比为310.02%。

资产重大变化方面,截至2024年一季度末,公司固定资产较上年末增加0.46%,占公司总资产比重下降2.17个百分点;货币资金较上年末增加82.82%,占公司总资产比重上升1.35个百分点;在建工程较上年末增加9.36%,占公司总资产比重上升1.21个百分点;存货较上年末减少1.37%,占公司总资产比重下降0.29个百分点。

负债重大变化方面,截至2024年一季度末,公司长期借款较上年末增加6.67%,占公司总资产比重上升0.77个百分点;长期应付款合计较上年末增加24.40%,占公司总资产比重上升0.52个百分点;应付账款较上年末增加11.64%,占公司总资产比重上升0.24个百分点;应交税费较上年末减少39.87%,占公司总资产比重下降0.34个百分点。

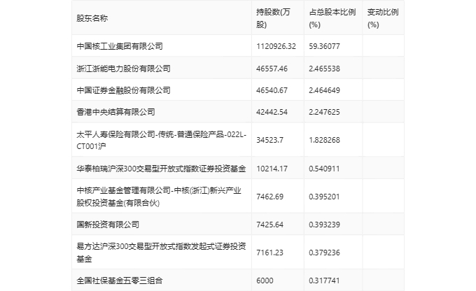
一季报显示,2024年一季度末公司十大流通股东中,新进股东为易方达沪深300交易型开放式指数发起式证券投资基金,取代了上年末的银华富裕主题混合型证券投资基金。在具体持股比例上,中国核工业集团有限公司、香港中央结算有限公司、华泰柏瑞沪深300交易型开放式指数证券投资基金、全国社保基金五零三组合持股有所上升,国新投资有限公司持股有所下降。

筹码集中度方面,截至2024年一季度末,公司股东总户数为29.1万户,较上年末增长了305户,增幅0.10%;户均持股市值由上年末的48.73万元上升至59.64万元,增幅为22.39%。

加载中...