新浪财经

中国稀土:2024年第一季度亏损2.89亿元

中证网

关注

中证智能财讯 中国稀土(000831)4月27日披露2024年一季报。2024年第一季度,公司实现营业总收入3.02亿元,同比下降81.94%;归母净利润亏损2.89亿元,上年同期盈利1.09亿元;扣非净利润亏损2.90亿元,上年同期盈利1.09亿元;经营活动产生的现金流量净额为-5.04亿元,上年同期为-5679.12万元;报告期内,中国稀土基本每股收益为-0.2721元,加权平均净资产收益率为-6.13%。

2024年第一季度,公司毛利率为4.31%,同比下降14.27个百分点;净利率为-96.38%,较上年同期下降102.84个百分点。

数据显示,2024年第一季度公司加权平均净资产收益率为-6.13%,较上年同期下降8.9个百分点;公司2024年第一季度投入资本回报率为-7.37%,较上年同期下降7.86个百分点。

2024年第一季度,公司经营活动现金流净额为-5.04亿元,同比减少4.47亿元,主要系销售商品、提供劳务收到的现金较上年同期减少较大影响所致;筹资活动现金流净额-712.65万元,同比减少1.66亿元,主要系本期借款减少影响所致;投资活动现金流净额-3453.77万元,上年同期为-1720.86万元。

2024年第一季度,公司营业收入现金比为91.94%。

资产重大变化方面,截至2024年一季度末,公司货币资金较上年末减少28.37%,占公司总资产比重下降7.83个百分点;应收款项融资较上年末增加47.73%,占公司总资产比重上升3.83个百分点;其他非流动资产较上年末增加265657.38%,占公司总资产比重上升2.64个百分点;预付款项较上年末增加2670.19%,占公司总资产比重上升2.26个百分点。

负债重大变化方面,截至2024年一季度末,公司短期借款较上年末减少48.90%,占公司总资产比重下降1.59个百分点;应交税费较上年末减少74.79%,占公司总资产比重下降0.75个百分点;其他流动负债较上年末增加73.10%,占公司总资产比重上升0.58个百分点;应付账款较上年末减少28.45%,占公司总资产比重下降0.33个百分点。

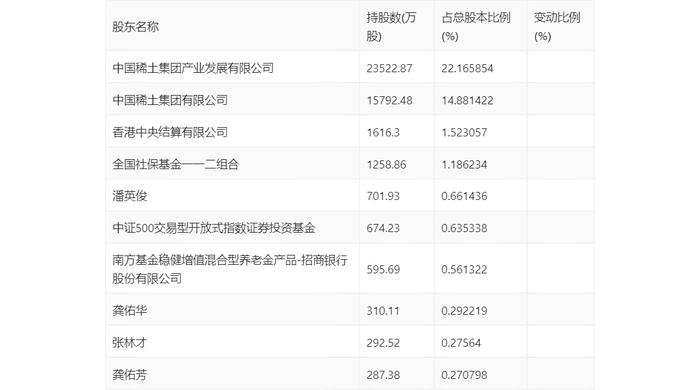
一季报显示,2024年一季度末公司十大流通股东中,持股最多的为中国稀土集团产业发展有限公司,占比22.17%。十大流通股东名单相比2023年年报维持不变。在具体持股比例上,潘英俊、中证500交易型开放式指数证券投资基金持股有所上升,香港中央结算有限公司、南方基金稳健增值混合型养老金产品-招商银行股份有限公司持股有所下降。

筹码集中度方面,截至2024年一季度末,公司股东总户数为16.28万户,较上年末增长了2625户,增幅1.64%;户均持股市值由上年末的18.33万元下降至17.95万元,降幅为2.07%。

加载中...