新浪财经

圣邦股份:2024年第一季度净利润5438.34万元 同比增长80.04%

中证网

关注

中证智能财讯 圣邦股份(300661)4月27日披露2024年一季报。2024年第一季度,公司实现营业总收入7.29亿元,同比增长42.03%;归母净利润5438.34万元,同比增长80.04%;扣非净利润5045.36万元,同比增长713.11%;经营活动产生的现金流量净额为-723.89万元,上年同期为-1.71亿元;报告期内,圣邦股份基本每股收益为0.1158元,加权平均净资产收益率为1.40%。

2024年第一季度,公司毛利率为52.49%,同比下降0.17个百分点;净利率为7.06%,较上年同期上升1.62个百分点。

数据显示,2024年第一季度公司加权平均净资产收益率为1.40%,较上年同期增长0.53个百分点;公司2024年第一季度投入资本回报率为1.14%,较上年同期增长0.54个百分点。

2024年第一季度,公司经营活动现金流净额为-723.89万元,同比增加1.63亿元;筹资活动现金流净额801.77万元,同比减少4303.54万元;投资活动现金流净额3034.81万元,上年同期为-2.01亿元。

2024年第一季度,公司营业收入现金比为112.18%,净现比为-13.31%。

资产重大变化方面,截至2024年一季度末,公司交易性金融资产较上年末减少17.51%,占公司总资产比重下降3.03个百分点;存货较上年末增加9.67%,占公司总资产比重上升1.58个百分点;长期股权投资较上年末增加15.49%,占公司总资产比重上升1.27个百分点;应收账款较上年末增加22.29%,占公司总资产比重上升0.73个百分点。

负债重大变化方面,截至2024年一季度末,公司应付职工薪酬较上年末减少16.83%,占公司总资产比重下降0.94个百分点;预计负债较上年末增加10.18%,占公司总资产比重上升0.08个百分点;应交税费较上年末减少21.88%,占公司总资产比重下降0.10个百分点;长期递延收益较上年末增加5.94%,占公司总资产比重上升0.07个百分点。

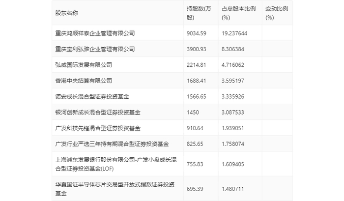
一季报显示,2024年一季度末公司十大流通股东中,持股最多的为重庆鸿顺祥泰企业管理有限公司,占比19.24%。十大流通股东名单相比2023年年报维持不变。在具体持股比例上,香港中央结算有限公司、诺安成长混合型证券投资基金、银河创新成长混合型证券投资基金持股有所上升,华夏国证半导体芯片交易型开放式指数证券投资基金持股有所下降。

筹码集中度方面,截至2024年一季度末,公司股东总户数为1.98万户,较上年末增长了1250户,增幅6.72%;户均持股市值由上年末的224.79万元下降至153.86万元,降幅为31.55%。

加载中...