新浪财经

顺鑫农业:2023年亏损2.96亿元

中证网

关注

中证智能财讯 顺鑫农业(000860)4月27日披露2023年年报。2023年,公司实现营业总收入105.93亿元,同比下降9.30%;归母净利润亏损2.96亿元,上年同期亏损6.73亿元;扣非净利润亏损5.70亿元,上年同期亏损6.71亿元;经营活动产生的现金流量净额为-7.38亿元,上年同期为14.50亿元;报告期内,顺鑫农业基本每股收益为-0.3985元,加权平均净资产收益率为-4.27%。

报告期内,公司合计非经常性损益为2.75亿元,其中非流动性资产处置损益为-66.61万元。

以4月26日收盘价计算,顺鑫农业目前市盈率(TTM)约为-43.26倍,市净率(LF)约为1.89倍,市销率(TTM)约为1.21倍。

公司近年市盈率(TTM)、市净率(LF)、市销率(TTM)历史分位图如下所示:

数据统计显示,顺鑫农业近三年营业总收入复合增长率为-11.94%,在白酒Ⅲ行业已披露2023年数据的11家公司中排名第11。近三年净利润复合年增长率为-188.95%,排名11/11。

年报称,公司从事的主要业务包括白酒酿造与销售;种猪繁育、生猪养殖、屠宰及肉制品加工。

分产品来看,2023年公司主营业务中,白酒收入68.23亿元,同比下降15.86%,占营业收入的64.41%;猪肉收入24.01亿元,同比下降6.08%,占营业收入的22.67%。

2023年,公司毛利率为31.80%,同比上升0.07个百分点;净利率为-2.82%,较上年同期上升3.08个百分点。从单季度指标来看,2023年第四季度公司毛利率为43.68%,同比上升8.72个百分点,环比上升20.89个百分点;净利率为-0.19%,较上年同期上升27.04个百分点,较上一季度上升7.94个百分点。

分产品看,白酒、猪肉2023年毛利率分别为50.22%、-5.94%。

报告期内,公司前五大客户合计销售金额14.98亿元,占总销售金额比例为14.14%,公司前五名供应商合计采购金额18.27亿元,占年度采购总额比例为23.14%。

数据显示,2023年公司加权平均净资产收益率为-4.27%,较上年同期增长4.80个百分点;公司2023年投入资本回报率为-7.91%,较上年同期下降6.38个百分点。

2023年,公司经营活动现金流净额为-7.38亿元,同比减少21.88亿元;筹资活动现金流净额-21.32亿元,同比减少17.10亿元;投资活动现金流净额17.09亿元,上年同期为-1.6亿元。

进一步统计发现,2023年公司自由现金流为2.48亿元,相比上年同期下降85.12%。

2023年,公司营业收入现金比为100.84%。

营运能力方面,2023年,公司公司总资产周转率为0.59次,上年同期为0.59次(2022年行业平均值为0.54次,公司位居同行业7/20);固定资产周转率为3.33次,上年同期为3.95次(2022年行业平均值为4.23次,公司位居同行业11/20);公司应收账款周转率、存货周转率分别为355.30次、1.82次。

2023年,公司期间费用为22.65亿元,较上年同期增加1.88亿元;期间费用率为21.38%,较上年同期上升3.59个百分点。其中,销售费用同比增长17.69%,管理费用同比下降0.36%,研发费用同比下降8.84%,财务费用同比增长7.87%。

资产重大变化方面,截至2023年年末,公司存货较上年末减少61.91%,占公司总资产比重下降14.16个百分点;固定资产较上年末增加5.85%,占公司总资产比重上升6.04个百分点;货币资金较上年末减少15.13%,占公司总资产比重上升5.02个百分点;投资性房地产较上年末增加11.14%,占公司总资产比重上升2.09个百分点。

负债重大变化方面,截至2023年年末,公司合同负债较上年末减少43.12%,占公司总资产比重下降4.77个百分点,主要系主要由于预收货款减少;长期借款较上年末减少46.53%,占公司总资产比重下降3.36个百分点,主要系主要由于偿还长期借款;应付账款较上年末减少44.57%,占公司总资产比重下降2.17个百分点;一年内到期的非流动负债较上年末减少27.25%,占公司总资产比重下降0.29个百分点。

从存货变动来看,截至2023年年末,公司存货账面价值为21.94亿元,占净资产的32.35%,较上年末减少35.66亿元。其中,存货跌价准备为1.34亿元,计提比例为5.77%。

2023年全年,公司研发投入金额为3053.31万元,同比下降8.84%;研发投入占营业收入比例为0.29%,相比上年同期持平。此外,公司全年研发投入资本化率为0。

在偿债能力方面,公司2023年年末资产负债率为55.74%,相比上年末下降9.28个百分点;有息资产负债率为31.41%,相比上年末下降1.76个百分点。

2023年,公司流动比率为1.39,速动比率为1.08。

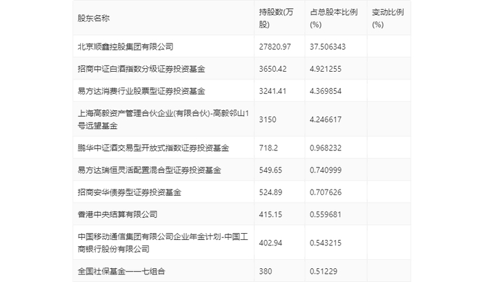
年报显示,2023年年末公司十大流通股东中,新进股东为招商安华债券型证券投资基金、中国移动通信集团有限公司企业年金计划-中国工商银行股份有限公司,取代了三季度末的弘尚资产弘利2号私募证券投资基金、全国社保基金四一四组合。在具体持股比例上,招商中证白酒指数分级证券投资基金、鹏华中证酒交易型开放式指数证券投资基金持股有所上升,香港中央结算有限公司持股有所下降。

筹码集中度方面,截至2023年年末,公司股东总户数为8.33万户,较三季度末增长了5646户,增幅7.27%;户均持股市值由三季度末的22.10万元下降至18.95万元,降幅为14.25%。

指标注解:

市盈率

=总市值/净利润。当公司亏损时市盈率为负,此时用市盈率估值没有实际意义,往往用市净率或市销率做参考。

市净率

=总市值/净资产。市净率估值法多用于盈利波动较大而净资产相对稳定的公司。

市销率

=总市值/营业收入。市销率估值法通常用于亏损或微利的成长型公司。

文中市盈率和市销率采用TTM方式,即以截至最近一期财报(含预报)12个月的数据计算。市净率采用LF方式,即以最近一期财报数据计算。

市盈率为负时,不显示当期分位数,会导致折线图中断。

加载中...