新浪财经

牧原股份:2024年第一季度亏损23.79亿元

中证网

关注

中证智能财讯 牧原股份(002714)4月27日披露2024年一季报。2024年第一季度,公司实现营业总收入262.72亿元,同比增长8.57%;归母净利润亏损23.79亿元,上年同期亏损11.98亿元;扣非净利润亏损23.87亿元,上年同期亏损12.52亿元;经营活动产生的现金流量净额为50.67亿元,上年同期为-38.54亿元;报告期内,牧原股份基本每股收益为-0.44元,加权平均净资产收益率为-3.86%。

2024年第一季度,公司毛利率为-2.50%,同比下降4.38个百分点;净利率为-9.36%,较上年同期下降4.40个百分点。

数据显示,2024年第一季度公司加权平均净资产收益率为-3.86%,较上年同期下降2.19个百分点;公司2024年第一季度投入资本回报率为-1.07%,较上年同期下降0.76个百分点。

2024年第一季度,公司经营活动现金流净额为50.67亿元,同比增加89.21亿元;筹资活动现金流净额19.79亿元,同比减少81.95亿元;投资活动现金流净额-54.22亿元,上年同期为-40.47亿元。

2024年第一季度,公司营业收入现金比为109.41%,净现比为-212.99%。

资产重大变化方面,截至2024年一季度末,公司货币资金较上年末增加18.50%,占公司总资产比重上升1.77个百分点;存货较上年末减少6.20%,占公司总资产比重下降1.46个百分点;固定资产较上年末减少1.22%,占公司总资产比重下降1.06个百分点;生产性生物资产较上年末增加14.19%,占公司总资产比重上升0.64个百分点。

负债重大变化方面,截至2024年一季度末,公司短期借款较上年末增加8.25%,占公司总资产比重上升1.81个百分点;应付账款较上年末减少8.50%,占公司总资产比重下降1.09个百分点;应付票据较上年末增加73.89%,占公司总资产比重上升0.93个百分点;长期借款较上年末增加5.86%,占公司总资产比重上升0.26个百分点。

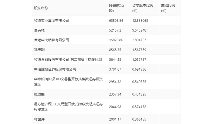
一季报显示,2024年一季度末公司十大流通股东中,新进股东为易方达沪深300交易型开放式指数发起式证券投资基金,取代了上年末的蔡敏。在具体持股比例上,牧原实业集团有限公司、香港中央结算有限公司、华泰柏瑞沪深300交易型开放式指数证券投资基金持股有所上升,中信建投证券股份有限公司持股有所下降。

筹码集中度方面,截至2024年一季度末,公司股东总户数为23.4万户,较上年末下降了2.78万户,降幅10.63%;户均持股市值由上年末的85.96万元上升至100.79万元,增幅为17.25%。

加载中...