新浪财经

宝钢股份:2023年净利润同比下降1.99% 拟10派2元

中证网

关注

中证智能财讯 宝钢股份(600019)4月27日披露2023年年报。2023年,公司实现营业收入3445亿元,同比下降6.33%;归母净利润119.44亿元,同比下降1.99%;扣非净利润104.53亿元,同比下降1.42%;经营活动产生的现金流量净额为253.02亿元,同比下降43.42%;报告期内,宝钢股份基本每股收益为0.54元,加权平均净资产收益率为6.01%。公司2023年年度利润分配预案为:拟向全体股东每10股派2元(含税)。

以4月26日收盘价计算,宝钢股份目前市盈率(TTM)约为13.13倍,市净率(LF)约为0.78倍,市销率(TTM)约为0.46倍。

公司近年市盈率(TTM)、市净率(LF)、市销率(TTM)历史分位图如下所示:

截至2023年末,宝钢股份三年营业总收入复合增长率为6.9%,在板材行业已披露2023年数据的10家公司中排名第6。三年净利润复合年增长率为-2.01%,排名2/10。

分产品来看,2023年公司主营业务中,冷轧碳钢板卷收入1175.95亿元,同比下降3.49%,占营业收入的34.10%;热轧碳钢板卷收入853.76亿元,同比下降8.05%,占营业收入的24.76%;钢管产品收入142.13亿元,同比下降10.32%,占营业收入的4.12%。

2023年,公司毛利率为6.20%,同比上升0.36个百分点;净利率为3.99%,较上年同期上升0.18个百分点。从单季度指标来看,2023年第四季度公司毛利率为6.32%,同比上升1.83个百分点,环比下降1.97个百分点;净利率为4.55%,较上年同期上升1.15个百分点,较上一季度下降0.66个百分点。

分产品看,冷轧碳钢板卷、热轧碳钢板卷、钢管产品2023年毛利率分别为7.60%、1.50%、4.20%。

报告期内,公司前五大客户合计销售金额355.70亿元,占总销售金额比例为10.30%,公司前五名供应商合计采购金额496.20亿元,占年度采购总额比例为40.20%。

数据显示,2023年公司加权平均净资产收益率为6.01%,较上年同期下降0.32个百分点;公司2023年投入资本回报率为5.16%,较上年同期下降0.13个百分点。

2023年,公司经营活动现金流净额为253.02亿元,同比下降43.42%;筹资活动现金流净额-56.81亿元,同比增加80.58亿元;投资活动现金流净额-158.06亿元,上年同期为-261.91亿元。

进一步统计发现,2023年公司自由现金流为241.38亿元,相比上年同期增长327.55%。

2023年,公司营业收入现金比为114.25%,净现比为211.84%。

营运能力方面,2023年,公司公司总资产周转率为0.89次,上年同期为0.95次(2022年行业平均值为1.09次,公司位居同行业11/17);固定资产周转率为2.31次,上年同期为2.51次(2022年行业平均值为2.21次,公司位居同行业8/17);公司应收账款周转率、存货周转率分别为23.06次、7.12次。

2023年,公司期间费用为104.61亿元,较上年同期减少3.93亿元;但期间费用率为3.04%,较上年同期上升0.09个百分点。其中,销售费用同比下降0.41%,管理费用同比下降1.93%,研发费用同比增长7.91%,财务费用同比下降35.73%。

资产重大变化方面,截至2023年年末,公司其他流动资产较上年末减少46.79%,占公司总资产比重下降5.58个百分点;长期股权投资较上年末增加58.00%,占公司总资产比重上升4.71个百分点;固定资产较上年末增加1.74%,占公司总资产比重上升2.88个百分点;预付款项较上年末减少59.12%,占公司总资产比重下降1.19个百分点。

负债重大变化方面,截至2023年年末,公司长期借款较上年末增加44.39%,占公司总资产比重上升2.86个百分点;其他应付款(含利息和股利)较上年末增加180.25%,占公司总资产比重上升1.47个百分点;应付债券较上年末减少90.91%,占公司总资产比重下降1.25个百分点;应付账款较上年末增加3.69%,占公司总资产比重上升1.27个百分点。

2023年全年,公司研发投入金额为195.73亿元,同比增长13.49%;研发投入占营业收入比例为5.68%,相比上年同期上升0.99个百分点。此外,公司全年研发投入资本化率为82.53%。

在偿债能力方面,公司2023年年末资产负债率为41.46%,相比上年末下降4.33个百分点;有息资产负债率为12.06%,相比上年末上升1.60个百分点。

2023年,公司流动比率为1.20,速动比率为0.81。

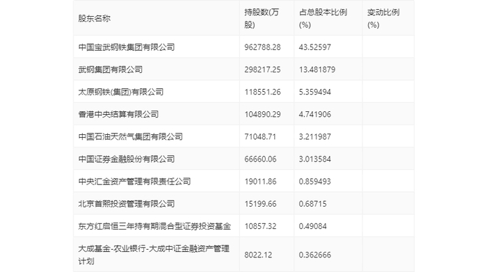
年报显示,2023年年末公司十大流通股东中,持股最多的为中国宝武钢铁集团有限公司,占比43.53%。十大流通股东名单相比2023年三季报维持不变。在具体持股比例上,中国宝武钢铁集团有限公司、武钢集团有限公司、太原钢铁(集团)有限公司、中国石油天然气集团有限公司、中国证券金融股份有限公司、中央汇金资产管理有限责任公司、北京首熙投资管理有限公司、东方红启恒三年持有期混合型证券投资基金、大成基金-农业银行-大成中证金融资产管理计划持股有所上升,香港中央结算有限公司持股有所下降。

筹码集中度方面,截至2023年年末,公司股东总户数为27.13万户,较三季度末增长了2409户,增幅0.90%;户均持股市值由三季度末的50.42万元下降至48.35万元,降幅为4.11%。

指标注解:

市盈率

=总市值/净利润。当公司亏损时市盈率为负,此时用市盈率估值没有实际意义,往往用市净率或市销率做参考。

市净率

=总市值/净资产。市净率估值法多用于盈利波动较大而净资产相对稳定的公司。

市销率

=总市值/营业收入。市销率估值法通常用于亏损或微利的成长型公司。

文中市盈率和市销率采用TTM方式,即以截至最近一期财报(含预报)12个月的数据计算。市净率采用LF方式,即以最近一期财报数据计算。

市盈率为负时,不显示当期分位数,会导致折线图中断。

加载中...