新浪财经

巨力索具:2023年亏损871.39万元 拟10派0.03元

中证网

关注

中证智能财讯 巨力索具(002342)4月27日披露2023年年报。2023年,公司实现营业总收入23.28亿元,同比增长7.14%;归母净利润亏损871.39万元,上年同期盈利908.48万元;扣非净利润553.35万元,同比扭亏;经营活动产生的现金流量净额为7446.17万元,同比下降23.44%;报告期内,巨力索具基本每股收益为-0.0091元,加权平均净资产收益率为-0.35%。公司2023年年度利润分配预案为:拟向全体股东每10股派0.03元(含税)。

报告期内,公司合计非经常性损益为-1424.74万元,其中非流动性资产处置损益(包括已计提资产减值准备的冲销部分)为-2230.06万元。

以4月26日收盘价计算,巨力索具目前市盈率(TTM)约为-355.84倍,市净率(LF)约为1.25倍,市销率(TTM)约为1.33倍。

公司近年市盈率(TTM)、市净率(LF)、市销率(TTM)历史分位图如下所示:

数据统计显示,巨力索具近三年营业总收入复合增长率为1.67%,在金属制品行业已披露2023年数据的63家公司中排名第53。近三年净利润复合年增长率为-164.05%,排名59/63。

年报称,公司是专业从事索具研发、制造、销售的企业,主营业务为索具及相关产品的研发、设计、生产和销售。

分产品来看,2023年公司主营业务中,工程及金属索具收入11.71亿元,同比下降0.05%,占营业收入的50.31%;钢丝绳及钢丝绳索具收入6.03亿元,同比增长21.07%,占营业收入的25.89%;合成纤维吊装带索具收入4.67亿元,同比增长33.65%,占营业收入的20.07%。

截至2023年末,公司员工总数为2454人,人均创收94.86万元,人均创利-0.36万元,人均薪酬13.24万元,较上年同期分别变化3.95%、-193.06%、11.75%。

2023年,公司毛利率为21.22%,同比上升3.52个百分点;净利率为-0.37%,较上年同期下降0.79个百分点。从单季度指标来看,2023年第四季度公司毛利率为24.40%,同比上升6.19个百分点,环比上升3.37个百分点;净利率为-3.21%,较上年同期下降2.97个百分点,较上一季度下降3.80个百分点。

分产品看,工程及金属索具、钢丝绳及钢丝绳索具、合成纤维吊装带索具2023年毛利率分别为19.37%、15.77%、35.51%。

报告期内,公司前五大客户合计销售金额3.31亿元,占总销售金额比例为14.22%,公司前五名供应商合计采购金额2.60亿元,占年度采购总额比例为13.98%。

数据显示,2023年公司加权平均净资产收益率为-0.35%,较上年同期下降0.72个百分点;公司2023年投入资本回报率为0.86%,较上年同期下降0.13个百分点。

2023年,公司经营活动现金流净额为7446.17万元,同比下降23.44%;筹资活动现金流净额2.66亿元,同比增加1.44亿元;投资活动现金流净额-2.05亿元,上年同期为-1.8亿元。

进一步统计发现,2023年公司自由现金流为-2.35亿元,上年同期为-2.07亿元。

2023年,公司营业收入现金比为82.11%,净现比为-854.51%。

营运能力方面,2023年,公司公司总资产周转率为0.50次,上年同期为0.50次(2022年行业平均值为0.56次,公司位居同行业50/78);固定资产周转率为1.79次,上年同期为1.77次(2022年行业平均值为2.65次,公司位居同行业60/78);公司应收账款周转率、存货周转率分别为2.04次、2.89次。

2023年,公司期间费用为4.09亿元,较上年同期增加7231.82万元;期间费用率为17.56%,较上年同期上升2.08个百分点。其中,销售费用同比增长23.76%,管理费用同比增长13.29%,研发费用同比增长20.8%,财务费用同比增长34.04%。

资产重大变化方面,截至2023年年末,公司固定资产较上年末增加28.94%,占公司总资产比重上升5.29个百分点;应收款项融资较上年末增加1346.92%,占公司总资产比重上升2.67个百分点;其他应收款(含利息和股利)较上年末减少53.30%,占公司总资产比重下降2.47个百分点;存货较上年末减少8.28%,占公司总资产比重下降2.07个百分点。

负债重大变化方面,截至2023年年末,公司一年内到期的非流动负债较上年末增加494.82%,占公司总资产比重上升5.47个百分点;短期借款较上年末增加21.04%,占公司总资产比重上升1.73个百分点;应付票据较上年末减少20.40%,占公司总资产比重下降2.35个百分点;应付账款较上年末增加18.82%,占公司总资产比重上升0.91个百分点。

从存货变动来看,截至2023年年末,公司存货账面价值为6.08亿元,占净资产的24.55%,较上年末减少5490.08万元。其中,存货跌价准备为1061.99万元,计提比例为1.72%。

2023年全年,公司研发投入金额为1.20亿元,同比下降9.56%;研发投入占营业收入比例为5.15%,相比上年同期下降0.95个百分点。此外,公司全年研发投入资本化率为0。

资料显示,公司取得有效专利技术308项,其中发明专利45项,实用新型专利263项;主编国家标准7项、行业标准6项、地方标准3项;团体标准1项,共17项。参编国家标准13项、行业标准15项、地方标准7项,团体标准3项,共计38项。

在偿债能力方面,公司2023年年末资产负债率为48.16%,相比上年末上升3.66个百分点;有息资产负债率为27.47%,相比上年末上升6.33个百分点。

2023年,公司流动比率为1.45,速动比率为1.14。

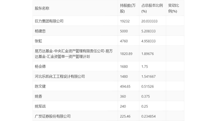
年报显示,2023年年末公司十大流通股东中,新进股东为广发证券股份有限公司,取代了三季度末的罗顺玲。在具体持股比例上,陈文健持股有所上升。

值得注意的是,根据年报数据,巨力索具10.01%股份处于质押状态。其中,第一大股东巨力集团有限公司质押9610.00万股公司股份,占其全部持股的49.97%。

筹码集中度方面,截至2023年年末,公司股东总户数为7.5万户,较三季度末下降了2678户,降幅3.45%;户均持股市值由三季度末的5.15万元上升至5.52万元,增幅为7.18%。

指标注解:

市盈率

=总市值/净利润。当公司亏损时市盈率为负,此时用市盈率估值没有实际意义,往往用市净率或市销率做参考。

市净率

=总市值/净资产。市净率估值法多用于盈利波动较大而净资产相对稳定的公司。

市销率

=总市值/营业收入。市销率估值法通常用于亏损或微利的成长型公司。

文中市盈率和市销率采用TTM方式,即以截至最近一期财报(含预报)12个月的数据计算。市净率采用LF方式,即以最近一期财报数据计算。

市盈率为负时,不显示当期分位数,会导致折线图中断。

加载中...