新浪财经

湘佳股份:2024年第一季度亏损1941.25万元

中证网

关注

中证智能财讯 湘佳股份(002982)4月27日披露2024年一季报。2024年第一季度,公司实现营业总收入9.05亿元,同比下降0.44%;归母净利润亏损1941.25万元,上年同期亏损2825.41万元;扣非净利润亏损1467.14万元,上年同期亏损3451.90万元;经营活动产生的现金流量净额为5098.16万元,同比下降44.79%;报告期内,湘佳股份基本每股收益为-0.14元,加权平均净资产收益率为-1.18%。

2024年第一季度,公司毛利率为14.15%,同比上升3.30个百分点;净利率为-2.49%,较上年同期上升0.73个百分点。

数据显示,2024年第一季度公司加权平均净资产收益率为-1.18%,较上年同期增长0.37个百分点;公司2024年第一季度投入资本回报率为-0.39%,较上年同期增长0.27个百分点。

2024年第一季度,公司经营活动现金流净额为5098.16万元,同比下降44.79%,主要系同比去年存货增加了3700多万所致;筹资活动现金流净额1.19亿元,同比增加2.01亿元,主要系增加了超级工厂的项目贷款,去年3月偿还了工行1亿元到期贷款所致;投资活动现金流净额-9918.71万元,上年同期为-2.33亿元,主要系部分项目如2亿羽孵化场、100万吨饲料厂一期工程相继完工,本年投入减少所致。

2024年第一季度,公司营业收入现金比为114.05%,净现比为-262.62%。

资产重大变化方面,截至2024年一季度末,公司在建工程较上年末增加120.40%,占公司总资产比重上升7.02个百分点;固定资产较上年末减少11.35%,占公司总资产比重下降6.08个百分点;货币资金较上年末增加20.74%,占公司总资产比重上升1.75个百分点;存货较上年末减少10.23%,占公司总资产比重下降1.65个百分点。

负债重大变化方面,截至2024年一季度末,公司长期借款较上年末增加20.17%,占公司总资产比重上升2.31个百分点;应付账款较上年末减少21.17%,占公司总资产比重下降1.62个百分点;短期借款较上年末增加10.72%,占公司总资产比重上升0.61个百分点;一年内到期的非流动负债较上年末减少28.70%,占公司总资产比重下降0.66个百分点。

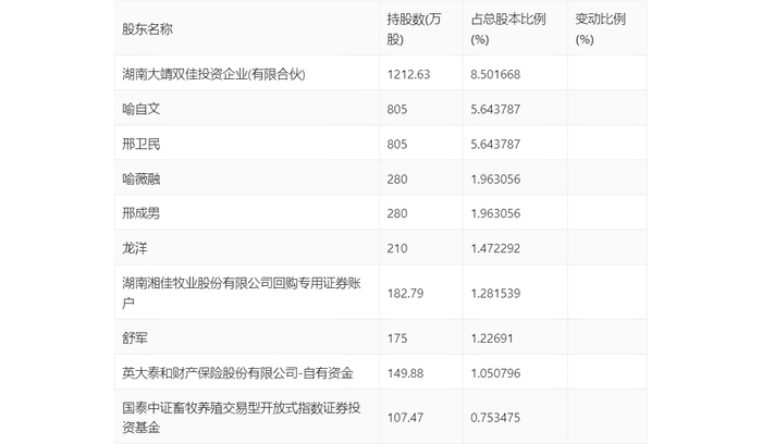
一季报显示,2024年一季度末公司十大流通股东中,新进股东为湖南湘佳牧业股份有限公司回购专用证券账户、国泰中证畜牧养殖交易型开放式指数证券投资基金,取代了上年末的英大泰和人寿保险股份有限公司-个险万能、杨全珍。在具体持股比例上,湖南大靖双佳投资企业(有限合伙)、喻自文、邢卫民、喻薇融、邢成男、龙洋、舒军、英大泰和财产保险股份有限公司-自有资金持股有所下降。

筹码集中度方面,截至2024年一季度末,公司股东总户数为1.83万户,较上年末增长了2329户,增幅14.60%;户均持股市值由上年末的19.06万元下降至14.08万元,降幅为26.13%。

加载中...