新浪财经

紫金银行:2023年净利润同比增长1.16% 拟10派1元

中证网

关注

中证智能财讯 紫金银行(601860)4月26日披露2023年年报。2023年,公司实现营业总收入44.20亿元,同比下降1.93%;归母净利润16.19亿元,同比增长1.16%;扣非净利润15.91亿元,同比增长2.93%;经营活动产生的现金流量净额为58.42亿元,同比下降10.89%;报告期内,紫金银行基本每股收益为0.44元,加权平均净资产收益率为9.10%。公司2023年年度利润分配预案为:拟向全体股东每10股派1元(含税)。

以4月25日收盘价计算,紫金银行目前市盈率(TTM)约为5.99倍,市净率(LF)约为0.53倍,市销率(TTM)约为2.2倍。

公司近年市盈率(TTM)、市净率(LF)、市销率(TTM)历史分位图如下所示:

数据统计显示,紫金银行近三年营业总收入复合增长率为-0.43%,在农商行Ⅲ行业已披露2023年数据的7家公司中排名第7。近三年净利润复合年增长率为3.94%,排名7/7。

分产品来看,2023年公司主营业务中,利息净收入收入39.60亿元,同比下降1.87%,占营业收入的89.59%;投资收益收入2.59亿元,同比下降12.35%,占营业收入的5.86%;手续费及佣金净收入收入1.15亿元,同比增长74.37%,占营业收入的2.60%。

2023年,公司经营活动现金流净额为58.42亿元,同比下降10.89%;筹资活动现金流净额-6.92亿元,同比增加81.15亿元;投资活动现金流净额-71.88亿元,上年同期为27.12亿元。

2023年,公司营业收入现金比为685.23%,净现比为360.91%。

资产重大变化方面,截至2023年年末,公司债权投资合计较上年末增加193.56%,占公司总资产比重上升3.09个百分点;其他债权投资合计较上年末减少0.78%,占公司总资产比重下降1.70个百分点;金融投资较上年末增加19.18%,占公司总资产比重上升1.54个百分点;货币资金较上年末减少12.87%,占公司总资产比重下降1.14个百分点。

负债重大变化方面,截至2023年年末,公司吸收存款及同业存款较上年末增加12.40%,占公司总资产比重上升1.61个百分点;向中央银行借款较上年末增加76.53%,占公司总资产比重上升1.24个百分点;拆入资金较上年末减少4.18%,占公司总资产比重下降0.28个百分点;应付债券较上年末增加1.00%,占公司总资产比重下降0.40个百分点。

在偿债能力方面,公司2023年年末资产负债率为92.54%,相比上年末上升0.15个百分点;有息资产负债率为4.36%,相比上年末下降0.40个百分点。

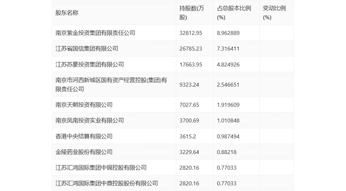
年报显示,2023年年末公司十大流通股东中,持股最多的为南京紫金投资集团有限责任公司,占比8.96%。十大流通股东名单相比2023年三季报维持不变。在具体持股比例上,南京凤南投资实业有限公司持股有所上升,南京紫金投资集团有限责任公司、江苏省国信集团有限公司、江苏苏豪投资集团有限公司、香港中央结算有限公司持股有所下降。

筹码集中度方面,截至2023年年末,公司股东总户数为7.25万户,较三季度末下降了2215户,降幅2.96%;户均持股市值由三季度末的13.13万元下降至12.77万元,降幅为2.74%。

指标注解:

市盈率

=总市值/净利润。当公司亏损时市盈率为负,此时用市盈率估值没有实际意义,往往用市净率或市销率做参考。

市净率

=总市值/净资产。市净率估值法多用于盈利波动较大而净资产相对稳定的公司。

市销率

=总市值/营业收入。市销率估值法通常用于亏损或微利的成长型公司。

文中市盈率和市销率采用TTM方式,即以截至最近一期财报(含预报)12个月的数据计算。市净率采用LF方式,即以最近一期财报数据计算。

市盈率为负时,不显示当期分位数,会导致折线图中断。

加载中...