新浪财经

中粮资本:2023年净利10.21亿元 同比增长70.95% 拟10派1.33元

中证网

关注

中证智能财讯 中粮资本(002423)4月26日披露2023年年报。2023年,公司实现营业总收入222.82亿元,同比增长19.76%;归母净利润10.21亿元,同比增长70.95%;扣非净利润9.74亿元,同比增长63.00%;经营活动产生的现金流量净额为67.63亿元,同比下降15.87%;报告期内,中粮资本基本每股收益为0.4429元,加权平均净资产收益率为5.41%。公司2023年年度利润分配预案为:拟向全体股东每10股派1.33元(含税)。

以4月25日收盘价计算,中粮资本目前市盈率(TTM)约为17.65倍,市净率(LF)约为0.93倍,市销率(TTM)约为5.89倍。

公司近年市盈率(TTM)、市净率(LF)、市销率(TTM)历史分位图如下所示:

数据统计显示,中粮资本近三年营业总收入复合增长率为17.98%,在金融控股行业已披露2023年数据的9家公司中排名第1。近三年净利润复合年增长率为-1.05%,排名3/9。

分产品来看,2023年公司主营业务中,已赚保费收入154.85亿元,同比增长44.93%,占营业收入的69.49%;利息收入收入22.33亿元,同比增长9.97%,占营业收入的10.02%;手续费及佣金收入收入15.06亿元,同比增长10.35%,占营业收入的6.76%。

2023年,公司毛利率为-2.99%,同比上升0.50个百分点;净利率为48.50%,较上年同期上升24.22个百分点。从单季度指标来看,2023年第四季度公司毛利率为-0.36%,同比上升1.42个百分点,环比上升1.22个百分点;净利率为24.44%,较上年同期上升3.09个百分点,较上一季度上升11.09个百分点。

报告期内,公司前五大客户合计销售金额10.12亿元,占总销售金额比例为4.57%,公司前五名供应商合计采购金额13.64亿元,占年度采购总额比例为15.75%。

数据显示,2023年公司加权平均净资产收益率为5.41%,较上年同期增长2.15个百分点;公司2023年投入资本回报率为3.98%,较上年同期增长1.18个百分点。

2023年,公司经营活动现金流净额为67.63亿元,同比下降15.87%;筹资活动现金流净额-38.51亿元,同比减少58.88亿元;投资活动现金流净额-47.48亿元,上年同期为-82.28亿元。

进一步统计发现,2023年公司自由现金流为-8.64亿元,上年同期为-8.83亿元。

2023年,公司营业收入现金比为106.87%,净现比为662.66%。

2023年,公司期间费用为27.36亿元,较上年同期增加4.94亿元;期间费用率为89.45%,较上年同期上升39.93个百分点。其中,管理费用同比增长21.71%,研发费用同比增长53.0%,财务费用由去年同期的0.00元变为0.00元。

资产重大变化方面,截至2023年年末,公司其他债权投资合计较上年末增加40.66%,占公司总资产比重上升7.36个百分点;交易性金融资产较上年末减少8.93%,占公司总资产比重下降3.34个百分点;货币资金较上年末减少14.02%,占公司总资产比重下降2.32个百分点;其他流动资产较上年末减少6.07%,占公司总资产比重下降1.64个百分点。

负债重大变化方面,截至2023年年末,公司长期保险合同准备金较上年末增加23.97%,占公司总资产比重上升6.55个百分点;其他流动负债较上年末减少15.01%,占公司总资产比重下降4.69个百分点;卖出回购金融资产款较上年末减少35.19%,占公司总资产比重下降2.63个百分点;其他应付款(含利息和股利)较上年末增加36.01%,占公司总资产比重上升0.83个百分点。

在偿债能力方面,公司2023年年末资产负债率为78.78%,相比上年末下降0.05个百分点;有息资产负债率为2.95%,相比上年末上升0.34个百分点。

2023年,公司流动比率为1.60,速动比率为1.60。

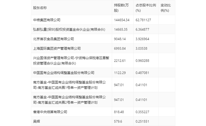
年报显示,2023年年末公司十大流通股东中,新进股东为吴辉,取代了三季度末的中证500交易型开放式指数证券投资基金。在具体持股比例上,香港中央结算有限公司持股有所下降。

筹码集中度方面,截至2023年年末,公司股东总户数为4.55万户,较三季度末增长了1095户,增幅2.46%;户均持股市值由三季度末的39.97万元下降至33.79万元,降幅为15.46%。

指标注解:

市盈率

=总市值/净利润。当公司亏损时市盈率为负,此时用市盈率估值没有实际意义,往往用市净率或市销率做参考。

市净率

=总市值/净资产。市净率估值法多用于盈利波动较大而净资产相对稳定的公司。

市销率

=总市值/营业收入。市销率估值法通常用于亏损或微利的成长型公司。

文中市盈率和市销率采用TTM方式,即以截至最近一期财报(含预报)12个月的数据计算。市净率采用LF方式,即以最近一期财报数据计算。

市盈率为负时,不显示当期分位数,会导致折线图中断。

加载中...