新浪财经

均胜电子:2024年第一季度净利润3.07亿元 同比增长53.11%

中证网

关注

中证智能财讯 均胜电子(600699)4月26日披露2024年一季报。2024年第一季度,公司实现营业总收入132.78亿元,同比增长0.42%;归母净利润3.07亿元,同比增长53.11%;扣非净利润3.11亿元,同比增长134.18%;经营活动产生的现金流量净额为6.93亿元,同比增长9.22%;报告期内,均胜电子基本每股收益为0.22元,加权平均净资产收益率为2.24%。

2024年第一季度,公司毛利率为15.51%,同比上升2.55个百分点;净利率为2.86%,较上年同期上升1.43个百分点。

数据显示,2024年第一季度公司加权平均净资产收益率为2.24%,较上年同期增长0.62个百分点;公司2024年第一季度投入资本回报率为1.42%,较上年同期增长0.40个百分点。

2024年第一季度,公司经营活动现金流净额为6.93亿元,同比增长9.22%;筹资活动现金流净额19.56亿元,同比增加24.24亿元;投资活动现金流净额-9.83亿元,上年同期为-7.83亿元。

2024年第一季度,公司营业收入现金比为118.46%,净现比为226.16%。

资产重大变化方面,截至2024年一季度末,公司货币资金较上年末增加29.38%,占公司总资产比重上升2.30个百分点;固定资产较上年末减少1.97%,占公司总资产比重下降0.98个百分点;应收账款较上年末减少3.21%,占公司总资产比重下降0.88个百分点;其他非流动资产较上年末减少10.86%,占公司总资产比重下降0.45个百分点。

负债重大变化方面,截至2024年一季度末,公司长期借款较上年末增加17.94%,占公司总资产比重上升3.00个百分点;一年内到期的非流动负债较上年末减少27.67%,占公司总资产比重下降1.88个百分点;应付账款较上年末减少3.13%,占公司总资产比重下降1.04个百分点;短期借款较上年末增加5.78%,占公司总资产比重上升0.18个百分点。

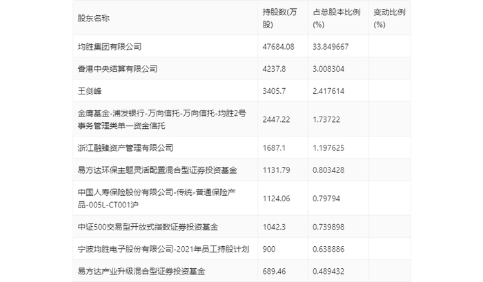
一季报显示,2024年一季度末公司十大流通股东中,新进股东为中国人寿保险股份有限公司-传统-普通保险产品-005L-CT001沪、中证500交易型开放式指数证券投资基金、易方达产业升级混合型证券投资基金,取代了上年末的汇添富基金-中国人寿保险股份有限公司-分红险-汇添富基金国寿股份均衡股票型组合单一资产管理计划(可供出售)、中国工商银行股份有限公司-汇添富中证新能源汽车产业指数型发起式证券投资基金(LOF)、华夏中证新能源汽车交易型开放式指数证券投资基金。在具体持股比例上,香港中央结算有限公司、易方达环保主题灵活配置混合型证券投资基金持股有所上升。

筹码集中度方面,截至2024年一季度末,公司股东总户数为9.17万户,较上年末增长了1689户,增幅1.88%;户均持股市值由上年末的28.12万元下降至26.56万元,降幅为5.55%。

加载中...