新浪财经

劲旅环境:2023年净利润同比增长2.43% 拟10转2股派3.5元

中证网

关注

中证智能财讯 劲旅环境(001230)4月26日披露2023年年报。2023年,公司实现营业总收入14.55亿元,同比增长15.27%;归母净利润1.29亿元,同比增长2.43%;扣非净利润1.08亿元,同比下降2.94%;经营活动产生的现金流量净额为6622.09万元,同比下降72.21%;报告期内,劲旅环境基本每股收益为1.16元,加权平均净资产收益率为7.58%。公司2023年年度利润分配预案为:拟向全体股东每10股转2股派3.5元(含税)。

以4月25日收盘价计算,劲旅环境目前市盈率(TTM)约为15.39倍,市净率(LF)约为1.13倍,市销率(TTM)约为1.37倍。

公司近年市盈率(TTM)、市净率(LF)、市销率(TTM)历史分位图如下所示:

数据统计显示,劲旅环境近三年营业总收入复合增长率为5.89%,在固废治理行业已披露2023年数据的23家公司中排名第18。近三年净利润复合年增长率为-4.92%,排名13/23。

分产品来看,2023年公司主营业务中,特许经营权业务收入7.97亿元,同比增长3.06%,占营业收入的54.78%;传统城乡环卫业务收入4.90亿元,同比增长35.57%,占营业收入的33.70%;设备制造与销售收入1.64亿元,同比增长32.39%,占营业收入的11.24%。

截至2023年末,公司员工总数为35287人,人均创收4.12万元,人均创利0.37万元,人均薪酬2.05万元,较上年同期分别增长17.63%、4.54%、15.10%。

2023年,公司毛利率为24.78%,同比下降0.32个百分点;净利率为9.43%,较上年同期下降1.15个百分点。从单季度指标来看,2023年第四季度公司毛利率为25.05%,同比下降4.91个百分点,环比下降0.21个百分点;净利率为9.81%,较上年同期下降3.82个百分点,较上一季度上升1.60个百分点。

分产品看,特许经营权业务、传统城乡环卫业务、设备制造与销售2023年毛利率分别为25.43%、22.24%、27.92%。

报告期内,公司前五大客户合计销售金额4.89亿元,占总销售金额比例为33.59%,公司前五名供应商合计采购金额1.44亿元,占年度采购总额比例为25.91%。

数据显示,2023年公司加权平均净资产收益率为7.58%,较上年同期下降3.93个百分点;公司2023年投入资本回报率为7.18%,较上年同期下降2.09个百分点。

2023年,公司经营活动现金流净额为6622.09万元,同比下降72.21%;筹资活动现金流净额-9585.69万元,同比减少7.23亿元;投资活动现金流净额-402.21万元,上年同期为-6.25亿元。

进一步统计发现,2023年公司自由现金流为8177.75万元,上年同期为-44535.24万元。

2023年,公司营业收入现金比为91.34%,净现比为51.20%。

营运能力方面,2023年,公司公司总资产周转率为0.50次,上年同期为0.53次(2022年行业平均值为0.38次,公司位居同行业8/32);固定资产周转率为6.68次,上年同期为6.41次(2022年行业平均值为3.79次,公司位居同行业7/32);公司应收账款周转率、存货周转率分别为2.16次、12.72次。

2023年,公司期间费用为2.26亿元,较上年同期增加4207.54万元;期间费用率为15.51%,较上年同期上升0.97个百分点。其中,销售费用同比增长95.83%,管理费用同比增长20.3%,研发费用同比增长59.12%,财务费用同比下降23.73%。

资产重大变化方面,截至2023年年末,公司应收账款较上年末增加35.67%,占公司总资产比重上升5.89个百分点;交易性金融资产较上年末减少29.79%,占公司总资产比重下降3.78个百分点;无形资产较上年末减少6.09%,占公司总资产比重下降2.55个百分点;货币资金较上年末减少5.33%,占公司总资产比重下降1.71个百分点。

负债重大变化方面,截至2023年年末,公司应付账款较上年末增加65.06%,占公司总资产比重上升2.50个百分点;一年内到期的非流动负债较上年末减少29.29%,占公司总资产比重下降1.14个百分点;短期借款较上年末减少66.56%,占公司总资产比重下降0.72个百分点;应付职工薪酬较上年末增加20.57%,占公司总资产比重上升0.47个百分点。

从存货变动来看,截至2023年年末,公司存货账面价值为9696.29万元,占净资产的5.51%。其中,存货跌价准备为56.25万元,计提比例为0.58%。

2023年全年,公司研发投入金额为2783.67万元,同比增长59.12%;研发投入占营业收入比例为1.91%,相比上年同期上升0.52个百分点。此外,公司全年研发投入资本化率为0。

在偿债能力方面,公司2023年年末资产负债率为38.33%,相比上年末下降1.45个百分点;有息资产负债率为10.67%,相比上年末下降2.89个百分点。

2023年,公司流动比率为4.30,速动比率为4.08。

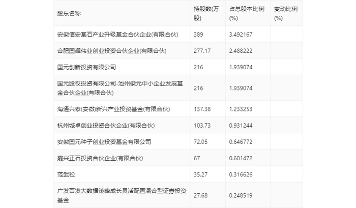
年报显示,2023年年末公司十大流通股东中,新进股东为安徽信安基石产业升级基金合伙企业(有限合伙)、杭州城卓创业投资合伙企业(有限合伙)、嘉兴正石投资合伙企业(有限合伙)、范武松、广发百发大数据策略成长灵活配置混合型证券投资基金,取代了三季度末的张雪华、葛培正、黄耀光、刘伟、国金量化多因子股票型证券投资基金。在具体持股比例上,海通兴泰(安徽)新兴产业投资基金(有限合伙)持股有所下降。

筹码集中度方面,截至2023年年末,公司股东总户数为1.7万户,较三季度末下降了1185户,降幅6.51%;户均持股市值由三季度末的14.80万元上升至15.35万元,增幅为3.72%。

指标注解:

市盈率

=总市值/净利润。当公司亏损时市盈率为负,此时用市盈率估值没有实际意义,往往用市净率或市销率做参考。

市净率

=总市值/净资产。市净率估值法多用于盈利波动较大而净资产相对稳定的公司。

市销率

=总市值/营业收入。市销率估值法通常用于亏损或微利的成长型公司。

文中市盈率和市销率采用TTM方式,即以截至最近一期财报(含预报)12个月的数据计算。市净率采用LF方式,即以最近一期财报数据计算。

市盈率为负时,不显示当期分位数,会导致折线图中断。

加载中...