新浪财经

音飞储存:2023年净利润同比增长7.10% 拟10派1.45元

中证网

关注

中证智能财讯 音飞储存(603066)4月26日披露2023年年报。2023年,公司实现营业总收入15.73亿元,同比增长2.07%;归母净利润1.42亿元,同比增长7.10%;扣非净利润1.21亿元,同比增长6.28%;经营活动产生的现金流量净额为6063.74万元,同比下降8.98%;报告期内,音飞储存基本每股收益为0.48元,加权平均净资产收益率为10.79%。公司2023年年度利润分配预案为:拟向全体股东每10股派1.45元(含税)。

以4月25日收盘价计算,音飞储存目前市盈率(TTM)约为22.7倍,市净率(LF)约为2.34倍,市销率(TTM)约为2.05倍。

公司近年市盈率(TTM)、市净率(LF)、市销率(TTM)历史分位图如下所示:

数据统计显示,音飞储存近三年营业总收入复合增长率为33.27%,在物流行业已披露2023年数据的37家公司中排名第2。近三年净利润复合年增长率为14.48%,排名13/37。

资料显示,公司为客户提供智能制造、智能物流的规划设计及系统集成、核心设备及软件的研发、设计、生产、销售及运营服务等业务。

分产品来看,2023年公司主营业务中,自动化系统集成收入12.12亿元,同比增长6.08%,占营业收入的77.06%;堆垛机产品收入1.70亿元,同比下降9.04%,占营业收入的10.79%;货架产品收入1.58亿元,同比下降17.54%,占营业收入的10.05%。

截至2023年末,公司员工总数为1405人,人均创收111.97万元,人均创利10.11万元,人均薪酬15.24万元,较上年同期分别增长22.63%、28.67%、19.43%。

2023年,公司毛利率为22.16%,同比上升0.42个百分点;净利率为9.02%,较上年同期上升0.41个百分点。从单季度指标来看,2023年第四季度公司毛利率为25.93%,同比上升4.33个百分点,环比上升7.27个百分点;净利率为7.99%,较上年同期上升2.79个百分点,较上一季度上升3.45个百分点。

分产品看,自动化系统集成、堆垛机产品、货架产品2023年毛利率分别为21.76%、18.54%、19.37%。

报告期内,公司前五大客户合计销售金额5.02亿元,占总销售金额比例为31.90%,公司前五名供应商合计采购金额3.49亿元,占年度采购总额比例为27.15%。

数据显示,2023年公司加权平均净资产收益率为10.79%,较上年同期下降0.25个百分点;公司2023年投入资本回报率为9.33%,较上年同期增长0.23个百分点。

2023年,公司经营活动现金流净额为6063.74万元,同比下降8.98%;筹资活动现金流净额278.59万元,同比减少7437.58万元;投资活动现金流净额-459.05万元,上年同期为-4.54亿元。

进一步统计发现,2023年公司自由现金流为-2811.91万元,上年同期为-34242.18万元。

2023年,公司营业收入现金比为102.18%,净现比为42.70%。

营运能力方面,2023年,公司公司总资产周转率为0.51次,上年同期为0.54次(2022年行业平均值为1.25次,公司位居同行业38/46);固定资产周转率为10.37次,上年同期为10.34次(2022年行业平均值为15.55次,公司位居同行业23/46);公司应收账款周转率、存货周转率分别为2.21次、1.47次。

2023年,公司期间费用为1.97亿元,较上年同期增加1968.71万元;期间费用率为12.53%,较上年同期上升1.02个百分点。其中,销售费用同比增长15.89%,管理费用同比下降5.6%,研发费用同比增长19.56%,财务费用同比增长34.03%。

资产重大变化方面,截至2023年年末,公司交易性金融资产较上年末减少41.11%,占公司总资产比重下降2.50个百分点;在建工程较上年末增加57.94%,占公司总资产比重上升2.41个百分点;其他非流动金融资产较上年末减少66.64%,占公司总资产比重下降1.77个百分点;货币资金较上年末增加24.27%,占公司总资产比重上升1.56个百分点。

负债重大变化方面,截至2023年年末,公司应付票据较上年末减少64.09%,占公司总资产比重下降2.19个百分点;合同负债较上年末增加5.80%,占公司总资产比重上升0.90个百分点;一年内到期的非流动负债较上年末增加97.96%,占公司总资产比重上升1.18个百分点;应付账款较上年末减少2.91%,占公司总资产比重下降0.68个百分点。

从存货变动来看,截至2023年年末,公司存货账面价值为8.25亿元,占净资产的59.85%,较上年末减少1381.23万元。其中,存货跌价准备为1467.06万元,计提比例为1.75%。

2023年全年,公司研发投入金额为7448.17万元,同比增长19.56%;研发投入占营业收入比例为4.73%,相比上年同期上升0.69个百分点。此外,公司全年研发投入资本化率为0。

在偿债能力方面,公司2023年年末资产负债率为55.10%,相比上年末下降3.24个百分点;有息资产负债率为7.63%,相比上年末上升1.46个百分点。

2023年,公司流动比率为1.43,速动比率为0.89。

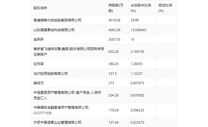
年报显示,2023年年末公司十大流通股东中,新进股东为中信里昂资产管理有限公司-客户资金-人民币资金汇入、中国国际金融香港资产管理有限公司-CICCFT10(R),取代了三季度末的骆正超、黄春芳。在具体持股比例上,应向军、熊绍杰、宁波中昌恒泰企业管理有限公司持股有所下降。

值得注意的是,根据年报数据,音飞储存15.00%股份处于质押状态。其中,第一大股东景德镇陶文旅控股集团有限公司质押4509.04万股公司股份,占其全部持股的50.00%。

筹码集中度方面,截至2023年年末,公司股东总户数为3万户,较三季度末增长了1.03万户,增幅52.44%;户均持股市值由三季度末的15.84万元下降至11.62万元,降幅为26.64%。

指标注解:

市盈率

=总市值/净利润。当公司亏损时市盈率为负,此时用市盈率估值没有实际意义,往往用市净率或市销率做参考。

市净率

=总市值/净资产。市净率估值法多用于盈利波动较大而净资产相对稳定的公司。

市销率

=总市值/营业收入。市销率估值法通常用于亏损或微利的成长型公司。

文中市盈率和市销率采用TTM方式,即以截至最近一期财报(含预报)12个月的数据计算。市净率采用LF方式,即以最近一期财报数据计算。

市盈率为负时,不显示当期分位数,会导致折线图中断。

加载中...