新浪财经

步长制药:2023年盈利3.19亿元 拟10派1.26元

中证网

关注

中证智能财讯 步长制药(603858)4月26日披露2023年年报。2023年,公司实现营业总收入132.45亿元,同比下降11.41%;归母净利润3.19亿元,同比扭亏;扣非净利润2.92亿元,同比扭亏;经营活动产生的现金流量净额为-1.96亿元,上年同期为27.56亿元;报告期内,步长制药基本每股收益为0.2884元,加权平均净资产收益率为2.66%。公司2023年年度利润分配预案为:拟向全体股东每10股派1.26元(含税)。

以4月25日收盘价计算,步长制药目前市盈率(TTM)约为59.26倍,市净率(LF)约为1.63倍,市销率(TTM)约为1.43倍。

公司近年市盈率(TTM)、市净率(LF)、市销率(TTM)历史分位图如下所示:

数据统计显示,步长制药近三年营业总收入复合增长率为-6.12%,在中药Ⅲ行业已披露2023年数据的54家公司中排名第48。近三年净利润复合年增长率为-44.45%,排名50/54。

分产品来看,2023年公司主营业务中,心脑血管收入91.72亿元,同比下降9.26%,占营业收入的69.24%;医疗器械收入6.49亿元,同比下降45.71%,占营业收入的4.90%;妇科收入5.77亿元,同比下降16.10%,占营业收入的4.36%。

截至2023年末,公司员工总数为8311人,人均创收159.37万元,人均创利3.84万元,人均薪酬12.70万元,较上年同期分别变化-9.49%、121.30%、7.15%。

2023年,公司毛利率为68.15%,同比下降3.54个百分点;净利率为1.15%,较上年同期上升11.79个百分点。从单季度指标来看,2023年第四季度公司毛利率为66.60%,同比下降10.45个百分点,环比下降2.00个百分点;净利率为-20.83%,较上年同期上升56.37个百分点,较上一季度下降25.71个百分点。

分产品看,心脑血管、医疗器械、妇科2023年毛利率分别为71.68%、11.35%、66.66%。

报告期内,公司前五大客户合计销售金额69.03亿元,占总销售金额比例为52.11%,公司前五名供应商合计采购金额21.85亿元,占年度采购总额比例为35.96%。

数据显示,2023年公司加权平均净资产收益率为2.66%,较上年同期增长14.13个百分点;公司2023年投入资本回报率为1.25%,较上年同期增长8.12个百分点。

2023年,公司经营活动现金流净额为-1.96亿元,同比减少29.51亿元;筹资活动现金流净额-10.65亿元,同比减少7782.03万元;投资活动现金流净额-1.68亿元,上年同期为-10.1亿元。

进一步统计发现,2023年公司自由现金流为-6.36亿元,上年同期为-4.73亿元。

2023年,公司营业收入现金比为100.90%,净现比为-61.32%。

营运能力方面,2023年,公司公司总资产周转率为0.62次,上年同期为0.65次(2022年行业平均值为0.51次,公司位居同行业22/74);公司应收账款周转率、存货周转率分别为8.47次、0.97次。

2023年,公司期间费用为77.92亿元,较上年同期减少9.93亿元;但期间费用率为58.83%,较上年同期上升0.08个百分点。其中,销售费用同比下降14.9%,管理费用同比增长10.36%,研发费用同比增长17.94%,财务费用同比下降19.26%。

资产重大变化方面,截至2023年年末,公司货币资金较上年末减少67.70%,占公司总资产比重下降6.47个百分点;存货较上年末增加30.12%,占公司总资产比重上升6.34个百分点;商誉较上年末减少28.59%,占公司总资产比重下降2.35个百分点;交易性金融资产较上年末减少51.26%,占公司总资产比重下降1.62个百分点。

负债重大变化方面,截至2023年年末,公司一年内到期的非流动负债较上年末增加122.40%,占公司总资产比重上升2.20个百分点;短期借款较上年末减少62.41%,占公司总资产比重下降1.76个百分点;合同负债较上年末减少36.79%,占公司总资产比重下降0.58个百分点;应交税费较上年末减少34.88%,占公司总资产比重下降0.41个百分点。

从存货变动来看,截至2023年年末,公司存货账面价值为49.3亿元,占净资产的42.44%,较上年末增加11.41亿元。其中,存货跌价准备为5611.44万元,计提比例为1.13%。

2023年全年,公司研发投入金额为6.60亿元,同比增长28.92%;研发投入占营业收入比例为4.99%,相比上年同期上升1.56个百分点。此外,公司全年研发投入资本化率为49.25%。

在偿债能力方面,公司2023年年末资产负债率为45.55%,相比上年末上升1.47个百分点;有息资产负债率为15.03%,相比上年末上升0.79个百分点。

2023年,公司流动比率为1.21,速动比率为0.49。

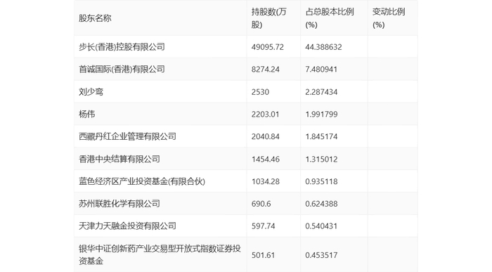
年报显示,2023年年末公司十大流通股东中,持股最多的为步长(香港)控股有限公司,占比44.39%。十大流通股东名单相比2023年三季报维持不变。在具体持股比例上,银华中证创新药产业交易型开放式指数证券投资基金持股有所上升,香港中央结算有限公司持股有所下降。

筹码集中度方面,截至2023年年末,公司股东总户数为7.37万户,较三季度末增长了479户,增幅0.65%;户均持股市值由三季度末的27.07万元下降至25.53万元,降幅为5.69%。

指标注解:

市盈率

=总市值/净利润。当公司亏损时市盈率为负,此时用市盈率估值没有实际意义,往往用市净率或市销率做参考。

市净率

=总市值/净资产。市净率估值法多用于盈利波动较大而净资产相对稳定的公司。

市销率

=总市值/营业收入。市销率估值法通常用于亏损或微利的成长型公司。

文中市盈率和市销率采用TTM方式,即以截至最近一期财报(含预报)12个月的数据计算。市净率采用LF方式,即以最近一期财报数据计算。

市盈率为负时,不显示当期分位数,会导致折线图中断。

加载中...