新浪财经

荣盛石化:2023年净利润同比下降65.33% 拟10派1元

中证网

关注

中证智能财讯 荣盛石化(002493)4月26日披露2023年年报。2023年,公司实现营业总收入3251.12亿元,同比增长12.46%;归母净利润11.58亿元,同比下降65.33%;扣非净利润8.20亿元,同比下降59.24%;经营活动产生的现金流量净额为280.79亿元,同比增长47.33%;报告期内,荣盛石化基本每股收益为0.12元,加权平均净资产收益率为2.48%。公司2023年年度利润分配预案为:拟向全体股东每10股派1元(含税)。

以4月25日收盘价计算,荣盛石化目前市盈率(TTM)约为95.56倍,市净率(LF)约为2.5倍,市销率(TTM)约为0.34倍。

公司近年市盈率(TTM)、市净率(LF)、市销率(TTM)历史分位图如下所示:

数据统计显示,荣盛石化近三年营业总收入复合增长率为44.72%,在炼油化工行业已披露2023年数据的9家公司中排名第3。近三年净利润复合年增长率为-45.89%,排名6/9。

分产品来看,2023年公司主营业务中,炼油产品收入1218.85亿元,同比增长17.38%,占营业收入的37.49%;化工产品收入1217.77亿元,同比增长6.92%,占营业收入的37.46%;PTA收入531.90亿元,同比增长5.33%,占营业收入的16.36%。

截至2023年末,公司员工总数为19191人,人均创收1694.08万元,人均创利6.03万元,人均薪酬19.96万元,较上年同期分别变化13.88%、-64.89%、2.15%。

2023年,公司毛利率为11.49%,同比上升0.68个百分点;净利率为0.49%,较上年同期下降1.71个百分点。从单季度指标来看,2023年第四季度公司毛利率为10.65%,同比上升11.51个百分点,环比下降5.23个百分点;净利率为1.78%,较上年同期上升7.48个百分点,较上一季度下降0.79个百分点。

分产品看,炼油产品、化工产品、PTA2023年毛利率分别为20.26%、10.16%、-0.64%。

报告期内,公司前五大客户合计销售金额688.55亿元,占总销售金额比例为21.18%,公司前五名供应商合计采购金额1452.01亿元,占年度采购总额比例为47.01%。

数据显示,2023年公司加权平均净资产收益率为2.48%,较上年同期下降4.39个百分点;公司2023年投入资本回报率为2.94%,较上年同期下降0.73个百分点。

2023年,公司经营活动现金流净额为280.79亿元,同比增长47.33%;筹资活动现金流净额12.03亿元,同比减少103.54亿元;投资活动现金流净额-322.87亿元,上年同期为-289.66亿元。

进一步统计发现,2023年公司自由现金流为-155.19亿元,上年同期为-68.01亿元。

2023年,公司营业收入现金比为136.37%,净现比为2424.50%。

营运能力方面,2023年,公司公司总资产周转率为0.88次,上年同期为0.83次(2022年行业平均值为1.13次,公司位居同行业7/10);固定资产周转率为1.47次,上年同期为1.67次(2022年行业平均值为4.04次,公司位居同行业10/10);公司应收账款周转率、存货周转率分别为54.80次、4.70次。

2023年,公司期间费用为158.27亿元,较上年同期增加44.39亿元;期间费用率为4.87%,较上年同期上升0.93个百分点。其中,销售费用同比下降8.54%,管理费用同比增长11.5%,研发费用同比增长50.11%,财务费用同比增长36.01%。

资产重大变化方面,截至2023年年末,公司在建工程较上年末增加60.02%,占公司总资产比重上升3.94个百分点;固定资产较上年末减少1.11%,占公司总资产比重下降2.67个百分点;货币资金较上年末减少28.34%,占公司总资产比重下降1.54个百分点;其他流动资产较上年末增加114.66%,占公司总资产比重上升0.73个百分点。

负债重大变化方面,截至2023年年末,公司应付账款较上年末减少27.99%,占公司总资产比重下降5.78个百分点;短期借款较上年末增加69.93%,占公司总资产比重上升4.68个百分点;其他应付款(含利息和股利)较上年末增加387.22%,占公司总资产比重上升3.55个百分点;一年内到期的非流动负债较上年末增加48.02%,占公司总资产比重上升2.44个百分点。

从存货变动来看,截至2023年年末,公司存货账面价值为617.34亿元,占净资产的139.24%,较上年末增加10.44亿元。其中,存货跌价准备为1.22亿元,计提比例为0.2%。

2023年全年,公司研发投入金额为65.55亿元,同比增长50.11%;研发投入占营业收入比例为2.02%,相比上年同期上升0.51个百分点。此外,公司全年研发投入资本化率为0。

在偿债能力方面,公司2023年年末资产负债率为74.75%,相比上年末上升1.55个百分点;有息资产负债率为53.42%,相比上年末上升3.82个百分点。

2023年,公司流动比率为0.60,速动比率为0.19。

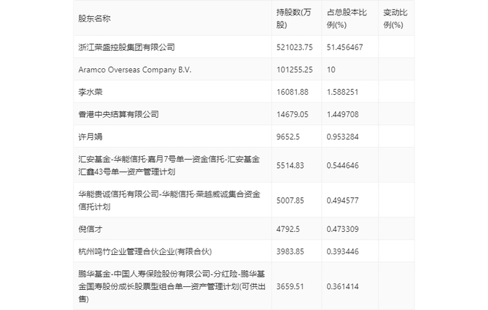
年报显示,2023年年末公司十大流通股东中,新进股东为杭州鸣竹企业管理合伙企业(有限合伙)、鹏华基金-中国人寿保险股份有限公司-分红险-鹏华基金国寿股份成长股票型组合单一资产管理计划(可供出售),取代了三季度末的广发科技先锋混合型证券投资基金、广发双擎升级混合型证券投资基金。在具体持股比例上,香港中央结算有限公司持股有所上升。

筹码集中度方面,截至2023年年末,公司股东总户数为10.51万户,较三季度末下降了417户,降幅0.40%;户均持股市值由三季度末的114.33万元下降至99.75万元,降幅为12.75%。

指标注解:

市盈率

=总市值/净利润。当公司亏损时市盈率为负,此时用市盈率估值没有实际意义,往往用市净率或市销率做参考。

市净率

=总市值/净资产。市净率估值法多用于盈利波动较大而净资产相对稳定的公司。

市销率

=总市值/营业收入。市销率估值法通常用于亏损或微利的成长型公司。

文中市盈率和市销率采用TTM方式,即以截至最近一期财报(含预报)12个月的数据计算。市净率采用LF方式,即以最近一期财报数据计算。

市盈率为负时,不显示当期分位数,会导致折线图中断。

加载中...