新浪财经

千红制药:2023年净利润同比下降43.77% 拟10派1.2元

中证网

关注

中证智能财讯 千红制药(002550)4月26日披露2023年年报。2023年,公司实现营业总收入18.14亿元,同比下降21.24%;归母净利润1.82亿元,同比下降43.77%;扣非净利润1.43亿元,同比下降44.43%;经营活动产生的现金流量净额为5.33亿元,上年同期为-7147.39万元;报告期内,千红制药基本每股收益为0.14元,加权平均净资产收益率为7.47%。公司2023年年度利润分配预案为:拟向全体股东每10股派1.2元(含税)。

以4月25日收盘价计算,千红制药目前市盈率(TTM)约为34.98倍,市净率(LF)约为2.59倍,市销率(TTM)约为3.51倍。

公司近年市盈率(TTM)、市净率(LF)、市销率(TTM)历史分位图如下所示:

数据统计显示,千红制药近三年营业总收入复合增长率为2.85%,在化学制剂行业已披露2023年数据的84家公司中排名第55。近三年净利润复合年增长率为50.04%,排名10/84。

资料显示,公司主营业务范围:药品[限片剂、硬胶囊剂、颗粒剂、原料药、冻干粉、冻干粉针剂(含抗肿瘤药)、小容量注射剂(含非最终灭菌、预灌封注射剂)]、诊断检测试剂的生产和销售(涉及前置审批的除外);农副产品(除专项规定)收购;自有设施租赁;自营和代理各类商品和技术的进出口业务。

分产品来看,2023年公司主营业务中,制剂系列收入11.15亿元,同比下降5.67%,占营业收入的61.43%;原料药系列收入6.92亿元,同比下降38.03%,占营业收入的38.14%。

截至2023年末,公司员工总数为1067人,人均创收170.03万元,人均创利17.04万元,人均薪酬19.90万元,较上年同期分别变化-18.66%、-41.92%、2.17%。

2023年,公司毛利率为43.26%,同比上升4.67个百分点;净利率为9.85%,较上年同期下降4.04个百分点。从单季度指标来看,2023年第四季度公司毛利率为44.65%,同比上升8.13个百分点,环比下降1.20个百分点;净利率为-2.58%,较上年同期下降12.16个百分点,较上一季度下降20.66个百分点。

分产品看,制剂系列、原料药系列2023年毛利率分别为61.52%、13.37%。

报告期内,公司前五大客户合计销售金额5.46亿元,占总销售金额比例为30.12%,公司前五名供应商合计采购金额4.80亿元,占年度采购总额比例为40.21%。

数据显示,2023年公司加权平均净资产收益率为7.47%,较上年同期下降6.89个百分点;公司2023年投入资本回报率为6.87%,较上年同期下降6.61个百分点。

2023年,公司经营活动现金流净额为5.33亿元,同比增加6.05亿元;筹资活动现金流净额-1.91亿元,同比减少2.02亿元;投资活动现金流净额-1.75亿元,上年同期为-1.9亿元。

进一步统计发现,2023年公司自由现金流为3.47亿元,上年同期为-0.38亿元。

2023年,公司营业收入现金比为130.26%,净现比为293.26%。

营运能力方面,2023年,公司公司总资产周转率为0.65次,上年同期为0.87次(2022年行业平均值为0.43次,公司位居同行业9/112);固定资产周转率为3.25次,上年同期为4.06次(2022年行业平均值为2.45次,公司位居同行业21/112);公司应收账款周转率、存货周转率分别为4.59次、1.81次。

2023年,公司期间费用为6.16亿元,较上年同期增加5677.51万元;期间费用率为33.97%,较上年同期上升9.68个百分点。其中,销售费用同比下降6.62%,管理费用同比增长6.55%,研发费用同比增长9.93%,财务费用由去年同期的-7419.52万元变为-639.21万元。

资产重大变化方面,截至2023年年末,公司应收账款较上年末减少60.18%,占公司总资产比重下降12.00个百分点;货币资金较上年末增加40.80%,占公司总资产比重上升6.24个百分点;存货较上年末增加12.21%,占公司总资产比重上升2.64个百分点;债权投资合计较上年末增加30.25%,占公司总资产比重上升1.73个百分点。

负债重大变化方面,截至2023年年末,公司短期借款较上年末减少44.43%,占公司总资产比重下降1.56个百分点;其他流动负债较上年末减少23.64%,占公司总资产比重下降0.48个百分点;长期递延收益较上年末减少8.40%,占公司总资产比重下降0.22个百分点;合同负债较上年末减少37.70%,占公司总资产比重下降0.21个百分点。

从存货变动来看,截至2023年年末,公司存货账面价值为6.02亿元,占净资产的24.52%,较上年末增加6552.71万元。其中,存货跌价准备为1242.0万元,计提比例为2.02%。

2023年全年,公司研发投入金额为1.37亿元,同比增长35.66%;研发投入占营业收入比例为7.57%,相比上年同期上升3.18个百分点。此外,公司全年研发投入资本化率为29.27%。

在偿债能力方面,公司2023年年末资产负债率为10.56%,相比上年末下降2.72个百分点;有息资产负债率为2.01%,相比上年末下降1.56个百分点。

2023年,公司流动比率为7.90,速动比率为4.98。

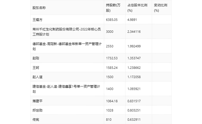
年报显示,2023年年末公司十大流通股东中,新进股东为佟宪,取代了三季度末的香港中央结算有限公司。在具体持股比例上,邱世勋持股有所上升。

筹码集中度方面,截至2023年年末,公司股东总户数为7.58万户,较三季度末下降了9393户,降幅11.03%;户均持股市值由三季度末的7.84万元上升至9.93万元,增幅为26.66%。

指标注解:

市盈率

=总市值/净利润。当公司亏损时市盈率为负,此时用市盈率估值没有实际意义,往往用市净率或市销率做参考。

市净率

=总市值/净资产。市净率估值法多用于盈利波动较大而净资产相对稳定的公司。

市销率

=总市值/营业收入。市销率估值法通常用于亏损或微利的成长型公司。

文中市盈率和市销率采用TTM方式,即以截至最近一期财报(含预报)12个月的数据计算。市净率采用LF方式,即以最近一期财报数据计算。

市盈率为负时,不显示当期分位数,会导致折线图中断。

加载中...