新浪财经

400年老字号沉浮录:盲目扩张、财务造假、股东减持,太安堂锁定退市

媒体滚动 2024.04.25 21:52
日k线图

日k线图

来源:华夏时报

记者颜源 于娜 北京报道

对标“同仁堂”的太安堂因已锁定退市。

4月25日,*ST太安继续一字板跌停,股价报收0.57元。自4月10日以来,其股价连续12个交易日低于面值1元。市值已从2015年的近170元缩水至截至4月25日的4.37亿元。资深投行人士王骥跃告诉《华夏时报》记者,“这个情况是确定退市了,触及面值退市条件。”

这家发轫于1567年,拥有400余年历史,累传14代的家族企业终于还是走向了没落。成功的故事各有各的精彩,但是失败的故事总有相似之处。这个历史比同仁堂还早100多年的企业到底做错了什么?中医药老字号企业如何在现代化的发展中应对挑战?

精彩开局

故事的开局很梦幻。

1567年,明朝嘉靖年间进士、御医柯玉井在潮州创办中医馆“太安堂”,自此柯氏家族代代从医,传承十几代,积淀深厚,并手握祖传秘方,故有“岐黄第一村,源起太安堂”之说。而太安堂的现代化故事则起于柯玉井的第13代传人柯树泉,1995年,柯树泉以祖传秘方结合从医经验研制出皮宝霜,开启了太安堂新的发展之路。

近500年传承不息的故事具有天然的品牌优势,而柯玉泉恰好善于讲故事,为提升太安堂的知名度,柯玉泉先后创建了中医药博物馆,出版《太安大典》系列丛书108卷,出品电视剧《太安堂玉井传奇》,知名演员胡军是其中的主要演员。此外,他还在在广东地区投放了大量广告。随着宣传的推进,“钱景”也随之而来,2010年太安堂成功上市。从上市后公司的股权结构来看,太安堂是一家典型的家族式企业。

公开资料显示,太安堂主要从事药品研发生产及销售;中药材种植加工及销售;医药电商等业务。拥有药品批准文号近400个,独家产品25个,含麒麟丸、祛痹舒肩丸、心宝丸、心灵丸、消炎癣湿药膏等品种。其中,麒麟丸作为治疗不孕不育的特效中成药,是国家中药保护品种。

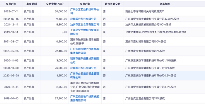
上市后,太安堂开始进行大规模的资本运作,开启“买买买”模式。比如,为拓展上下游产业链,其陆续收购了潮州市杉源投资有限公司及其控股的广东宏兴集团股份有限公司、广东康爱多连锁药店有限公司(以下称“康爱多”),后者更是豪掷3.5亿收购费,据悉,“康爱多”被称为当时的互联网第一药店。

上述投资还都限于医药相关事业,事实上,太安堂还涉足包括房地产在内的多个与主业不相关的领域。拿其一次重要的房地产投资项目来说,2015年12月,太安堂全资子公司广州金皮宝置业有限公司曾以不超过9亿元的价格竞拍得到广州市白云区一块商业用地。据了解,这块土地的开发成本,被太安堂巧妙地以“医药电商产业开发成本”的名义计入“存货”中。

北京鼎臣医药管理咨询中心创始人史立臣曾在其著作中表示,“现在医药企业进行跨界转型,可能考虑更多的是大健康领域,很少有药企向非相关业务领域转型,比如去做房地产、外贸等。”海南博鳌医疗科技有限公司总经理邓之东也向《华夏时报》记者表示,药企投资房地产的情况并不普遍,大多数药企专注于研发和生产药品。

2015年,太安堂风头正劲,达到了其上市以来的最高市值近170元。不过激进的资本运作已经为太安堂后来的溃败埋下了伏笔。

锁定退市

从2018年开始,太安堂业绩开始出现异常,虽然2019年营收曾短暂回升,但整体仍处于下行通道。2021年和2022年,太安堂营收分别为22.6亿元和7亿元,净利润分别为-8亿元和-8.2亿元。

事实上,自2018年起,太安堂便开始了长达4年的财务造假以粉饰报表。具体来看,2018年至2021年,太安堂子公司康爱多通过少结转成本、少记费用等方式虚增存货、利润。2018年至2021年各年度分别虚增存货6480万元、1.41亿元、1.15亿元、1.03亿元。

更为糟糕的是,太安堂还存在大股东连续五年占用上市公司资金的情况。累计高达9.77亿元。这一行为直接导致了公司资金链的断裂,把公司拖入了“深渊”。另一边,2019年左右柯树泉家族开始减持,套现超过7.1亿元。

基于以上事实,2023年9月15日,太安堂和公司董事长、总经理柯少彬分别收到中国证监会下发的立案告知书。2023年12月1日,太安堂及相关当事人收到中国证监会广东监管局出具的行政处罚事先告知书,2022年9月26日太安堂股票简称变更为“ST太安”,2023年5月5日,其股票被叠加实施其他风险警示,股票简称变更为“*ST太安”。

为了自救,太安堂又开始“卖卖卖”模式,但其中也存在不寻常之处。

2021年4月,太安堂宣布拟以7.48亿元向成都医有限公司出售所持康爱多47.35%的股权。而到了2022年1月,太安堂又宣布终止向成都医云出售康爱多股权的交易。此时,成都医云支付了数亿元首期股权转让款缓解了太安堂的燃眉之急,有分析认为,成都医云似乎在此次交易中吃了大亏。

2023年,太安堂开始出售其年销过亿元的核心产品之——心宝丸,不过心宝丸的评估价值为2788万元,最终却以3亿元的价格成交,溢价近十倍。不出所料,这一交易再次引起了监管机构的关注,并对交易的定价和商业合理性提出疑问。

故事走向了结尾,因积重难返,太安堂并没有自救成功。2023年4月,汕头市中级人民法院确实裁定终止了太安堂的预重整程序。根据公告内容,太安堂收到了汕头中院出具的《决定书》和《民事裁定书》。汕头中院决定终结太安堂药业的预重整程序,并且不予受理申请人广州众邦供应链管理有限公司和太安堂药业对太安堂药业提出的重整申请。这意味着公司失去了通过重整程序来化解债务危机和恢复持续经营能力的机会。

事实上,因为激进的资本运作和商业扩张而陷入困境的中药企业不仅太安堂。“参王”紫鑫药业因财务造假,触及面值退市,于2023年8月4日被深圳证券交易所摘牌,而在退市时,紫鑫药业仍持有价值70亿元的人参,这些人参的去向随着公司退市成为一个谜;市值百亿元的医药“白马股”辅仁药业也因为资金问题和违规行为走向退市,2023年6月28日正式摘牌。盲目扩张,企图以财务造假粉饰虚假的繁荣是他们由走向失败的共同原因。

见习编辑:邓舟羽 主编:陈岩鹏

加载中...