新浪财经

电科网安:2024年第一季度亏损1.94亿元

中证网

关注

中证智能财讯 电科网安(002268)4月26日披露2024年一季报。2024年第一季度,公司实现营业总收入1.28亿元,同比下降68.94%;归母净利润亏损1.94亿元,上年同期亏损3695.41万元;扣非净利润亏损1.99亿元,上年同期亏损4230.18万元;经营活动产生的现金流量净额为-5.16亿元,上年同期为-3.25亿元;报告期内,电科网安基本每股收益为-0.2288元,加权平均净资产收益率为-3.56%。

2024年第一季度,公司毛利率为52.27%,同比下降0.12个百分点;净利率为-151.28%,较上年同期下降142.35个百分点。

数据显示,2024年第一季度公司加权平均净资产收益率为-3.56%,较上年同期下降2.85个百分点;公司2024年第一季度投入资本回报率为-4.51%,较上年同期下降3.48个百分点。

2024年第一季度,公司经营活动现金流净额为-5.16亿元,同比减少1.91亿元;筹资活动现金流净额-564.66万元,同比增加924.02万元;投资活动现金流净额-2750.69万元,上年同期为-2623.48万元。

2024年第一季度,公司营业收入现金比为266.82%。

资产重大变化方面,截至2024年一季度末,公司货币资金较上年末减少21.45%,占公司总资产比重下降5.12个百分点;存货较上年末增加27.29%,占公司总资产比重上升1.64个百分点;递延所得税资产较上年末增加24.53%,占公司总资产比重上升0.99个百分点;开发支出较上年末增加17.66%,占公司总资产比重上升0.40个百分点。

负债重大变化方面,截至2024年一季度末,公司应付账款较上年末减少13.80%,占公司总资产比重下降1.20个百分点;应交税费较上年末减少86.88%,占公司总资产比重下降1.31个百分点;应付票据较上年末减少36.33%,占公司总资产比重下降0.92个百分点;合同负债较上年末减少3.51%,占公司总资产比重上升0.13个百分点。

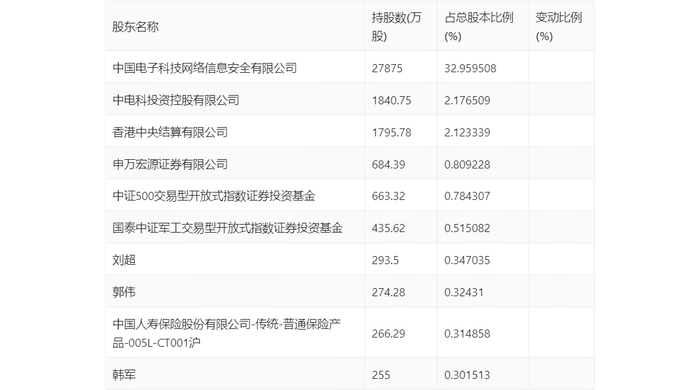
一季报显示,2024年一季度末公司十大流通股东中,新进股东为韩军,取代了上年末的百年人寿保险股份有限公司-自有资金。在具体持股比例上,申万宏源证券有限公司、中证500交易型开放式指数证券投资基金持股有所上升,香港中央结算有限公司、国泰中证军工交易型开放式指数证券投资基金、刘超、郭伟、中国人寿保险股份有限公司-传统-普通保险产品-005L-CT001沪持股有所下降。

筹码集中度方面,截至2024年一季度末,公司股东总户数为9.24万户,较上年末增长了1602户,增幅1.76%;户均持股市值由上年末的20.91万元下降至17.70万元,降幅为15.35%。

加载中...