龙洲股份:2024年第一季度盈利415.79万元 同比扭亏
中证网
中证智能财讯 龙洲股份(002682)4月26日披露2024年一季报。2024年第一季度,公司实现营业总收入6.03亿元,同比下降16.31%;归母净利润415.79万元,同比扭亏;扣非净利润亏损265.13万元,上年同期亏损3851.35万元;经营活动产生的现金流量净额为1129.27万元,同比下降26.77%;报告期内,龙洲股份基本每股收益为0.01元,加权平均净资产收益率为0.11%。
2024年第一季度,公司毛利率为3.70%,同比上升1.14个百分点;净利率为-0.08%,较上年同期上升6.57个百分点。
数据显示,2024年第一季度公司加权平均净资产收益率为0.11%,较上年同期增长1.81个百分点;公司2024年第一季度投入资本回报率为-0.07%,较上年同期增长0.06个百分点。
2024年第一季度,公司经营活动现金流净额为1129.27万元,同比下降26.77%;筹资活动现金流净额-4179.56万元,同比减少1.56亿元;投资活动现金流净额-2208.44万元,上年同期为-1960.18万元。
2024年第一季度,公司营业收入现金比为218.66%,净现比为271.59%。
资产重大变化方面,截至2024年一季度末,公司存货较上年末增加115.45%,占公司总资产比重上升4.69个百分点;应收账款较上年末减少26.37%,占公司总资产比重下降2.73个百分点;货币资金较上年末减少24.56%,占公司总资产比重下降1.99个百分点;预付款项较上年末减少24.30%,占公司总资产比重下降0.95个百分点。
负债重大变化方面,截至2024年一季度末,公司一年内到期的非流动负债较上年末减少20.36%,占公司总资产比重下降1.94个百分点;短期借款较上年末减少4.76%,占公司总资产比重下降0.79个百分点;长期借款较上年末增加6.03%,占公司总资产比重上升1.48个百分点;合同负债较上年末增加63.80%,占公司总资产比重上升0.87个百分点。
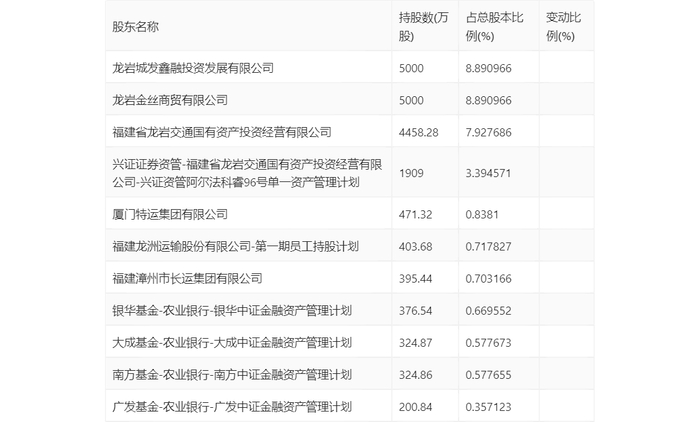
一季报显示,2024年一季度末公司十大流通股东中,新进股东为龙岩城发鑫融投资发展有限公司、龙岩金丝商贸有限公司、福建龙洲运输股份有限公司-第一期员工持股计划、大成基金-农业银行-大成中证金融资产管理计划、南方基金-农业银行-南方中证金融资产管理计划、广发基金-农业银行-广发中证金融资产管理计划,取代了上年末的长城国瑞-众城之龙洲股份1号员工持股计划定向资产管理计划、张值云、杨锋、刘盈盈、王秀云。在具体持股比例上,福建省龙岩交通国有资产投资经营有限公司持股有所下降。
筹码集中度方面,截至2024年一季度末,公司股东总户数为8.2万户,较上年末下降了1.36万户,降幅14.20%;户均持股市值由上年末的5.18万元下降至3.63万元,降幅为29.92%。