新浪财经

汇顶科技:2024年第一季度盈利1.62亿元 同比扭亏

中证网

关注

中证智能财讯 汇顶科技(603160)4月26日披露2024年一季报。2024年第一季度,公司实现营业总收入12.18亿元,同比增长44.38%;归母净利润1.62亿元,同比扭亏;扣非净利润1.48亿元,同比扭亏;经营活动产生的现金流量净额为2.21亿元,同比增长1118.33%;报告期内,汇顶科技基本每股收益为0.35元,加权平均净资产收益率为1.99%。

2024年第一季度,公司毛利率为40.38%,同比下降1.66个百分点;净利率为13.33%,较上年同期上升29.78个百分点。

数据显示,2024年第一季度公司加权平均净资产收益率为1.99%,较上年同期增长3.79个百分点;公司2024年第一季度投入资本回报率为1.65%,较上年同期增长3.91个百分点。

2024年第一季度,公司经营活动现金流净额为2.21亿元,同比增长1118.33%;筹资活动现金流净额1.35亿元,同比增加1.19亿元;投资活动现金流净额2.51亿元,上年同期为14.6万元。

2024年第一季度,公司营业收入现金比为120.21%,净现比为136.02%。

资产重大变化方面,截至2024年一季度末,公司货币资金较上年末增加16.43%,占公司总资产比重上升4.53个百分点;交易性金融资产较上年末减少20.19%,占公司总资产比重下降2.12个百分点;存货较上年末减少16.59%,占公司总资产比重下降1.33个百分点;开发支出较上年末减少4.39%,占公司总资产比重下降0.33个百分点。

负债重大变化方面,截至2024年一季度末,公司应付职工薪酬较上年末减少51.39%,占公司总资产比重下降1.56个百分点;短期借款较上年末增加42.21%,占公司总资产比重上升0.86个百分点;应付票据较上年末增加63.12%,占公司总资产比重上升0.45个百分点;应付账款较上年末减少9.46%,占公司总资产比重下降0.37个百分点。

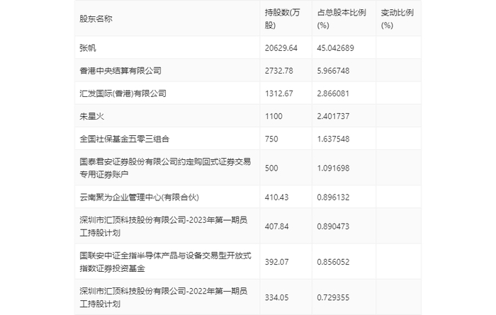
一季报显示,2024年一季度末公司十大流通股东中,持股最多的为张帆,占比45.04%。十大流通股东名单相比2023年年报维持不变。在具体持股比例上,香港中央结算有限公司持股有所上升,全国社保基金五零三组合、云南聚为企业管理中心(有限合伙)、国联安中证全指半导体产品与设备交易型开放式指数证券投资基金、深圳市汇顶科技股份有限公司-2022年第一期员工持股计划持股有所下降。

筹码集中度方面,截至2024年一季度末,公司股东总户数为6.38万户,较上年末下降了768户,降幅1.19%;户均持股市值由上年末的49.02万元下降至42.09万元,降幅为14.14%。

加载中...