新浪财经

富春环保:2024年第一季度净利润1902.81万元 同比增长14.71%

中证网

关注

中证智能财讯 富春环保(002479)4月26日披露2024年一季报。2024年第一季度,公司实现营业总收入9.95亿元,同比增长5.99%;归母净利润1902.81万元,同比增长14.71%;扣非净利润1046.44万元,同比下降17.15%;经营活动产生的现金流量净额为3331.13万元,同比增长63.82%;报告期内,富春环保基本每股收益为0.02元,加权平均净资产收益率为0.47%。

2024年第一季度,公司毛利率为14.53%,同比上升0.68个百分点;净利率为3.62%,较上年同期上升0.42个百分点。

数据显示,2024年第一季度公司加权平均净资产收益率为0.47%,较上年同期增长0.06个百分点;公司2024年第一季度投入资本回报率为0.70%,较上年同期增长0.10个百分点。

2024年第一季度,公司经营活动现金流净额为3331.13万元,同比增长63.82%;筹资活动现金流净额-1.51亿元,同比增加1.97亿元;投资活动现金流净额-6779.65万元,上年同期为-1.22亿元。

2024年第一季度,公司营业收入现金比为113.08%,净现比为175.06%。

资产重大变化方面,截至2024年一季度末,公司货币资金较上年末减少25.47%,占公司总资产比重下降2.82个百分点;存货较上年末增加23.86%,占公司总资产比重上升1.84个百分点;预付款项较上年末增加58.16%,占公司总资产比重上升0.89个百分点;应收款项融资较上年末增加62.12%,占公司总资产比重上升0.87个百分点。

负债重大变化方面,截至2024年一季度末,公司长期借款较上年末增加12.09%,占公司总资产比重上升1.41个百分点;短期借款较上年末减少6.77%,占公司总资产比重下降1.17个百分点;应付票据较上年末增加9.62%,占公司总资产比重上升0.50个百分点;合同负债较上年末增加13.79%,占公司总资产比重上升0.31个百分点。

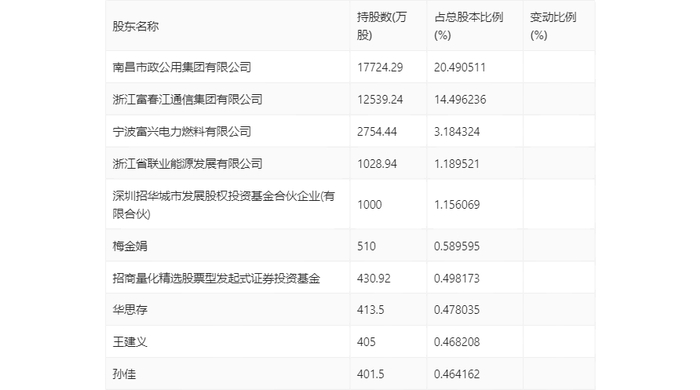
一季报显示,2024年一季度末公司十大流通股东中,新进股东为招商量化精选股票型发起式证券投资基金,取代了上年末的UBS AG。

筹码集中度方面,截至2024年一季度末,公司股东总户数为4.01万户,较上年末增长了212户,增幅0.53%;户均持股市值由上年末的10.35万元下降至9.34万元,降幅为9.76%。

加载中...